СИСТЕМА АВТОМАТИЧЕСКОЙ ТРАНСМИССИИ


  1. CONSTRUCTION


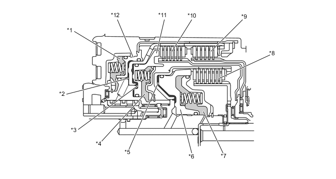
    1. The centrifugal fluid pressure canceling mechanism is used on the No. 1, No. 2 and No. 3 clutches (C1, C2, C3) that are applied when shifting 2nd-3rd, 3rd-4th, and 4th-5th.

    2. Clutch shifting operation is affected not only by the valve body controlling fluid pressure but also by centrifugal fluid pressure that is present due to fluid in the clutch piston oil pressure chamber. The centrifugal fluid pressure canceling mechanism uses chamber B to reduce the affect applied to chamber A. As a result, smooth shifting with excellent response has been achieved.

      B0020J1C01
      *1 Chamber B (for C3) *2 Chamber A (for C3)
      *3 Chamber A (for C2) *4 Chamber B (for C2)
      *5 Chamber A (for C1) *6 Piston (for C1)
      *7 Chamber B (for C1) *8 No. 1 Clutch (C1)
      *9 No. 3 Clutch (C3) *10 No. 2 Clutch (C2)
      *11 Piston (for C2) *12 Piston (for C3)
    3. Chamber B is filled by fluid supplied to the shaft for lubrication. As a result of filling chamber B, the same amount of fluid pressure is present on both sides of the piston due to centrifugal force. This cancels the effects of fluid pressure on the piston caused by centrifugal force. Accordingly, it is not necessary to discharge the fluid through the use of a check ball, and highly responsive and smooth shifting characteristics are achieved.

      B0020LDE17