НАРУЖНАЯ ПАНЕЛЬ ЗАДНЕЙ КОЛЕСНОЙ НИШИ ЗАМЕНА УЗЛОВ
-
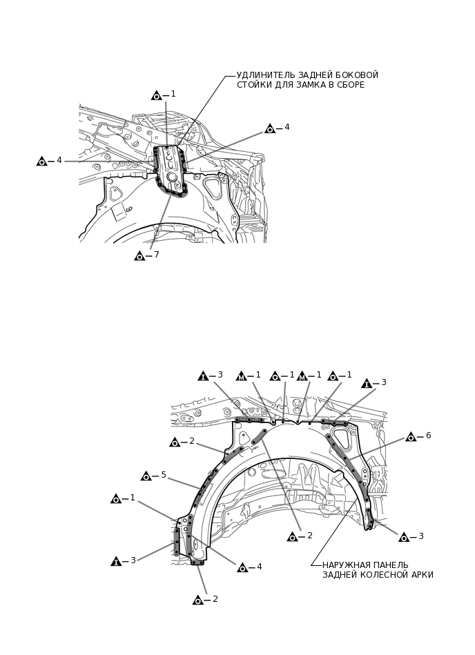
Со снятой задней боковой панелью.
СНЯТИЕ
Значения символов

Точки сварки при снятии

Точки сварки при снятии

Точки сварки при снятии

Место разрезания и соединения
УСТАНОВКА
Значения символов

Точечная сварка

Сварка электрозаклепкой

Сварка электрозаклепкой

Сварка электрозаклепкой

Стыковой сварной шов

Сборочная метка
ТОЧКА СНЯТИЯ
*1 и *2 используются повторно.
После снятия деталей *1, *2 и удлинителя задней боковой стойки для замка в сборе снимите наружную панель задней колесной арки.
ТОЧКА УСТАНОВКИ
При сварке детали *1 проделайте отверстие в новой детали для сварки электрозаклепкой и полностью приварите панель к панели сзади.
При установке новых деталей совместите стандартные установочные отверстия на наружной и внутренней панелях.
После приваривания наружной панели задней колесной арки к кузову установите удлинитель задней боковой стойки для замка в сборе и детали *1 и *2.
После сварки нанесите герметик для кузова и грунтовочное покрытие на соответствующие детали (См. раздел "Лакокрасочное покрытие".)
После нанесения верхнего слоя покрытия нанесите антикоррозийное средство на сварные точки несущих рабочую нагрузку швов замкнутого профиля с внутренней стороны панели.