FRONT POWER SEAT CONTROL SYSTEM(w/ Memory), Diagnostic DTC:B2658

DTC Code DTC Name
B2658 Short in Sensor with Motor Power Supply Circuit

DESCRIPTION

This DTC is stored when a power seat motor operates (a position control sensor is being supplied with power) and the power supply voltage does not rise to the specified value.

DTC No.

Detection Item

DTC Detection Condition

Trouble Area

B2658

Short in Sensor with Motor Power Supply Circuit

Problem with the voltage supplied to the position control sensor.

  • Position control ECU and switch assembly

  • Separate type front seat cushion spring assembly

  • Separate type front seatback spring assembly

  • Harness or connector

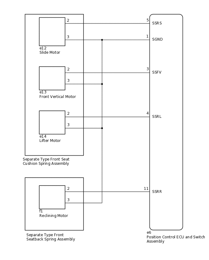
WIRING DIAGRAM

B270910E28

PROCEDURE

  1. CHECK FOR DTC

    1. Clear the DTCs.

      Click here

      Body Electrical > Driver Seat > Clear DTCs

    2. Check for DTCs.

      Click here

      Body Electrical > Driver Seat > Trouble Codes

    Result

    Result

    Result

    Proceed to

    DTC B2658 is not output

    A

    DTC B2658 is output

    B

    A

    USE SIMULATION METHOD TO CHECK

    B
  2. CHECK HARNESS AND CONNECTOR (POSITION CONTROL ECU AND SWITCH ASSEMBLY - SLIDE MOTOR)

    1. Disconnect the e6 position control ECU and switch assembly connector.

    2. Disconnect the e12 slide motor connector.

    3. Measure the resistance according to the value(s) in the table below.

      Standard Resistance

      Tester Connection

      Condition

      Specified Condition

      e6-5 (SSRS) - e12-2

      Always

      Below 1 Ω

      e6-1 (SGND) - e12-3

      Always

      Below 1 Ω

      e6-5 (SSRS) - e6-1 (SGND)

      Always

      10 kΩ or higher

      e6-5 (SSRS) - Body ground

      Always

      10 kΩ or higher

      e6-1 (SGND) - Body ground

      Always

      10 kΩ or higher

    Result

    Proceed to

    OK

    NG

    NG

    REPAIR OR REPLACE HARNESS OR CONNECTOR

    OK
  3. CHECK POSITION CONTROL ECU AND SWITCH ASSEMBLY (SLIDE MOTOR CIRCUIT)

    1. Measure the voltage according to the value(s) in the table below.

      Standard Voltage

      Tester Connection

      Switch Condition

      Specified Condition

      e12-2 - e12-3

      Sliding switch on

      4.8 to 5.1 V

    Result

    Proceed to

    OK

    NG

    NG

    REPLACE POSITION CONTROL ECU AND SWITCH ASSEMBLY

    OK
  4. CHECK HARNESS AND CONNECTOR (POSITION CONTROL ECU AND SWITCH ASSEMBLY - FRONT VERTICAL MOTOR)

    1. Disconnect the e13 front vertical motor connector.

    2. Measure the resistance according to the value(s) in the table below.

      Standard Resistance

      Tester Connection

      Condition

      Specified Condition

      e6-3 (SSFV) - e13-2

      Always

      Below 1 Ω

      e6-1 (SGND) - e13-3

      Always

      Below 1 Ω

      e6-3 (SSFV) - e6-1 (SGND)

      Always

      10 kΩ or higher

      e6-3 (SSFV) - Body ground

      Always

      10 kΩ or higher

      e6-1 (SGND) - Body ground

      Always

      10 kΩ or higher

    Result

    Proceed to

    OK

    NG

    NG

    REPAIR OR REPLACE HARNESS OR CONNECTOR

    OK
  5. CHECK POSITION CONTROL ECU AND SWITCH ASSEMBLY (FRONT VERTICAL MOTOR CIRCUIT)

    1. Measure the voltage according to the value(s) in the table below.

      Standard Voltage

      Tester Connection

      Switch Condition

      Specified Condition

      e13-2 - e13-3

      Front vertical switch on

      4.8 to 5.1 V

    Result

    Proceed to

    OK

    NG

    NG

    REPLACE POSITION CONTROL ECU AND SWITCH ASSEMBLY

    OK
  6. CHECK HARNESS AND CONNECTOR (POSITION CONTROL ECU AND SWITCH ASSEMBLY - LIFTER MOTOR)

    1. Disconnect the e14 lifter motor connector.

    2. Measure the resistance according to the value(s) in the table below.

      Standard Resistance

      Tester Connection

      Condition

      Specified Condition

      e6-4 (SSRL) - e14-2

      Always

      Below 1 Ω

      e6-1 (SGND) - e14-3

      Always

      Below 1 Ω

      e6-4 (SSRL) - e6-1 (SGND)

      Always

      10 kΩ or higher

      e6-4 (SSRL) - Body ground

      Always

      10 kΩ or higher

      e6-1 (SGND) - Body ground

      Always

      10 kΩ or higher

    Result

    Proceed to

    OK

    NG

    NG

    REPAIR OR REPLACE HARNESS OR CONNECTOR

    OK
  7. CHECK POSITION CONTROL ECU AND SWITCH ASSEMBLY (LIFTER MOTOR CIRCUIT)

    1. Measure the voltage according to the value(s) in the table below.

      Standard Voltage

      Tester Connection

      Switch Condition

      Specified Condition

      e14-2 - e14-3

      Lifter switch on

      4.8 to 5.1 V

    Result

    Proceed to

    OK

    NG

    NG

    REPLACE POSITION CONTROL ECU AND SWITCH ASSEMBLY

    OK
  8. CHECK SEPARATE TYPE FRONT SEAT CUSHION SPRING ASSEMBLY

    1. Temporarily replace the separate type front seat cushion spring assembly with a new or normally functioning one.

      Click here

    2. Clear the DTCs.

      Click here

      Body Electrical > Driver Seat > Clear DTCs

    3. Check for DTCs.

      Click here

      Body Electrical > Driver Seat > Trouble Codes

    Result

    Result

    Result

    Proceed to

    DTC B2658 is not output

    A

    DTC B2658 is output

    B

    A

    END (SEPARATE TYPE FRONT SEAT CUSHION SPRING ASSEMBLY WAS DEFECTIVE)

    B
  9. CHECK HARNESS AND CONNECTOR (POSITION CONTROL ECU AND SWITCH ASSEMBLY - RECLINING MOTOR)

    1. Disconnect the e6 position control ECU and switch assembly connector.

    2. Disconnect the f1 reclining motor connector.

    3. Measure the resistance according to the value(s) in the table below.

      Standard Resistance

      Tester Connection

      Condition

      Specified Condition

      e6-11 (SSRR) - f1-2

      Always

      Below 1 Ω

      e6-1 (SGND) - f1-3

      Always

      Below 1 Ω

      e6-11 (SSRR) - e6-1 (SGND)

      Always

      10 kΩ or higher

      e6-11 (SSRR) - Body ground

      Always

      10 kΩ or higher

      e6-1 (SGND) - Body ground

      Always

      10 kΩ or higher

    Result

    Proceed to

    OK

    NG

    NG

    REPAIR OR REPLACE HARNESS OR CONNECTOR

    OK
  10. CHECK POSITION CONTROL ECU AND SWITCH ASSEMBLY (RECLINING MOTOR CIRCUIT)

    1. Measure the voltage according to the value(s) in the table below.

      Standard Voltage

      Tester Connection

      Switch Condition

      Specified Condition

      f1-2 - f1-3

      Reclining switch on

      4.8 to 5.1 V

    Result

    Proceed to

    OK

    NG

    NG

    REPLACE POSITION CONTROL ECU AND SWITCH ASSEMBLY

    OK
  11. CHECK SEPARATE TYPE FRONT SEATBACK SPRING ASSEMBLY

    1. Temporarily replace the separate type front seatback spring assembly with a new or normally functioning one.

      Click here

    2. Clear the DTCs.

      Click here

      Body Electrical > Driver Seat > Clear DTCs

    3. Check for DTCs.

      Click here

      Body Electrical > Driver Seat > Trouble Codes

    Result

    Result

    Result

    Proceed to

    DTC B2658 is not output

    A

    DTC B2658 is output

    B

    A

    END (SEPARATE TYPE FRONT SEATBACK SPRING ASSEMBLY WAS DEFECTIVE)

    B

    REPLACE POSITION CONTROL ECU AND SWITCH ASSEMBLY