INSPECTION PROCEDURE
PROCEDURE
CHECK IF RADIO AUTO-SEARCH FUNCTIONS PROPERLY
Perform the auto-search of the radio and check that it functions normally.
| OK |
|---|
| Radio auto-search functions normally. |
| NG |
|
CHECK OPTIONAL COMPONENTS Click here |
| OK |
|
REPLACE RADIO RECEIVER ASSEMBLY Click here
CHECK OPTIONAL COMPONENTS
Check if the telephone antenna or other optional components are installed.
| OK |
|---|
| Optional component(s) installed. |
Note
Do not remove any optional components installed by the customer without his or her consent.
| NG |
|
CHECK ANTENNA FOR NOISE PRODUCTION Click here |
| OK |
|
EFFECT FROM OPTIONAL COMPONENTS
CHECK ANTENNA FOR NOISE PRODUCTION
With the ignition switch ACC, turn on the radio and choose the AM mode.
Place the tip of a screwdriver on the antenna and check that noise is heard from the speakers.
| OK |
|---|
| Noise is heard. |
| NG |
|
CHECK RADIO RECEIVER ASSEMBLY (ANTENNA) Click here |
| OK |
|
REPLACE RADIO RECEIVER ASSEMBLY Click here
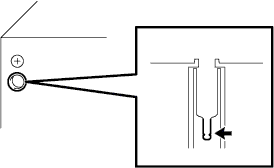
CHECK RADIO RECEIVER ASSEMBLY (ANTENNA)
for Connector Type:
Disconnect the antenna connector from the radio receiver assembly.
With the radio receiver assembly connector connected, turn the ignition switch to ACC.
Turn on the radio and choose the AM mode.
Place a flat-head screwdriver or a piece of metal, such as a thin wire, on the antenna jack of the radio receiver assembly. Check that noise is heard from the speakers.
| OK |
|---|
| Noise is heard. |
for Plug Type:
Remove the antenna plug of the radio receiver assembly.
With the radio receiver assembly connector connected, turn the ignition switch to ACC.
Turn on the radio and choose the AM mode.
Place a flat-head screwdriver or a piece of metal, such as a thin wire, on the antenna jack of the radio receiver assembly. Check the noise is heard from the speakers.
| NG |
|
REPLACE RADIO RECEIVER ASSEMBLY Click here |
| OK |
|
ANTENNA ASSEMBLY IS DEFECTIVE