BODY STRUCTURE


  1. OUTLINE


    1. Lightweight and Highly Rigid Body


      1. High-strength steel and ultra high-strength steel are used in order to achieve excellent body rigidity and a lightweight body.

    2. Safety Features


      1. The impact absorbing structure minimizes cabin deformation by effectively helping to absorb the impact energy in the event of a front, side or rear collision. This provides high performance occupant protection.

    3. Rust-resistant Body


      1. Rust-resistant performance is enhanced by the extensive use of anti-corrosion sheet steel, as well as by an anticorrosion treatment that includes the application of anti-rust wax, sealer and anti-chipping paint to the easily corroded parts such as the hood and fender.

    4. Low Vibration and Low Noise Body


      1. Effective application of vibration damping and noise suppressant materials reduces engine, wind and road noise.

    5. Aerodynamics


      1. Various types of airflow routing parts that control airflow are provided under the floor, and an undercover is provided to make the under-floor area flat in order to ensure excellent aerodynamic performance.

  2. MAIN FEATURES


    1. Exterior Design


      1. Front View


        1. As the most compact Lexus SUV, this vehicle expresses an aggressive and edgy form that looks poised to race through the city. A design which expresses a condensed inner strength and extreme agility has been created, appropriate for a finely-honed piece of sports gear.

        2. The areas to the front and rear of the cabin containing the passengers have been narrowed by chipping away excess mass to create a diamond-shaped body, starting from the spindle grille. Also, the front and rear protruding wheel flares have been fused with the vehicle body to emphasize the tires. The resulting shape expresses its strength as an SUV (A in the illustration).

        3. A continuous rich Lexus surface is expressed through the combination of the diamond-shaped body and wheel flares into an edgy, naked, strong mass (B in the illustration).

        4. The contrast between the thickly framed spindle grille and the sleek and sharp headlight assemblies has formed a new resolute look.

        5. The bumper corners have been constructed so that the upper and lower parts pass over each other. The downward movement of the upper part from the fender emphasizes the low center of gravity while the upward movement of the lower part emphasizes a feeling of wideness. The synergy of the two movements expresses a stable stance (C in illustration).

          A01GGDWC01
          *1 Headlight Assembly - -
          *a Spindle Grille *b Wheel Flare
        6. A dedicated radiator grille, front bumper extension, front bumper guard, front fender name plate, outer rear view mirror assembly and wheel assembly are provided for F SPORT. A dynamic feeling is expressed through the use of a mesh base for the radiator grille. Also, the bumper molding ornamentation has been treated with an aluminum-like coating to express the image of a sporty SUV with a sense of specialness and a low center of gravity.

          A01GH22C01
          *1 Radiator Grille *2 Front Bumper Extension
          *3 Front Bumper Guard *4 Wheel Assembly
          *5 Front Fender Name Plate *6 Outer Rear View Mirror Assembly
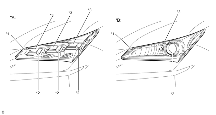
        7. The LED Headlights (Single Bulb Type) uses an LED light source and perfectly circular lens to enhance marketability and reduce power consumption.

        8. A headlight assembly with triple L-shaped low beam headlights has been provided as an option to achieve a symbolic new Lexus light with lighting.

          A01GGC5C01
          *A Triple Bulb Full LED Headlights *B LED Headlights (Single Bulb Type)
          *1 Headlight Assembly *2 Low Beam Headlight
          *3 High Beam Headlight - -
        9. The clearance light uses the Lexus brand signature L-shaped light and the LED light as the headlight assembly.

        10. A thick inner lens is used to give the feeling that the lens is made of crystal when not illuminated.

        11. An LED front turn signal light is used to achieve a crisp flash due to illuminating faster than lights which use bulbs.

          A01GGL6C01
          *A Front Turn Signal Light (LED) Type *B Front Turn Signal Light (Bulb) Type
          *1 Clearance Light - -
      2. Rear View


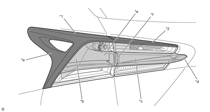
        1. The body flows from the shoulders of the sides around the rear of the combination light assemblies and down toward the outside of the vehicle to create a spindle shape, which is the theme of the rear view (A in illustration).

        2. The movement of the sharp turns of the surface toward the corners of the bumper emphasizes the wheel flares and expresses a strong stance (B in illustration).

          A01GGGLN01
        3. The rear combination light assembly (*1 in illustration) and rear light assembly (*2 in illustration) have expressed the Lexus brand signature L-shape through the use of a thick molding technique which gives a feeling during the daytime that the lens is made of crystal (*b and *c in illustration).

        4. The detailed inner lens strengthens the Lexus brand signature by evenly lighting the L-shape from corner to corner without a brake, producing a rear combination light assembly with a strong presence (*b in illustration).

        5. The combination of a red solid-looking crystal glass lens (*b in illustration) and piano black garnish (*a in illustration) has expressed a sporty look.

          A01GGYXC01
          *1 Rear Combination Light Assembly *2 Rear Light Assembly
          *a Large High-quality Piano Black Molding *b Detailed Inner Lens Evenly Lights Taillight
          *c Appearance of Crystal via Thick Molding *d Taillight Sucked in toward Center of Vehicle
          *e Large Red Solid L-shaped Outer Lens Spans Movable and Fixed Sides *f Taillight Seamlessly Connects Movable and Fixed Sides
        6. On models with 8AR-FTS engine large unique dual muffler cutters (exhaust tail pipe baffle sub-assembly) are used, which highlight the LEXUS's first turbo engine with small displacement. The design of the muffler cutters can be viewed from the sides as well as the rear to produce a sporty look through the longitudinally long proportion.

          A01GGPGC01
          *1 Exhaust Tail Pipe Baffle Sub-assembly - -
      3. Side View


        1. The side silhouette shows the peak of the door cross-section of the diamond-shaped body pierce upward at an angle (A in illustration) to match the peak of the roof (B in illustration).

        2. The lower part of the door panel is kicked up to pierce the peak of the rear combination light assembly, expressing a three-dimensional dynamic and creative proportion (C in illustration)

        3. Metallic black (resin with metal flakes) parts are used on the lower part of the body (*1, *3, *4 and *7 in illustration) and around the wheelhouse (*2, *5 and *6 in illustration) to make the relative size of the tires appear larger while making the side silhouette of the vehicle appear thinner and sleeker. This use of metallic black parts achieves a functionality and quality suitable for a premium SUV.

        4. The window frames use SUS (stainless) molding (*8 to *12 in illustration) to express a high-quality appearance.

        5. On models with 3ZR-FAE engine, the sub muffler has been placed further inward and more toward the front of the vehicle compared to the other model in order to hide the exhaust pipes as much as possible in consideration of the appearance of the vehicle from the sides and rear.

          A01GGUFC01
          *1 Front Bumper Cover *2 Front Fender Molding Sub-assembly
          *3 Side Mudguard Sub-assembly *4 Front Door Molding Sub-assembly Outside Lower
          *5 Rear Door Outside Lower Molding Sub-assembly *6 Rear Door Molding Sub-assembly Outside
          *7 Quarter Outside Molding Sub-assembly *8 Rear Bumper Cover Lower
          *9 Front Door Molding Sub-assembly Outside *10 Front Door Belt Molding Assembly
          *11 Rear Door Window Frame Molding Upper *12 Rear Door Belt Molding Assembly
          *13 Quarter Window Assembly - -
        6. The design of the outer rear view mirror assembly includes sleek chrome plating to express strength and high-quality through the sculpted material while achieving functionality such as aerodynamic performance, improved visibility and a reduction in wind noise.

          A01GGZWC01
          *1 Outer Rear View Mirror Assembly - -
          *a Plating - -
        7. Illumination is provided in the front door handle assembly outside. The illumination responds to the user's presence by casually turning on and illuminating the footwell lights for safety. Also, we can see a line of light which emphasizes the upper silhouette of the dynamic handle design and changing the speed at which the illumination turns off (reminiscent of the "closing of Japanese sliding doors*"), the illumination expresses a distinctively Japanese sense of hospitality.

          Tech Tips

          *: In a Japanese house, rooms are divided by sliding doors which are opened by sliding the doors to the left or right. When the doors are slid shut, the impression is that the light from the other side softly and slowly disappears.

          A01GGFKC01
          *1 Front Door Handle Assembly Outside - -
          *a Footwell Light Illumination *b Line of Light Emphasizes Upper Silhouette
        8. The structure of the front door handle assembly outside (*1 in illustration) has the key hole of the front door lock cylinder assembly (*2 in illustration) facing downward, which results in the mechanical key (*3 in illustration) being inserted and operated in the gap between the handle and door panel. Therefore, the key hole is not normally visible and does not interfere with the dynamic structure of the front door handle assembly outside (*1 in illustration).

          A01GGSJC01
          *1 Front Door Handle Assembly Outside *2 Front Door Lock Cylinder Assembly
          *3 Mechanical Key - -
          *a Handle (Initial Position) *b Handle (Full Stroke Position)