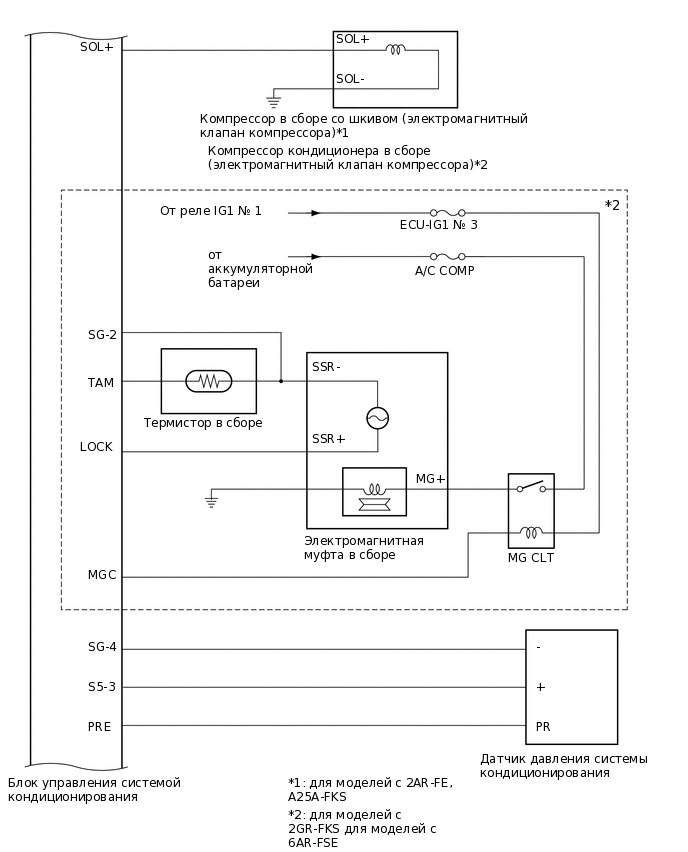
СИСТЕМА КОНДИЦИОНИРОВАНИЯ (для моделей с автоматическим кондиционером) СХЕМА СИСТЕМЫ

E377153E03
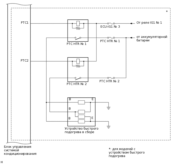
E377154E02
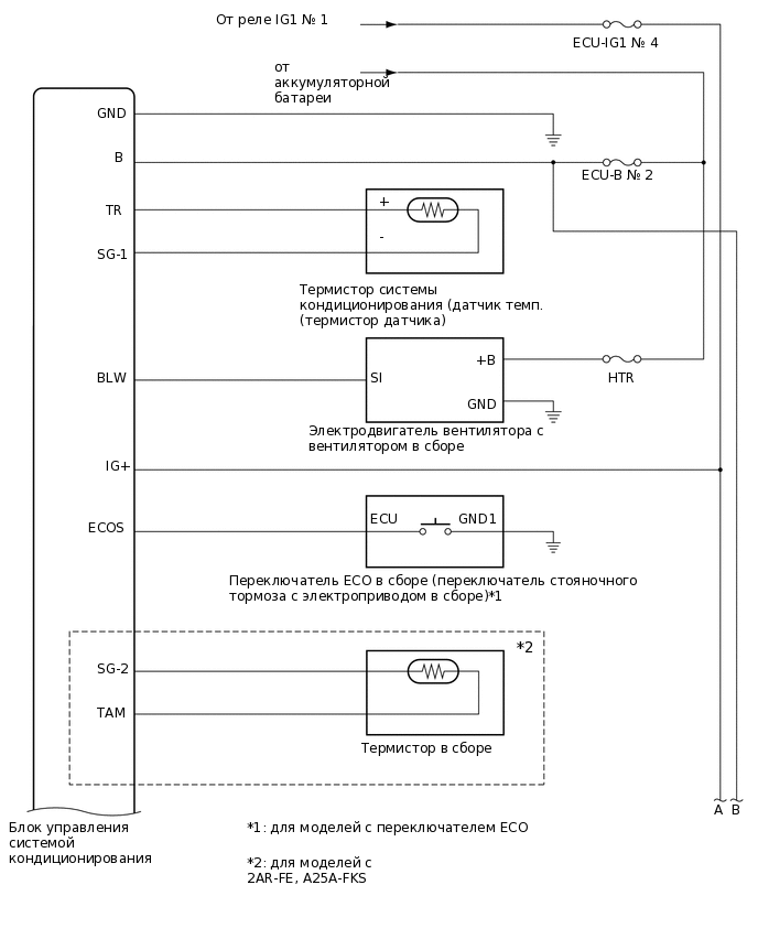
E377155E01
E378736E04
E381451E01
E378737E01