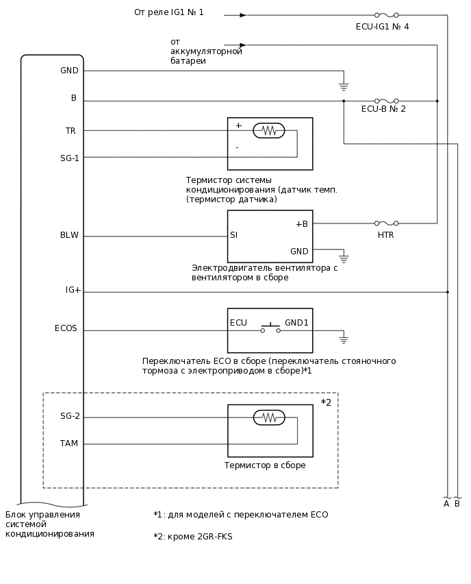
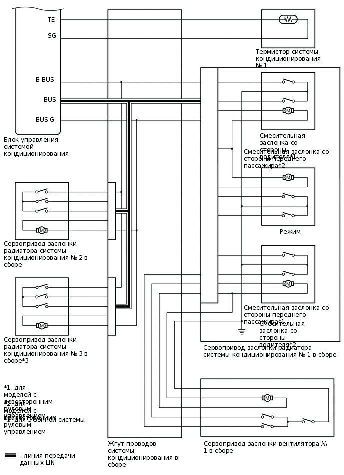
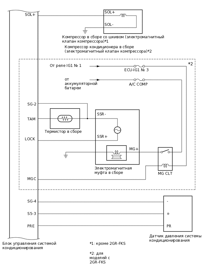
СИСТЕМА КОНДИЦИОНИРОВАНИЯ (для моделей с автоматическим кондиционером) СХЕМА СИСТЕМЫ

E377153E01
E377154E02
E377155E01
E378736E03
E378737E01