CYLINDER HEAD REASSEMBLY

CAUTION / NOTICE / HINT

Tip:

Perform "Inspection After Repairs" after replacing the cylinder head sub-assembly.

PROCEDURE

  1. INSTALL CYLINDER HEAD STUD BOLT

    Note:

    If a stud bolt is deformed or its threads are damaged, replace it.

    1. A194964C03

      *a

      18 mm (0.709 in.)

      *b

      33 mm (1.299 in.)

      *c

      13 mm (0.512 in.)

      Using an E7 "TORX" socket wrench, install the cylinder head stud bolts.

      6.5 N*m

      66 kgf*cm

      58 in.*lbf

  2. INSTALL NO. 1 STRAIGHT SCREW PLUG

    Note:

    If coolant leaks from a straight screw plug or a plug is corroded, replace it.

    1. Using a 10 mm hexagon wrench, install 3 new gaskets and the 3 No. 1 straight screw plugs.

      44 N*m

      449 kgf*cm

      32 ft.*lbf

  3. INSTALL NO. 2 STRAIGHT SCREW PLUG

    Note:

    If coolant leaks from a straight screw plug or a plug is corroded, replace it.

    1. Using a 14 mm hexagon wrench, install a new gasket and the No. 2 straight screw plug.

      78 N*m

      795 kgf*cm

      58 ft.*lbf

  4. INSTALL VALVE SPRING SEAT

    1. Install the valve spring seats to the cylinder head sub-assembly.

  5. INSTALL VALVE STEM OIL SEAL

    1. A124785C20

      *a

      Intake Side

      *b

      Exhaust Side

      *c

      Gray

      *d

      Black

      *e

      "NOK" Mark

      Apply a light coat of engine oil to new valve stem oil seals.

      Note:

      Pay attention when installing the intake and exhaust valve stem oil seals. For example, installing the intake valve stem oil seal onto the exhaust side or installing the exhaust valve stem oil seal onto the intake side can cause installation problems later.

      Tip:

      The intake valve stem oil seals are gray and the exhaust valve stem oil seals are black.

    2. A194977C05

      *a

      CORRECT

      *b

      INCORRECT

      Using SST, push in the intake and exhaust valve stem oil seals.

      09201-41020

      Note:

      Failure to use SST will cause the valve stem oil seal to be damaged or improperly seated.

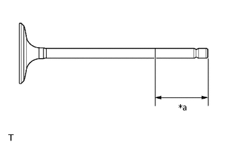
  6. INSTALL INTAKE VALVE

    1. A285332C08

      *a

      30 mm (1.18 in.) or more

      Apply plenty of engine oil to the tip area of the intake valve shown in the illustration.

    2. A337757C01

      *a

      Narrow

      *b

      Wide

      Install the intake valve, inner compression spring and valve spring retainer to the cylinder head sub-assembly.

      Note:

      Install the same parts in the same combination to their original locations.

    3. A337754N01

      Using SST and wooden blocks, compress the inner compression spring and install the valve spring retainer locks.

      09202-70020

      09202-00021

    4. Using a plastic-faced hammer, lightly tap the valve stem tip to ensure a proper fit.

      Note:

      Be careful not to damage the valve spring retainer.

  7. INSTALL EXHAUST VALVE

    1. A285332C08

      *a

      30 mm (1.18 in.) or more

      Apply plenty of engine oil to the tip area of the exhaust valve shown in the illustration.

    2. A337758C01

      *a

      Narrow

      *b

      Wide

      Install the exhaust valve, inner compression spring and valve spring retainer to the cylinder head sub-assembly.

      Note:

      Install the same parts in the same combination to their original locations.

    3. A337755N01

      Using SST and wooden blocks, compress the inner compression spring and install the valve spring retainer locks.

      09202-70020

      09202-00021

    4. Using a plastic-faced hammer, lightly tap the valve stem tip to ensure a proper fit.

      Note:

      Be careful not to damage the valve spring retainer.