STOP AND START SYSTEM, Diagnostic DTC:P0607

DTC Code DTC Name
P0607 Control Module Performance

DESCRIPTION

The engine stop and start ECU detects abnormalities in the DI (+B) value that is input from the backup boost converter IC to the CPU.

If a logical inconsistency occurs between the +B value and DI (+B) value input to the CPU, the engine stop and start ECU stores DTC P0607 and blinks the stop and start cancel indicator light.

DTC No.

Detection Item

DTC Detection Condition

Trouble Area

Warning Indicate

Memory

P0607

Control Module Performance

Both of the following conditions are met for 1 second or more (1 trip detection logic):

  • +B terminal voltage is 9.16 V or more.

  • Low battery voltage is detected.

  • Wire harness or connector

  • Engine stop and start ECU

Blinks

DTC stored

CONFIRMATION DRIVING PATTERN

  1. CONFIRMATION AFTER TROUBLESHOOTING

    Tip:
    • When the cable is disconnected from the negative (-) battery terminal, stop and start control is prohibited until refresh charge is completed. After connecting the cable, drive the vehicle until stop and start control is permitted (approximately 15 to 40 minutes).

    • Allow the engine to idle for 3 minutes after it is warmed up and check that the engine idle speed is within 50 rpm of the target idle speed.

    1. Connect the GTS to the DLC3.

    2. Turn the ignition switch to ON and turn the GTS on.

    3. Clear the DTCs.

      Click here

      Powertrain > Stop and Start > Clear DTCs

    4. Start the engine and warm it up.

    5. Drive the vehicle at 7 km/h (4.3 mph) or more.

      CAUTION:

      When performing Confirmation Driving Pattern, obey all speed limits and traffic laws.

    6. Stop the vehicle, move the shift lever to neutral and release the clutch pedal.

    7. Keep the engine stopped by stop and start control for 1 second or more.

    8. Depress the clutch pedal to start the engine.

      Tip:

      If the engine cranks slowly when the engine is restarted, it can be determined that the battery voltage is low.

    9. Check that DTCs are not output.

      Click here

      Powertrain > Stop and Start > Trouble Codes

  2. STOP AND START SYSTEM OPERATION CHECK

    Tip:

    When the cable is disconnected from the negative (-) battery terminal, stop and start control is prohibited until refresh charge is completed. After connecting the cable, drive the vehicle until stop and start control is permitted (approximately 15 to 40 minutes).

    1. Start the engine and warm it up.

    2. Turn the air conditioning system off.

    3. Drive the vehicle at 7 km/h (4.3 mph) or more.

      CAUTION:

      When performing Confirmation Driving Pattern, obey all speed limits and traffic laws.

    4. Stop the vehicle, move the shift lever to neutral and release the clutch pedal.

    5. Allow the engine to be stopped by stop and start control.

    6. Depress the clutch pedal to start the engine.

WIRING DIAGRAM

Refer to DTC P0560.

Click here

CAUTION / NOTICE / HINT

Note:
  • Before replacing the engine stop and start ECU, download the current status (number of starter operations) and upload it into a new engine stop and start ECU.

    Click here

  • After replacing the engine stop and start ECU or air conditioning control assembly, initialize and perform learning of the air conditioning information in the engine stop and start ECU.

    Click here

  • After replacing the engine stop and start ECU or airbag sensor assembly, clear and calibrate the deceleration sensor zero point in the engine stop and start ECU.

    Click here

  • Inspect the fuses for circuits related to this system before performing the following procedure.

Tip:
  • Using the GTS, read the freeze frame data before troubleshooting. System condition information is recorded as freeze frame data the moment a DTC is stored. This information can be useful when troubleshooting.

    Click hereClick here

  • If DTCs P060B and P0607 are output simultaneously, perform troubleshooting for DTC P060B (Analog to Digital Converter Malfunction) first as it may have caused DTC P0607 (Control Module Performance) to be stored.

  • If DTCs P0641 and P0607 are output simultaneously, perform troubleshooting for DTC P0641 (Sensor Reference Voltage "A" Circuit) first as it may have caused DTC P0607 (Control Module Performance) to be stored.

PROCEDURE

  1. CHECK ANY OTHER DTCS OUTPUT (IN ADDITION TO DTC P0607)

    1. Connect the GTS to the DLC3.

    2. Turn the ignition switch to ON.

    3. Turn the GTS on.

    4. Enter the following menus: Powertrain / Stop and Start / Trouble Codes.

    5. Read the DTCs.

      Powertrain > Stop and Start > Trouble Codes

      Result

      Result

      Proceed to

      DTC P0607 is output

      A

      DTC P060B and P0607 are output

      B

      DTC P0641 and P0607 are output

      C

    B

    GO TO DTC P060B

    C

    GO TO DTC P0641

    A
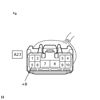
  2. CHECK HARNESS AND CONNECTOR (ENGINE STOP AND START ECU - BATTERY)

    1. Disconnect the A23 engine stop and start ECU connector.

    2. Turn the ignition switch to ON.

    3. A285227C20

      *a

      Front view of wire harness connector

      (to Engine Stop and Start ECU)

      Measure the voltage according to the value(s) in the table below.

      Standard Voltage

      Tester Connection

      Condition

      Specified Condition

      A23-5 (+B) - Body ground

      Ignition switch ON

      9.5 to 14 V

    Result

    Proceed to

    OK

    NG

    NG

    REPAIR OR REPLACE HARNESS OR CONNECTOR

    OK
  3. CHECK HARNESS AND CONNECTOR (ENGINE STOP AND START ECU - BODY GROUND)

    1. Disconnect the A23 engine stop and start ECU connector.

    2. Measure the resistance according to the value(s) in the table below.

      Standard Resistance

      Tester Connection

      Condition

      Specified Condition

      A23-8 (GND) - Body ground

      Always

      Below 1 Ω

    Result

    Proceed to

    OK

    NG

    OK

    REPLACE ENGINE STOP AND START ECU

    NG

    REPAIR OR REPLACE HARNESS OR CONNECTOR