ДАТЧИК ПОЛОЖЕНИЯ РЫЧАГА ПЕРЕКЛЮЧЕНИЯ ПЕРЕДАЧ РЕГУЛИРОВКА

ПОРЯДОК ВЫПОЛНЕНИЯ

  1. ПРОВЕРЬТЕ ПОЛОЖЕНИЕ ДАТЧИКА ПОЛОЖЕНИЯ РЫЧАГА ПЕРЕКЛЮЧЕНИЯ ПЕРЕДАЧ

    1. Полностью включите стояночный тормоз и установите колодки под все 4 колеса.

    2. Нажмите педаль тормоза.

    3. Включите питание (READY).

    4. Переместите рычаг переключения передач в положение D и отпустите педаль тормоза.

      Note:

      Обязательно включите стояночный тормоз и установите колодки под все 4 колеса, чтобы зафиксировать автомобиль.

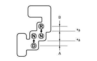
    5. C287979C02

      *a

      Точка расцепления передачи

      Медленно переместите рычаг переключения передач в положение N и измерьте расстояние (A) между исходным положением рычага и точкой отключения передачи.

      Note:

      Рычаг переключения передач следует перемещать медленно.

    6. Переместите рычаг переключения передач в положение R и отпустите тормоз.

      Note:

      Обязательно включите стояночный тормоз и установите колодки под все 4 колеса, чтобы зафиксировать автомобиль.

    7. Медленно переместите рычаг переключения передач в положение N и измерьте расстояние (B) между исходным положением рычага и точкой отключения передачи.

      Note:

      Рычаг переключения передач следует перемещать медленно.

    8. Удостоверьтесь, что расстояния (A) и (B), показанные на рисунке, практически совпадают.

      Tip:
      • Если расстояния перемещения (A) и (B) практически равны, регулировка положения рычага переключения передач не требуется.

      • Если расстояние (A) меньше расстояния (B), выполните шаг [#1] регулировки положения рычага переключения передач.

      • Если расстояние (B) меньше расстояния (A), выполните шаг [#2] регулировки положения рычага переключения передач.

  2. ОТРЕГУЛИРУЙТЕ ПОЛОЖЕНИЕ ДАТЧИКА ПОЛОЖЕНИЯ РЫЧАГА ПЕРЕКЛЮЧЕНИЯ ПЕРЕДАЧ

    1. Если расстояние (A) меньше расстояния (B). [#1]

      Tip:

      Когда рычаг переключения передач переводится из положения R в положение N, расстояние его перемещения из исходного положения в точку отключения передачи оказывается больше.

      1. Установите рычаг переключения передач в положение N.

      2. C342520

        Ослабьте 2 болта.

      3. C256280

        Слегка поверните датчик положения рычага переключения передач по часовой стрелке.

      4. С помощью SST и разрезной головки на 12 мм затяните болт (A).

        C342521C01

        *a

        Разрезная головка 12 мм

        *b

        Длина плеча динамометрического ключа

        09961-01270

        Номинальный момент затяжки

        13 Н*м

        133 кгс*см

        10 фунт-сила-футов

        Tip:
        • Рассчитайте показание динамометрического ключа при изменении длины рычага динамометрического ключа.

          Нажмите здесьClick hereClick hereClick here

        • При использовании разрезной головки на 12 мм (длина рычага 20 мм (0,787 дюйма)) + SST (длина рычага 200 мм (7,87 дюйма)) и динамометрического ключа (длина рычага 162 мм (6,38 дюйма)):

          5,5 Н*м (56 кгс*см, 49 фунт-сила-дюймов)

      5. Затяните болт (B).

        13 Н*м

        133 кгс*см

        10 фунт-сила-футов

      6. Проверьте положение датчика положения рычага переключения передач.

    2. Если расстояние (B) меньше расстояния (A). [#2]

      Tip:

      Когда рычаг переключения передач переводится из положения D в положение N, расстояние его перемещения из исходного положения в точку отключения передачи оказывается больше.

      1. Установите рычаг переключения передач в положение N.

      2. C342520

        Ослабьте 2 болта.

      3. C256279

        Слегка поверните датчик положения рычага переключения передач против часовой стрелки.

      4. С помощью SST и разрезной головки на 12 мм затяните болт (A).

        C342521C01

        *a

        Разрезная головка 12 мм

        *b

        Длина плеча динамометрического ключа

        09961-01270

        Номинальный момент затяжки

        13 Н*м

        133 кгс*см

        10 фунт-сила-футов

        Tip:
        • Рассчитайте показание динамометрического ключа при изменении длины рычага динамометрического ключа.

          Нажмите здесьClick hereClick hereClick here

        • При использовании разрезной головки на 12 мм (длина рычага 20 мм (0,787 дюйма)) + SST (длина рычага 200 мм (7,87 дюйма)) и динамометрического ключа (длина рычага 162 мм (6,38 дюйма)):

          5,5 Н*м (56 кгс*см, 49 фунт-сила-дюймов)

      5. Затяните болт (B).

        13 Н*м

        133 кгс*см

        10 фунт-сила-футов

      6. Проверьте положение датчика положения рычага переключения передач.