QUARTER WHEEL HOUSING OUTER PANEL ASSEMBLY REPLACEMENT



  1. REMOVAL

    Symbol meaning
    A004L9C Remove Weld Points
    A004L6L Remove Weld Points
    A004L2L Remove Weld Points
    A004L8V Cut and Join Location

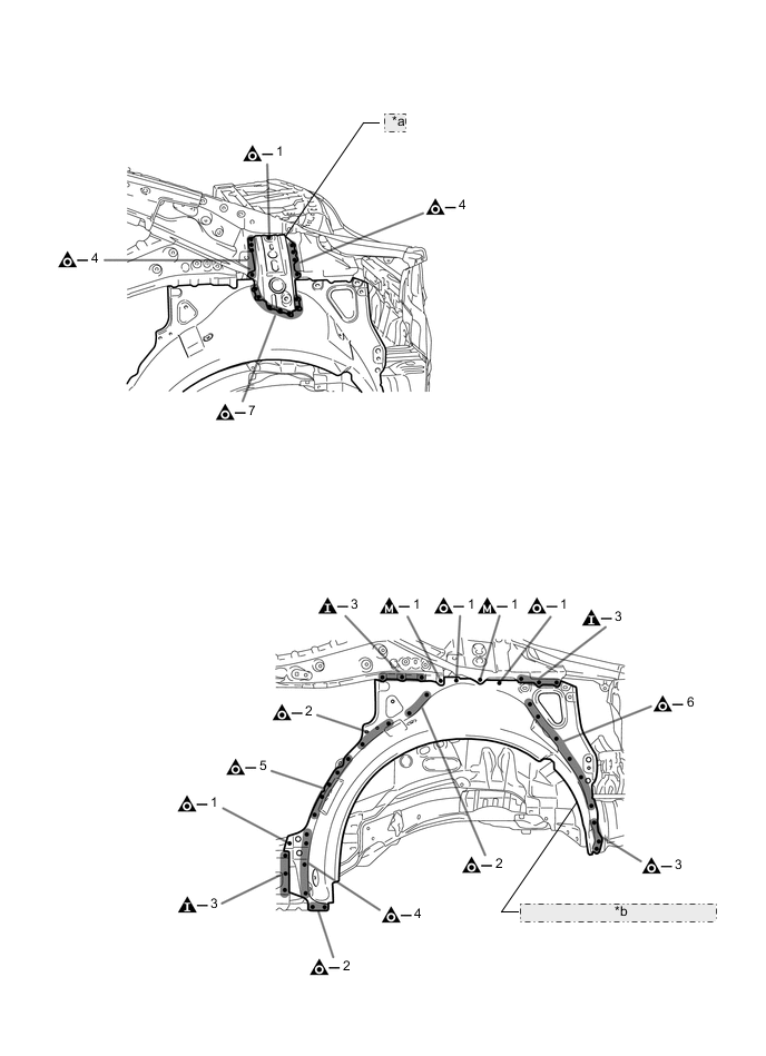
      REMOVAL POINT

    1. *1 and *2 is reused.

    2. After removing the *1, *2 and quarter lock pillar extension sub-assembly, remove the quarter wheel house panel outer.

    A004L3ZE03
    A004L6JE04
    *a QUARTER LOCK PILLAR EXTENSION SUB-ASSEMBLY
    *b QUARTER WHEEL HOUSE PANEL OUTER
    A004L8NE02
    A004L1LE03
    *a QUARTER LOCK PILLAR EXTENSION SUB-ASSEMBLY
    *b QUARTER WHEEL HOUSE PANEL OUTER
  2. INSTALLATION

    Symbol meaning
    A004L29 Spot Weld
    A004L4Z Plug Weld
    A004L5D Plug Weld
    A004L6I Plug Weld
    A004L9D Butt Weld
    A004L31 Assembly Mark

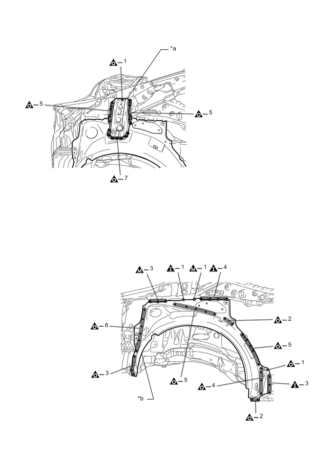
      INSTALLATION POINT

    1. When welding *1, make a hole on a new part for plug welding and weld the panel with the panel behind completely.

    2. For positioning of the new parts, align the installation standard holes of the outer panel and the inner panel.

    3. After welding the quarter wheel house panel outer to the vehicle side, install the quarter lock pillar extension sub-assembly, *1 and *2.

    4. After welding, apply body sealer and undercoating to the corresponding parts. (See the painting / coating)

    5. After applying the top coat, apply anti-rust agent to the internal panel portion of the closed section structural weld points.

    A004L9OE01
    A004L37E01
    A004L63E01
    A004L0YE01