AUDIO AND VISUAL SYSTEM(for Radio and Display Type) DTC CHECK / CLEAR

  1. CHECK DTC (CHECK USING GTS)

    1. Connect the GTS to the DLC3.

    2. Engine start.

    3. Turn the GTS on.

    4. Enter the following menus: Body Electrical / Navigation System / Trouble Codes.

    5. Check for DTCs, and then write them down.

      Body Electrical > Navigation System > Trouble Codes

    6. Check the details of the DTC(s).

      Click hereClick hereClick here

  2. CLEAR DTC (CLEAR USING GTS)

    1. Connect the GTS to the DLC3.

    2. Engine start.

    3. Turn the GTS on.

    4. Enter the following menus: Body Electrical / Navigation System / Trouble Codes / Clear DTCs.

    5. Clear the DTCs.

      Body Electrical > Navigation System > Clear DTCs

  3. START DIAGNOSTIC MODE (for 6.1 Inch Display)

    Tip:
    • Illustrations may differ from the actual vehicle screen depending on the device settings and options. Therefore, some detailed areas may not be shown exactly the same as on the actual vehicle screen.

    • After the power switch is turned to on (IG), check that the map is displayed before starting diagnostic mode. Otherwise, some items cannot be checked.

    • Start diagnostic mode using either of the 2 methods below.

    1. Method 1

      1. E307147C02

        *a

        "MEDIA" Switch

        *b

        "CAR" Switch

        Start the engine.

      2. While pressing and holding the "CAR" or "MEDIA" switch of the radio and display receiver assembly, operate the light control switch: Off → Tail → Off → Tail → Off → Tail → Off.

      3. Diagnostic mode starts and the "Service Menu" screen will be displayed. Service inspection starts automatically and the result will be displayed.

    2. Method 2

      Note:

      If the operation fails and diagnostic mode cannot be entered, turn the radio and display receiver assembly screen display on and off once, and then perform the procedures listed below from the first step again. (Only turning the radio and display receiver assembly power supply on and off will not work.)

      1. E309126C02

        *a

        ">" Switch

        *b

        "<" Switch

        Start the engine.

      2. Turn the radio and display receiver assembly screen display off.

      3. Turn the radio and display receiver assembly power supply off.

      4. Press the ">" switch 5 times, and then press the "<" switch 5 times within 15 seconds.

      5. Diagnostic mode starts and the "Service Menu" screen will be displayed. Service inspection starts automatically and the result will be displayed.

  4. START DIAGNOSTIC MODE (for 7 Inch Display)

    Tip:
    • Illustrations may differ from the actual vehicle screen depending on the device settings and options. Therefore, some detailed areas may not be shown exactly the same as on the actual vehicle screen.

    • After the power switch is turned to on (IG), check that the map is displayed before starting diagnostic mode. Otherwise, some items cannot be checked.

    • Start diagnostic mode using either of the 2 methods below.

    1. Method 1

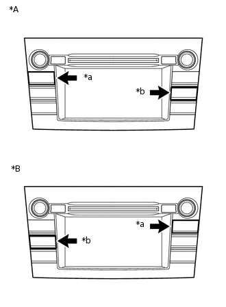
      1. E335186C01

        *A

        for LHD

        *B

        for RHD

        *a

        "MEDIA" Switch

        *b

        "CAR" Switch

        Start the engine.

      2. While pressing and holding the "CAR" or "MEDIA" switch of the radio and display receiver assembly, operate the light control switch: Off → Tail → Off → Tail → Off → Tail → Off.

      3. Diagnostic mode starts and the "Service Menu" screen will be displayed. Service inspection starts automatically and the result will be displayed.

    2. Method 2

      Note:

      If the operation fails and diagnostic mode cannot be entered, turn the radio and display receiver assembly screen display on and off once, and then perform the procedures listed below from the first step again. (Only turning the radio and display receiver assembly power supply on and off will not work.)

      1. E335187C01

        *A

        for LHD

        *B

        for RHD

        *a

        ">" Switch

        *b

        "<" Switch

        Start the engine.

      2. Turn the radio and display receiver assembly screen display off.

      3. Turn the radio and display receiver assembly power supply off.

      4. Press the ">" switch 5 times, and then press the "<" switch 5 times within 15 seconds.

      5. Diagnostic mode starts and the "Service Menu" screen will be displayed. Service inspection starts automatically and the result will be displayed.

  5. FAILURE DIAGNOSIS

    1. E278177

      Press the "Failure Diagnosis" switch on the "Service Menu" screen.

    2. The "Failure Diagnosis" will be displayed.

  6. SYSTEM CHECK

    1. E288629

      Press the "System Check" switch on the "Failure Diagnosis" screen.

    2. The "System Check Mode" screen will be displayed.

  7. CHECK DTC (CHECK USING SYSTEM CHECK MODE SCREEN)

    1. E288630E01

      System check mode screen description

      Table 1. Screen Description

      Display

      Content

      *a: Device Name List No. 1

      • Device Name List No. 1 displays some of the devices that make up the audio and visual system

      • The names of the components from Device Name List No. 1 are shown in the following table

      *b: Check Result

      Result codes for all devices are displayed

      *c: Memory Clear

      • Present and history DTCs and registered connected device names are cleared

      • Press the "Memory CLR" switch for 3 seconds

      *d: Recheck

      • A system check will be performed again after the memory is cleared

      • The "Recheck" switch will dim during a system check

      *e: Device Name List No. 2

      • Device Name List No. 2 displays some of the devices that make up the audio and visual system

      • The names of the components from Device Name List No. 2 are shown in the following table

      Table 2. *a: Device Name List No. 1 Description

      Name

      Component

      Connection Method

      DA

      Radio and display receiver assembly

      -

      AMP

      Stereo component amplifier assembly

      -

      Table 3. *b: Check Result Description

      Result

      Meaning

      Action

      OK

      The device does not respond with a DTC

      -

      DETAIL

      The device responds with a DTC

      Look up the DTC in "Unit Check Mode"

      NCON

      The device was previously present, but does not respond in diagnostic mode

      Check power supply wire harness of the device

      NRES

      The device responds in diagnostic mode, but gives no DTC information

      Check power supply wire harness of the device

      Table 4. *e: Device Name List No. 2 Description

      Name

      Component

      Connection Method

      AUX

      No. 1 stereo jack adapter assembly

      Vehicle wire harness

    2. E226127N06

      Unit check mode screen description

      Table 5. Screen Description

      Display

      Content

      *a: Device name

      Target device

      *b: History DTC

      Diagnostic memory results and stored DTCs are displayed.

      *c: Current DTC

      DTCs output in the service check are displayed.

      *d: DTC

      DTC (Diagnostic Trouble Code)

      *e: Diagnosis clear switch

      Pushing this switch for 3 seconds clears the diagnostic memory data of the target device (Both response to diagnostic system check result and the displayed data are cleared.).

      Tip:
      • This screen is updated once per second.

      • A maximum of 6 DTCs can be displayed for history and present DTCs.

    3. Read the system check result.

      1. If the check result is "DETAIL", touch the displayed check result to view the results on the "Unit Check Mode" screen and record them.

        Note:

        A maximum of 6 DTCs can be displayed for history and present DTCs on the "Unit check mode" screen. Therefore, when 6 DTCs are displayed, troubleshoot those DTCs first and then check the "Unit check mode" screen again to see if any other DTCs are displayed.

        Tip:
        • When all results are "OK", this means that no DTCs are stored.

        • When proceeding to view the results of another device, press the "Back" switch to return to the "System Check Mode" screen. Repeat the step above to view the results of other devices.

      2. Check the details of the DTC(s).

        Click hereClick hereClick here

  8. DTC CLEAR/RECHECK (CLEAR USING SYSTEM CHECK MODE SCREEN)

    1. E288631

      Clear DTCs

      1. Press the "Memory CLR" switch for 3 seconds.

      2. Confirm that the check results are cleared.

        Tip:
        • To clear the DTCs for a specific device, clear the DTCs using the "Unit Check Mode" screen.

        • When clearing the DTCs using the "Unit Check Mode" screen, press the "Code CLR" switch for 3 seconds.

    2. Recheck

      1. E288632

        Press the "Recheck" switch.

      2. E288633

        Confirm that all diagnostic codes are "OK" when the check results are displayed. If a code other than "OK" is displayed, troubleshoot again.

        Tip:

        When DTCs are cleared using the "Unit Check Mode" screen, press the "Back" switch to return to the "System Check Mode" screen and perform this operation.

  9. FINISH DIAGNOSTIC MODE

    1. Turn the power switch off.