REAR FLOOR PAN CUT AND JOIN REPLACEMENT SECTIONS



  1. REMOVAL

    Symbol meaning
    A004L9C Remove Weld Points
    A004L6L Remove Weld Points
    A004L2L Remove Weld Points
    A004L0A Cut with Disc Sander etc.
    A004LAN Cut Location

      REMOVAL POINT

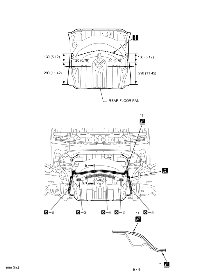
    1. After removing the rear floor side panel and rear bumper bracket, remove the rear floor pan.

    A004L7EE01
    *1 REAR FLOOR SIDE PANEL
    *2 REAR BUMPER BRACKET
    A004LAOE01
    *1 REAR FLOOR SIDE PANEL
    *2 REAR BUMPER BRACKET
    A004L7RE03
  2. INSTALLATION

    Symbol meaning
    A004L4Z Plug Weld
    A004L5D Plug Weld
    A004L6I Plug Weld
    A004LAN Cut Location
    A004L1P Fillet Weld
    A004L33 Body Sealer

      INSTALLATION POINT

    1. Cut the new part so that it overlaps the previous cut location.

    2. When welding *2, make a hole on a new part for plug welding and weld the panel with the panel behind completely.

    3. *1: Perform plug-welding in the area where the panel are overlapped. Apply body sealer to both sides of each panel.

      Tech Tips


      • Confirm that the panels are securely welded together.

      • Apply body sealer in an even, continuous bead.

    4. After welding the rear floor pan to the vehicle side, install the rear floor side panel and rear bumper bracket.

    5. After welding, apply body sealer and undercoating to the corresponding parts. (See the painting / coating)

    6. After applying the top coat, apply anti-rust agent to the internal panel portion of the closed section structural weld points.

    A004KZZE01
    A004L9WE01
    A004L25E01