FRONT DRIVE SHAFT ASSEMBLY REASSEMBLY
CAUTION / NOTICE / HINT
When using a vise, place aluminum plates between the part and vise.
When using a vise, do not overtighten it.
PROCEDURE
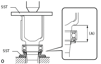
INSTALL FRONT DRIVE SHAFT BEARING (for RH Side)
-
Using SST and a press, press in the front drive inboard joint assembly RH until the new front drive shaft bearing contacts the edge of the front drive inboard joint assembly RH.
09527-10011
09710-30012
09710-04081
Note:Make sure the front drive shaft bearing contacts the edge of the front drive inboard joint assembly RH, but do not press it in more than necessary.
Do not apply weight to the dust cover and outer race of the front drive shaft bearing.
-
Using a snap ring expander, install a new snap ring.
Note:The Snap ring should be installed completely.
-
Using SST and a press, install a new front drive shaft dust cover to the front drive inboard joint assembly RH.
09527-10011
09726-40010
Standard distance (A)
41.6 to 42.6 mm (1.638 to 1.677 in.)
Note:Do not damage the front drive shaft dust cover.
The front drive shaft dust cover should be installed completely.
Make sure to install the front drive shaft dust cover in the correct direction.
-
INSTALL FRONT DRIVE SHAFT DUST COVER LH
-
Using SST and a press, press in the front drive inboard joint assembly LH until the new front drive shaft dust cover LH contacts the edge of the front drive inboard joint assembly LH.
09527-10011
Note:The front drive shaft dust cover LH should be installed completely.
Do not damage the front drive shaft dust cover LH.
Make sure to install the front drive shaft dust cover LH in the correct direction.
-
INSTALL FRONT DRIVE SHAFT DUST COVER RH
-
Using SST and a press, install a new front drive shaft dust cover RH to the front drive inboard joint assembly RH until the distance from the tip of the front drive inboard joint assembly RH to the front drive shaft dust cover RH reaches the specification as shown in the illustration.
09527-10011
Standard distance (A)
110.0 to 111.0 mm (4.331 to 4.370 in.)
Note:Do not damage the front drive shaft dust cover RH.
Front drive shaft dust cover RH should be installed completely.
Make sure to install the front drive shaft dust cover RH in the correct direction.
-
INSTALL FRONT AXLE OUTBOARD JOINT BOOT
Tip:Use the same procedure for the RH and LH sides.
Secure the front drive outboard joint shaft assembly in a vise.
Note:When using a vise, place aluminum plates between the part and vise.
When using a vise, do not overtighten it.
-
*a
Protective Tape
Before installing the front axle outboard joint boot, wrap the splines of the front drive outboard joint shaft assembly with protective tape to prevent the front axle outboard joint boot from being damaged.
-
*1
Front No. 2 Axle Outboard Joint Boot Clamp
*2
Front Axle Outboard Joint Boot
*3
Front Axle Outboard Joint Boot Clamp
*4
Front Drive Outboard Joint Shaft Assembly

Outboard Joint Side

Inboard Joint Side
Install new parts to the front drive outboard joint shaft assembly in the following order.
Front No. 2 axle outboard joint boot clamp
Front axle outboard joint boot
Front axle outboard joint boot clamp
Install the front axle outboard joint boot so that it is between the front No. 2 axle outboard joint boot clamp and front drive outboard joint shaft assembly.
Temporarily install the front axle outboard joint boot clamp to the front axle outboard joint boot.
Pack the front drive outboard joint shaft assembly and front axle outboard joint boot with grease from the boot kit.
Standard grease capacity
205.0 to 215.0 g (7.3 to 7.5 oz)
Install the front axle outboard joint boot to the groove of the front drive outboard joint shaft assembly.
Note:Do not apply grease to the part of the front axle outboard joint boot that contacts the groove.
Do not allow foreign matter to enter the front axle outboard joint boot.
INSTALL FRONT NO. 2 AXLE OUTBOARD JOINT BOOT CLAMP LH
CAUTION:Wear protective gloves to avoid injuries to your hands.
-
Install the front No. 2 axle outboard joint boot clamp LH onto the front axle outboard joint boot and temporarily fold back the lever.
Note:Set the lever into the guide groove correctly and install the front No. 2 axle outboard joint boot clamp LH as close to the inside of the vehicle as possible.
Check the band and lever for any deformation before folding back the lever.
-
Lean your weight on your hand and roll the front drive outboard joint shaft assembly LH forward while pressing the front drive outboard joint shaft assembly LH against a surface until a "click" sound is heard.
Note:Do not damage the deflector.
Make sure that the front drive outboard joint shaft assembly LH is in direct contact with the surface.
-
Using a plastic-faced hammer, tap the buckle to fix the lever in place while making sure that the end of the lever is even with the edge of the buckle.
Note:Do not damage the front axle outboard joint boot.
-
INSTALL FRONT NO. 2 AXLE OUTBOARD JOINT BOOT CLAMP RH
Tip:Use the same procedure described for the LH side.
INSTALL FRONT AXLE OUTBOARD JOINT BOOT CLAMP LH
CAUTION:Wear protective gloves to avoid injuries to your hands.
-
Install the front axle outboard joint boot clamp LH to the front axle outboard joint boot and temporarily fold back the lever.
Note:Set the lever into the guide groove correctly.
Check the band and lever for any deformation before folding back the lever.
-
Using water pump pliers, pinch the front axle outboard joint boot clamp LH to temporarily fix it in place.
-
Using a plastic-faced hammer, tap the buckle to fix the lever in place while making sure that the end of the lever is even with the edge of the buckle.
Note:Do not damage the front axle outboard joint boot.
-
INSTALL FRONT AXLE OUTBOARD JOINT BOOT CLAMP RH
Tip:Use the same procedure described for the LH side.
INSTALL FRONT DRIVE SHAFT DAMPER LH
-
*1
Front Drive Shaft Damper Clamp LH
*2
Front Drive Shaft Damper LH
Install 2 new front drive shaft damper clamp LH and the front drive shaft damper LH onto the front drive outboard joint shaft assembly LH.
Adjust the position of the front drive shaft damper LH so that the distance shown in the illustration is within the specified range.
Standard distance (A)
212.5 to 216.5 mm (8.367 to 8.523 in.)
-
INSTALL FRONT DRIVE SHAFT DAMPER RH
-
*1
Front Drive Shaft Damper Clamp RH
*2
Front Drive Shaft Damper RH
Install 2 new front drive shaft damper clamp RH and the front drive shaft damper RH onto the front drive outboard joint shaft assembly RH.
Adjust the position of the drive shaft damper RH so that the distance shown in the illustration is within the specified range.
Standard Distance (A)
199.0 to 203.0 mm (7.835 to 7.992 in.)
-
INSTALL FRONT DRIVE SHAFT DAMPER CLAMP LH
Secure the front drive outboard joint shaft assembly LH in a vise.
Note:When using a vise, place aluminum plates between the part and vise.
When using a vise, do not overtighten it.
-
*A
for One Touch Type
*B
for Claw Engagement Type
*a
Claw Engagement
Install the 2 front drive shaft damper clamp LH.
Note:Be sure to install the front drive shaft damper clamp LH in the correct position.
Tip:Use the same procedure for each front drive shaft damper clamp LH.
for One Touch Type:
Using a screwdriver, install the 2 front drive shaft damper clamp LH as shown in the illustration.
for Claw Engagement Type:
Using needle-nose pliers, hold the 2 front drive shaft damper clamp LH at the claw engagement as shown in the illustration.
Note:Do not deform the claw engagement of the front drive shaft damper clamp LH.
INSTALL FRONT DRIVE SHAFT DAMPER CLAMP RH
Tip:Use the same procedure described for the LH side.
INSTALL FRONT DRIVE INBOARD JOINT ASSEMBLY LH
Secure the front drive outboard joint shaft assembly LH in a vise.
Note:When using a vise, place aluminum plates between the part and vise.
When using a vise, do not overtighten it.
-
*1
Front Axle Inboard Joint Boot Clamp LH
*2
Front Axle Inboard Joint Boot
*3
Front No. 2 Axle Inboard Joint Boot Clamp LH
*a
Protective Tape

Outboard Joint Side

Inboard Joint Side
Install new parts to the front drive outboard joint shaft assembly LH in the following order.
Front axle inboard joint boot clamp LH
Front axle inboard joint boot
Front No. 2 axle inboard joint boot clamp LH
Remove the protective tape from the front drive outboard joint shaft assembly LH.
-
*a
Matchmark

inboard joint side
Align the matchmarks and place the beveled side of the tripod joint axial spline toward the front drive outboard joint shaft assembly LH.
Note:Face the cut edge of the spline toward the inboard joint side and insert the spline onto the outboard joint shaft assembly LH.
-
Using a brass bar and hammer, tap the tripod joint onto the front drive outboard joint shaft assembly LH.
Note:Do not tap the rollers.
Be sure to install the tripod in the correct direction.
-
Using a snap ring expander, install a new shaft snap ring.
Note:The shaft snap ring should be installed completely.
Pack the front drive inboard joint assembly LH and front axle inboard joint boot with grease from the boot kit.
Standard grease capacity
175.0 to 185.0 g (6.2 to 6.5 oz)
-
*a
Matchmark
Align the matchmarks and install the front drive inboard joint assembly LH to the front drive outboard joint shaft assembly LH.
INSTALL FRONT DRIVE INBOARD JOINT ASSEMBLY RH
Tip:Use the same procedure described for the LH side.
INSTALL FRONT AXLE INBOARD JOINT BOOT
Tip:Use the same procedure for the RH and LH sides.
Install the front axle inboard joint boot to the front drive inboard joint assembly.
Note:Do not apply grease to the part of the front axle inboard joint boot that contacts the groove.
Do not allow foreign matter to enter the front axle inboard joint boot.
-
*a
for LH Side
*b
for RH Side
Check that the front axle inboard joint boot and front axle outboard joint boot are not stretched or contracted when the front drive shaft assembly is at the standard length.
Length (A)
Item
Length
LH Side
570.9 mm (1.87 ft.)
RH Side
914.4 mm (3.00 ft.)
Note:Keep the front drive shaft assembly level during inspection.
If the front axle inboard joint boot and front axle outboard joint boot are stretched or contracted, correct them.
INSTALL FRONT AXLE INBOARD JOINT BOOT CLAMP LH
-
*A
for One Touch Type
*B
for Claw Engagement Type
*a
Claw Engagement
for One Touch Type:
Using a screwdriver, install the front axle inboard joint boot clamp LH as shown in the illustration.
Note:Correctly set the front axle inboard joint boot clamp LH to the guide groove.
Do not damage the front axle inboard joint boot.
for Claw Engagement Type:
Install the front axle inboard joint boot clamp LH to the front axle inboard joint boot.
Note:Correctly set the front axle inboard joint boot clamp LH to the guide groove.
Using needle-nose pliers, hold the front axle inboard joint boot clamp LH at the claw engagement as shown in the illustration.
Note:Do not damage the front axle inboard joint boot.
Do not deform the claw engagement of the front axle inboard joint boot clamp LH.
-
INSTALL FRONT AXLE INBOARD JOINT BOOT CLAMP RH
Tip:Use the same procedure described for the LH side.
INSTALL FRONT NO. 2 AXLE INBOARD JOINT BOOT CLAMP LH
Tip:Use the same procedure described for the front axle inboard joint boot clamp LH.
INSTALL FRONT NO. 2 AXLE INBOARD JOINT BOOT CLAMP RH
Tip:Use the same procedure described for the LH side.
INSPECT FRONT DRIVE SHAFT