VALVE BODY ASSEMBLY INSPECTION


  1. INSPECT SHIFT SOLENOID VALVE S1


    1. B007PG2E04
      Text in Illustration
      *a Shift Solenoid Valve S1

      Measure the resistance according to the value(s) in the table below.

      Standard Resistance
      Tester Connection Condition Specified Condition
      Shift solenoid valve S1 connector terminal - Shift solenoid valve S1 body 20°C (68°F) 11 to 15 Ω
    2. Connect a positive (+) lead from battery to the terminal of the shift solenoid valve S1 connector, and a negative (-) lead to the shift solenoid valve S1 body, and check the operation of the valve.

      OK
      The valve moves and makes an operating sound.

      If the result is not as specified, replace the shift solenoid valve S1.

  2. INSPECT SHIFT SOLENOID VALVE S2


    1. B007UZ7E01
      Text in Illustration
      *a Shift Solenoid Valve S2

      Measure the resistance according to the value(s) in the table below.

      Standard Resistance
      Tester Connection Condition Specified Condition
      Shift solenoid valve S2 connector terminal - Shift solenoid valve S2 body 20°C (68°F) 11 to 15 Ω
    2. Connect a positive (+) lead from battery to the terminal of the shift solenoid valve S2 connector, and a negative (-) lead to the shift solenoid valve S2 body, and check the operation of the valve.

      OK
      The valve moves and makes an operating sound.

      If the result is not as specified, replace the shift solenoid valve S2.

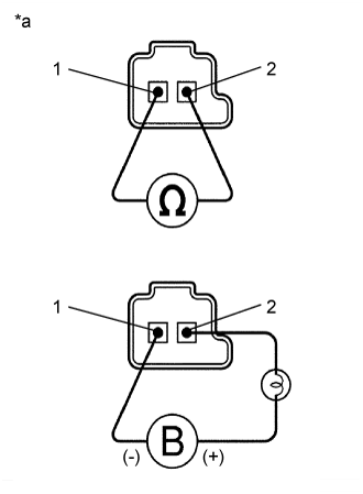
  3. INSPECT SHIFT SOLENOID VALVE SLT


    1. B007VFCE23
      Text in Illustration
      *a

      Component without harness connected

      (Shift Solenoid Valve SLT)

      Measure the resistance according to the value(s) in the table below.

      Standard Resistance
      Tester Connection Condition Specified Condition
      1 - 2 20°C (68°F) 5.0 to 5.6 Ω
    2. Connect the positive (+) lead with a 21 W bulb from the battery to terminal 2 and the negative (-) lead to terminal 1 of the shift solenoid valve SLT connector and check the operation of the valve.

      OK
      The valve moves and makes an operating sound.

      If the result is not as specified, replace the shift solenoid valve SLT.

  4. INSPECT SHIFT SOLENOID VALVE SL


    1. w/o Flex Lock-up:


      1. B007TWCE01
        Text in Illustration
        *a Shift Solenoid Valve SL

        Measure the resistance according to the value(s) in the table below.

        Standard Resistance
        Tester Connection Condition Specified Condition
        Shift solenoid valve SL connector terminal - Shift solenoid valve SL body 20°C (68°F) 11 to 15 Ω
      2. Connect a positive (+) lead from battery to the terminal of the shift solenoid valve SL connector, and a negative (-) lead to the shift solenoid valve SL body, and check the operation of the valve.

        OK
        The valve moves and makes an operating sound.

        If the result is not as specified, replace the shift solenoid valve SL.

  5. INSPECT SHIFT SOLENOID VALVE SLU


    1. w/ Flex Lock-up:


      1. B007PH1E01
        Text in Illustration
        *a

        Component without harness connected

        (Shift Solenoid Valve SLU)

        Measure the resistance according to the value(s) in the table below.

        Standard Resistance
        Tester Connection Condition Specified Condition
        1 - 2 20°C (68°F) 5.1 to 5.5 Ω
      2. Connect the positive (+) lead with a 21 W bulb from the battery to terminal 1 and the negative (-) lead to terminal 2 of the shift solenoid valve SLU connector and check the operation of the valve.

        OK
        The valve moves and makes an operating sound.

        If the result is not as specified, replace the shift solenoid valve SLU.