СИСТЕМА МОНИТОРА ПАНОРАМНОГО ОБЗОРА КАЛИБРОВКА

  1. ВЫПОЛНИТЕ РЕГУЛИРОВКУ СИСТЕМЫ ПАНОРАМНОГО ОБЗОРА

    1. Система панорамного обзора может быть настроена с экрана диагностики радиоприемника с дисплеем в сборе.

    2. Если были произведены перечисленные ниже действия, необходимо выполнить соответствующие регулировки и проверки с использованием экрана диагностики.

      Наименование детали

      Действие

      Регулируемый параметр

      Следующий шаг

      Датчик положения рулевого колеса

      • Снятие и установка датчика положения рулевого колеса

      • Снятие и установка разъема датчика положения рулевого колеса

      • Замена

      Нейтральное положение рулевого колеса (инициализируйте систему панорамного обзора)

      Click here

      Процедура 9

      Контроллер телекамеры

      Замена

      Контроллер инициализация телекамеры

      Процедура 2

      Процедура 7

      Процедура 8

      Отрегулируйте угол поворота рулевого колеса.

      Процедура 9

      Подвеска, шины и т.д.

      Высота подвески автомобиля изменяется вследствие замены деталей подвески или шин

      Контроллер инициализация телекамеры

      Процедура 2

      Процедура 7

      Процедура 8

      Отрегулируйте угол поворота рулевого колеса.

      Процедура 9

      Оптическая ось задней телекамеры (настройка положения камеры заднего вида)

      Шаг 10

      Задняя телекамера в сборе

      • Замена

      • Угол установки задней телекамеры был изменен вследствие снятия и установки задней телекамеры и т.п.

      Регулировка зоны обзора задней телекамеры

      Процедура 2

      Процедура 4

      Процедура 8

      Оптическая ось задней телекамеры (настройка положения камеры заднего вида)

      Шаг 10

      • Передняя телекамера в сборе

      • Передний бампер в сборе

      • Решетка радиатора

      • Замена

      • Угол установки передней телекамеры был изменен вследствие снятия и установки передней телекамеры и т.п.

      Регулировка зоны обзора передней телекамеры

      Процедура 2

      Процедура 3

      Процедура 8

      Левая боковая телекамера в сборе

      Левое наружное зеркало заднего вида с крышкой в сборе

      • Замена

      • Изменение угла установки боковой телекамеры вследствие снятия и установки боковой телекамеры и т.п.

      Регулировка зоны обзора боковой телекамеры

      Процедура 2

      Процедура 5

      Процедура 8

      Правая боковая телекамера в сборе

      Правое наружное зеркало заднего вида с крышкой в сборе

      • Замена

      • Изменение угла установки боковой телекамеры вследствие снятия и установки боковой телекамеры и т.п.

      Регулировка зоны обзора боковой телекамеры

      Процедура 2

      Процедура 6

      Процедура 8

      • Передняя телекамера в сборе, передний бампер в сборе или решетка радиатора в сборе

      • Задняя телекамера в сборе

      • Левая боковая телекамера в сборе или правое наружное зеркало заднего вида в сборе с крышкой левой

      • Правая боковая телекамера в сборе или правое наружное зеркало заднего вида с крышкой в сборе с правой стороны

      Замена или снятие и установка 2 и более деталей

      Регулировка зоны обзора телекамеры

      Процедура 2

      Процедура 7

      Процедура 8

      Оптическая ось задней телекамеры (настройка положения камеры заднего вида)

      Шаг 10

      • *: применимо только при снятии и установке или замене задней телекамеры в сборе.

      Tip:

      Значения параметров, устанавливаемые во время калибровки системы панорамного обзора сохраняются в контроллер телекамеры.

  2. Процедура 1: ПРОВЕРКА ПЕРЕД НАЧАЛОМ РАБОТЫ

    1. Предварительные проверки

      Note:
      • Обеспечьте затенение, чтобы подсветка не попадала в камеру.

      • Используйте нерастягивающийся шнур (струну).

      • Закрепите контрольные маркеры клейкой лентой. Контрольные маркеры должны иметь ширину 100 мм (3,94 дюйма).

      1. Выполняйте работы на широкой, ровной площадке (4000 - 7300 мм (13,12 - 23,94 фута)).

      2. Припаркуйте автомобиль на ровной площадке так, чтобы рулевое колесо находилось в центральном положении.

        Note:

        Перед остановкой автомобиля подвигайте его вперед и назад, чтобы убедиться, что колеса и рулевое колесо выровнены.

      3. Отрегулируйте давление в шинах, чтобы оно соответствовало номинальному уровню.

      4. Перед началом работы удалите из автомобиля весь груз (багаж).

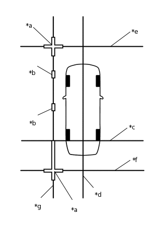
    2. Местоположение маркеров

      1. Закрепите шнур в местах, необходимых для проведения проверки, и установите маркеры, как показано на рисунке.

        • E287135C01

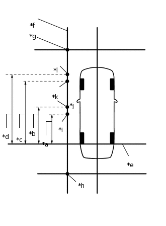
          *a

          Крестообразный контрольный маркер

          *b

          Контрольный маркер

          *c

          Струна 1

          *d

          Струна 2

          *e

          Струна 3

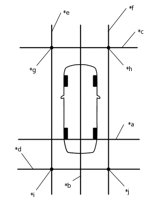
          Регулировка только передней камеры

        • E287136C01

          *a

          Крестообразный контрольный маркер

          *b

          Контрольный маркер

          *c

          Струна 1

          *d

          Струна 2

          *e

          Струна 4

          Регулировка только задней камеры

        • E287137C01

          *a

          Крестообразный контрольный маркер

          *b

          Контрольный маркер

          *c

          Струна 1

          *d

          Струна 2

          *e

          Струна 3

          *f

          Струна 4

          *g

          Струна 5

          Регулировка только левой камеры

        • E287138C01

          *a

          Крестообразный контрольный маркер

          *b

          Контрольный маркер

          *c

          Струна 1

          *d

          Струна 2

          *e

          Струна 3

          *f

          Струна 4

          *g

          Струна 6

          Регулировка только правой камеры

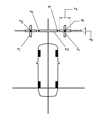
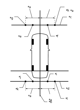
        • Регулировка 4 камер

          E287104C01

          *a

          Крестообразный контрольный маркер

          *b

          Контрольный маркер

          *c

          Струна 1

          *d

          Струна 2

          *e

          Струна 3

          *f

          Струна 4

          *g

          Струна 5

          *h

          Струна 6

    3. Положения маркеров

      1. Нанесите метки в местах, показанных на рисунке.

        E287105C01

        *a

        4800 мм (1,30 фута)

        *b

        1500 мм (4,92 фута)

        *c

        1400 мм (4,60 фута)

        *d

        693 мм (2,27 фута)

        *e

        1500 мм (4,92 фута)

        *f

        1700 мм (5,58 фута)

        *g

        3000 мм (9,84 фута)

        *h

        3200 мм (10,5 дюйма)

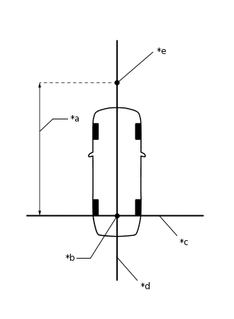
  3. ПРОЦЕДУРА 2: УСТАНОВИТЕ БАЗОВЫЕ ТОЧКИ

    1. Продлите базовую линию (шнур 1).

      1. E372783C01

        *a

        Метка A

        *b

        Грузик

        Подвесьте грузик с заостренным концом точно отметьте центральное положение на поверхности дороги. (метка A)

        Note:

        Убедитесь, что грузик подвешен на шнуре строго по вертикали.

      2. Повторите процедуру, чтобы сделать метку с правой стороны. (метка B)

      3. E287139C01

        *a

        Струна 1

        *b

        Метка A

        *c

        Метка B

        Закрепите шнур 1 так, чтобы он проходил через метки A и B с левой и правой сторон.

        Note:

        Закрепляя шнур, убедитесь, что он не провисает и не перекручен.

    2. Продлите вертикальную линию центра (шнур 2).

      1. Подвесьте грузик с заостренным концом так, чтобы он проходил через центр передней камеры и точно обозначал центральное положение на поверхности дороги. (для метки C)

        E372790C01

        *1

        Передняя телекамера в сборе

        -

        -

        *a

        Центральная точка

        *b

        Масса

        *c

        Веревка

        *d

        Метка C

      2. Подвесьте грузик с заостренным концом от центра задней эмблемы и точно отметьте центральное положение на поверхности дороги. (метка D)

        E359639C02

        *a

        По центру

        *b

        Масса

        *c

        Веревка

        *d

        Метка D

      3. E287140C01

        *a

        Базовая точка

        *b

        Струна 1

        *c

        Струна 2

        *d

        Метка C

        *e

        Метка D

        Закрепите шнур 2 так, чтобы он проходил через метки C и D спереди и сзади от автомобиля.

        Note:

        Закрепляя шнур 2, убедитесь, что он не провисает и не перекручен.

        Tip:

        Обозначьте точку пересечения шнуров 1 и 2 как базовую точку.

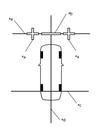
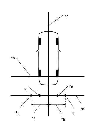
  4. ПРОЦЕДУРА 3: УСТАНОВИТЕ МАРКЕРЫ (при проверке спереди)

    1. E287141C01

      *a

      4800 мм (1,30 фута)

      *b

      Базовая точка

      *c

      Струна 1

      *d

      Струна 2

      *e

      Метка E

      Спереди от автомобиля продлите шнур 3 перпендикулярно осевой линии автомобиля (шнур 2) и установите маркер.

      1. Отметьте точку на шнуре 2 спереди от автомобиля на расстоянии 4800 мм (1,30 фута) от базовой точки. (метка E)

      2. E275619C01

        *a

        400 мм (1,31 фута)

        *b

        Струна 2

        *c

        Метка E

        Закрепите концы 2 шнуров (длиной 800 мм (2,62 фута)) в 2 точках на расстоянии 400 мм (1,31 фута) от метки E, как показано на рисунке.

      3. Отведите свободные концы 2 шнуров и отметьте точку, в которой концы встречаются. (метки F и G)

        E271119C06

        *a

        Шнур 800 мм (2,62 фута)

        *b

        Струна 2

        *c

        Метка E

        *d

        Метка F

        *e

        Метка G

        -

        -

      4. E287142C01

        *a

        1400 мм (4,60 фута)

        *b

        Струна 1

        *c

        Струна 2

        *d

        Струна 3

        *e

        Метка F

        *f

        Метка G

        *g

        Метка H

        *h

        Метка I

        Закрепите шнур 3 так, чтобы он проходил через метки F и G, как показано на рисунке.

        Note:

        Закрепляя шнур, убедитесь, что он не провисает и не перекручен.

      5. Отметьте точки на шнуре 3 на расстоянии 1400 мм (4,60 фута) слева и справа от осевой линии автомобиля (шнур 2). (метки H и I).

      6. E287109C01

        *a

        800 мм (2,62 фута)

        *b

        100 мм (0,33 фута)

        *c

        Крестообразный контрольный маркер

        *d

        Контрольный маркер

        *e

        Метка F

        *f

        Метка G

        *g

        Метка H

        *h

        Метка I

        Установите и закрепите крестообразные контрольные маркеры с центрами на метках H и I.

        Note:
        • Выровняйте крестообразные контрольные маркеры перпендикулярно шнуру.

        • Сделайте каждую ветвь крестообразных контрольных маркеров длиной 800 мм (2,62 фута) и шириной 100 мм (0,33 фута).

      7. Установите контрольный маркер между метками F и G.

      8. Выполните регулировку зоны обзора камеры (калибровку) (процедура 8).

  5. ПРОЦЕДУРА 4: УСТАНОВИТЕ МАРКЕРЫ (при проверке сзади)

    1. Сзади от автомобиля продлите шнур 4 перпендикулярно осевой линии автомобиля (шнур 2) и установите контрольный маркер.

      1. E287143C01

        *a

        1500 мм (4,92 фута)

        *b

        Базовая точка

        *c

        Струна 1

        *d

        Струна 2

        *e

        Метка J

        Отметьте точку на шнуре 2 сзади от автомобиля на расстоянии 1500 мм (4,92 фута) от базовой точки. (метка J)

      2. E287110C01

        *a

        400 мм (1,31 фута)

        *b

        Струна 1

        *c

        Струна 2

        *d

        Метка J

        Закрепите концы 2 шнуров (длиной 800 мм (2,62 фута)) в 2 точках на расстоянии 400 мм (1,31 фута) от метки J, как показано на рисунке.

      3. Отведите свободные концы 2 шнуров и отметьте точку, в которой концы встречаются. (метки K и L)

        E287111C01

        *a

        Шнур 800 мм (2,62 фута)

        *b

        Струна 1

        *c

        Струна 2

        *d

        Метка J

        *e

        Метка K

        *f

        Метка L

      4. E287144C01

        *a

        1400 мм (4,60 фута)

        *b

        Струна 1

        *c

        Струна 2

        *d

        Струна 4

        *e

        Метка K

        *f

        Метка L

        *g

        Метка M

        *h

        Метка N

        Закрепите шнур 4 так, чтобы он проходил через метки K и L, как показано на рисунке.

        Note:

        Закрепляя шнур, убедитесь, что он не провисает и не перекручен.

      5. Отметьте точки на шнуре 4 на расстоянии 1400 мм (4,60 фута) слева и справа от осевой линии автомобиля (шнур 2). (метки M и N)

      6. E287106C01

        *a

        800 мм (2,62 фута)

        *b

        100 мм (0,33 фута)

        *c

        400 мм (1,31 фута)

        *d

        Крестообразный контрольный маркер

        *e

        Контрольный маркер

        *f

        Струна 1

        *g

        Метка K

        *h

        Метка L

        *i

        Метка M

        *j

        Метка N

        Установите и закрепите крестообразные контрольные маркеры с центрами на метках M и N.

        Note:
        • Выровняйте крестообразные контрольные маркеры перпендикулярно шнуру.

        • Сделайте каждую ветвь крестообразных контрольных маркеров длиной 800 мм (2,62 фута) и шириной 100 мм (0,33 фута).

        • Продлите задние крестообразные контрольные маркеры до шнура 1.

      7. Установите контрольный маркер между метками K и L.

      8. Выполните регулировку зоны обзора камеры (калибровку) (процедура 8).

  6. ПРОЦЕДУРА 5: УСТАНОВИТЕ МАРКЕРЫ (при проверке с левой стороны)

    1. Слева от автомобиля продлите шнур 5 перпендикулярно осевой линии автомобиля (шнур 2) и установите контрольный маркер.

      1. E287145C01

        *a

        1500 мм (4,92 фута)

        *b

        4800 мм (1,30 фута)

        *c

        Базовая точка

        *d

        Струна 1

        *e

        Струна 2

        *f

        Метка E

        *g

        Метка J

        Отметьте точку на шнуре 2 спереди от автомобиля на расстоянии 4800 мм (1,30 фута) от базовой точки. (метка E)

      2. Отметьте точку на шнуре 2 сзади от автомобиля на расстоянии 1500 мм (4,92 фута) от базовой точки. (метка J)

      3. E275619C01

        *a

        400 мм (1,31 фута)

        *b

        Струна 2

        *c

        Метка E

        Закрепите концы 2 шнуров (длиной 800 мм (2,62 фута)) в 2 точках на расстоянии 400 мм (1,31 фута) от метки E, как показано на рисунке.

      4. Отведите свободные концы 2 шнуров и отметьте точку, в которой концы встречаются. (метки F и G)

        E271119C06

        *a

        Шнур 800 мм (2,62 фута)

        *b

        Струна 2

        *c

        Метка E

        *d

        Метка F

        *e

        Метка G

        -

        -

      5. E287110C01

        *a

        400 мм (1,31 фута)

        *b

        Струна 1

        *c

        Струна 2

        *d

        Метка J

        Закрепите концы 2 шнуров (длиной 800 мм (2,62 фута)) в 2 точках на расстоянии 400 мм (1,31 фута) от метки J, как показано на рисунке.

      6. Отведите свободные концы 2 шнуров и отметьте точку, в которой концы встречаются. (метки K и L)

        E287111C01

        *a

        Шнур 800 мм (2,62 фута)

        *b

        Струна 1

        *c

        Струна 2

        *d

        Метка J

        *e

        Метка K

        *f

        Метка L

      7. E287146C01

        *a

        1400 мм (4,60 фута)

        *b

        Струна 3

        *c

        Струна 4

        *d

        Метка F

        *e

        Метка G

        *f

        Метка H

        *g

        Метка K

        *h

        Метка L

        *i

        Метка M

        Закрепите шнуры 3 и 4 так, чтобы они проходили через метки F и G и метки K и L, как показано на рисунке.

        Note:

        Закрепляя шнур, убедитесь, что он не провисает и не перекручен.

      8. Отметьте точки на шнурах 3 и 4 на расстоянии 1400 мм (4,60 фута) слева от осевой линии автомобиля (шнур 2). (метки H и M)

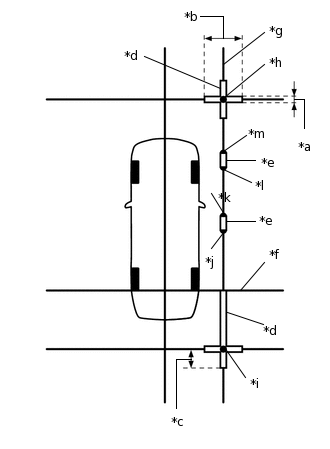
      9. E287147C04

        *a

        1500 мм (4,92 фута)

        *b

        1700 мм (5,58 фута)

        *c

        3000 мм (9,84 фута)

        *d

        3200 мм (10,5 дюйма)

        *e

        Струна 1

        *f

        Струна 5

        *g

        Метка H

        *h

        Метка M

        *i

        Метка O

        *j

        Метка P

        *k

        Метка Q

        *l

        Метка R

        Закрепите шнур 5 так, чтобы он проходил через метки H и M, как показано на рисунке.

        Note:

        Закрепляя шнур, убедитесь, что он не провисает и не перекручен.

      10. Убедитесь, что метки на шнуре 5, 1500 мм (4,92 фута) 1700 мм (5,58 фута), 3000 мм (9,84 фута) и 3200 мм (10,5 фута) от базовой линии (шнур 1), как показано на рисунке. (метки O, P, Q и R)

      11. E287107C01

        *a

        100 мм (0,33 фута)

        *b

        800 мм (2,62 фута)

        *c

        400 мм (1,31 фута)

        *d

        Крестообразный контрольный маркер

        *e

        Контрольный маркер

        *f

        Струна 1

        *g

        Струна 5

        *h

        Метка H

        *i

        Метка M

        *j

        Метка O

        *k

        Метка P

        *l

        Метка Q

        *m

        Метка R

        Установите и закрепите крестообразные контрольные маркеры с центрами на метках H и M.

        Note:
        • Выровняйте крестообразные контрольные маркеры перпендикулярно шнуру.

        • Сделайте каждую ветвь крестообразных контрольных маркеров длиной 800 мм (2,62 фута) и шириной 100 мм (0,33 фута).

        • Продлите задние крестообразные контрольные маркеры до шнура 1.

      12. Установите контрольные маркеры между метками O и P и метками Q и R.

      13. Выполните регулировку зоны обзора камеры (калибровку) (процедура 8).

  7. ПРОЦЕДУРА 6: УСТАНОВИТЕ МАРКЕРЫ (при проверке с правой стороны)

    1. Справа от автомобиля продлите шнур 6 перпендикулярно автомобилю и установите маркер.

      1. E287145C01

        *a

        1500 мм (4,92 фута)

        *b

        4800 мм (1,30 фута)

        *c

        Базовая точка

        *d

        Струна 1

        *e

        Струна 2

        *f

        Метка E

        *g

        Метка J

        Отметьте точку на шнуре 2 спереди от автомобиля на расстоянии 4800 мм (1,30 фута) от базовой точки. (метка E)

      2. Отметьте точку на шнуре 2 сзади от автомобиля на расстоянии 1500 мм (4,92 фута) от базовой точки. (метка J)

      3. E275619C01

        *a

        400 мм (1,31 фута)

        *b

        Струна 2

        *c

        Метка E

        Закрепите концы 2 шнуров (длиной 800 мм (2,62 фута)) в 2 точках на расстоянии 400 мм (1,31 фута) от метки E, как показано на рисунке.

      4. Отведите свободные концы 2 шнуров и отметьте точку, в которой концы встречаются. (метки F и G)

        E271119C06

        *a

        Шнур 800 мм (2,62 фута)

        *b

        Струна 2

        *c

        Метка E

        *d

        Метка F

        *e

        Метка G

        -

        -

      5. E287110C01

        *a

        400 мм (1,31 фута)

        *b

        Струна 1

        *c

        Струна 2

        *d

        Метка J

        Закрепите концы 2 шнуров (длиной 800 мм (2,62 фута)) в 2 точках на расстоянии 400 мм (1,31 фута) от метки J, как показано на рисунке.

      6. Отведите свободные концы 2 шнуров и отметьте точку, в которой концы встречаются. (метки K и L)

        E287111C01

        *a

        Шнур 800 мм (2,62 фута)

        *b

        Струна 1

        *c

        Струна 2

        *d

        Метка J

        *e

        Метка K

        *f

        Метка L

      7. E287712C01

        *a

        1400 мм (4,60 фута)

        *b

        Струна 3

        *c

        Струна 4

        *d

        Метка F

        *e

        Метка G

        *f

        Метка I

        *g

        Метка K

        *h

        Метка L

        *i

        Метка N

        Закрепите шнуры 3 и 4 так, чтобы они проходили через метки F и G и метки K и L, как показано на рисунке.

        Note:

        Закрепляя шнур, убедитесь, что он не провисает и не перекручен.

      8. Отметьте точки на шнурах 3 и 4 на расстоянии 1400 мм (4,60 фута) слева от осевой линии автомобиля (шнур 2). (метки I и N)

      9. E287713C01

        *a

        1500 мм (4,92 фута)

        *b

        1700 мм (5,58 фута)

        *c

        3000 мм (9,84 фута)

        *d

        3200 мм (10,5 дюйма)

        *e

        Струна 1

        *f

        Струна 6

        *g

        Метка I

        *h

        Метка N

        *i

        Метка S

        *j

        Метка T

        *k

        Метка U

        *l

        Метка V

        Закрепите шнур 6 так, чтобы он проходил через метки I и N, как показано на рисунке.

        Note:

        Закрепляя шнур, убедитесь, что он не провисает и не перекручен.

      10. Убедитесь, что метки на шнуре 6, 1500 мм (4,92 фута) 1700 мм (5,58 фута), 3000 мм (9,84 фута) и 3200 мм (10,5 фута) от базовой линии (шнур 1), как показано на рисунке. (метки S, T, U и V)

      11. E287108C01

        *a

        100 мм (0,33 фута)

        *b

        800 мм (2,62 фута)

        *c

        400 мм (1,31 фута)

        *d

        Крестообразный контрольный маркер

        *e

        Контрольный маркер

        *f

        Струна 1

        *g

        Струна 6

        *h

        Метка I

        *i

        Метка N

        *j

        Метка S

        *k

        Метка T

        *l

        Метка U

        *m

        Метка V

        Установите и закрепите крестообразные контрольные маркеры с центрами на метках I и N.

        Note:
        • Выровняйте крестообразные контрольные маркеры перпендикулярно шнуру.

        • Сделайте каждую ветвь крестообразных контрольных маркеров длиной 800 мм (2,62 фута) и шириной 100 мм (0,33 фута).

        • Продлите задние крестообразные контрольные маркеры до шнура 1.

      12. Установите контрольные маркеры между метками S и T и метками U и V.

      13. Выполните регулировку зоны обзора камеры (калибровку) (процедура 8).

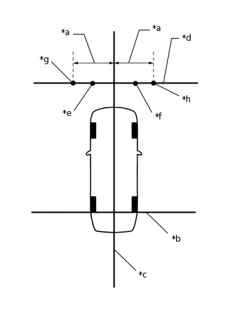
  8. ПРОЦЕДУРА 7: УСТАНОВИТЕ МАРКЕРЫ (при проверке всех камер)

    1. Установите маркеры в каждом направлении от автомобиля.

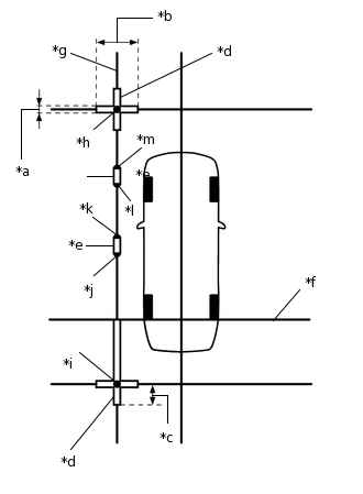
      1. E287145C01

        *a

        1500 мм (4,92 фута)

        *b

        4800 мм (1,30 фута)

        *c

        Базовая точка

        *d

        Струна 1

        *e

        Струна 2

        *f

        Метка E

        *g

        Метка J

        Отметьте точку на шнуре 2 спереди от автомобиля на расстоянии 4800 мм (1,30 фута) от базовой точки. (метка E)

      2. Отметьте точку на шнуре 2 сзади от автомобиля на расстоянии 1500 мм (4,92 фута) от базовой точки. (метка J)

      3. E275619C01

        *a

        400 мм (1,31 фута)

        *b

        Струна 2

        *c

        Метка E

        Закрепите концы 2 шнуров (длиной 800 мм (2,62 фута)) в 2 точках на расстоянии 400 мм (1,31 фута) от метки E, как показано на рисунке.

      4. Отведите свободные концы 2 шнуров и отметьте точку, в которой концы встречаются. (метки F и G)

        E271119C06

        *a

        Шнур 800 мм (2,62 фута)

        *b

        Струна 2

        *c

        Метка E

        *d

        Метка F

        *e

        Метка G

        -

        -

      5. E287110C01

        *a

        400 мм (1,31 фута)

        *b

        Струна 1

        *c

        Струна 2

        *d

        Метка J

        Закрепите концы 2 шнуров (длиной 800 мм (2,62 фута)) в 2 точках на расстоянии 400 мм (1,31 фута) от метки J, как показано на рисунке.

      6. Отведите свободные концы 2 шнуров и отметьте точку, в которой концы встречаются. (метки K и L)

        E287111C01

        *a

        Шнур 800 мм (2,62 фута)

        *b

        Струна 1

        *c

        Струна 2

        *d

        Метка J

        *e

        Метка K

        *f

        Метка L

      7. E287148C01

        *a

        1400 мм (4,60 фута)

        *b

        Струна 2

        *c

        Струна 3

        *d

        Струна 4

        *e

        Метка F

        *f

        Метка G

        *g

        Метка H

        *h

        Метка I

        *i

        Метка K

        *j

        Метка L

        *k

        Метка M

        *l

        Метка N

        Закрепите шнуры 3 и 4 так, чтобы они проходили через метки F, G, K и L, как показано на рисунке.

        Note:

        Закрепите шнуры 3 и 4 так, чтобы они проходили через метки F, G, K и L, как показано на рисунке.

      8. Отметьте точку на шнуре 3 на расстоянии 1400 мм (4,60 фута) слева и справа от осевой линии автомобиля (шнур 2). (метки H и I)

      9. Отметьте точку на шнуре 4 на расстоянии 1400 мм (4,60 фута) слева и справа от осевой линии автомобиля (шнур 2). (метки M и N)

      10. E287132C02

        *a

        Струна 1

        *b

        Струна 2

        *c

        Струна 3

        *d

        Струна 4

        *e

        Струна 5

        *f

        Струна 6

        *g

        Метка H

        *h

        Метка I

        *i

        Метка M

        *j

        Метка N

        Закрепите шнуры 5 и 6 так, чтобы они проходили через метки H, M, I и N, как показано на рисунке.

        Note:

        Закрепляя шнур, убедитесь, что он не провисает и не перекручен.

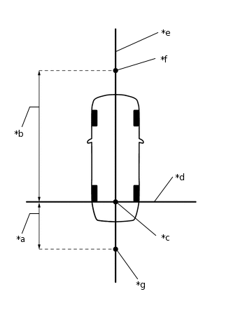
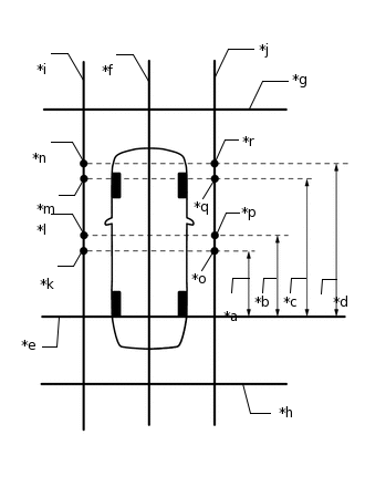
      11. E288356C02

        *a

        1500 мм (4,92 фута)

        *b

        1700 мм (5,58 фута)

        *c

        3000 мм (9,84 фута)

        *d

        3200 мм (10,5 дюйма)

        *e

        Струна 1

        *f

        Струна 2

        *g

        Струна 3

        *h

        Струна 4

        *i

        Струна 5

        *j

        Струна 6

        *k

        Метка O

        *l

        Метка P

        *m

        Метка Q

        *n

        Метка R

        *o

        Метка S

        *p

        Метка T

        *q

        Метка U

        *r

        Метка V

        Убедитесь, что метки на шнуре 5, 1500 мм (4,92 фута) 1700 мм (5,58 фута), 3000 мм (9,84 фута) и 3200 мм (10,5 фута) от базовой линии (шнур 1), как показано на рисунке. (метки O, P, Q и R)

      12. Убедитесь, что метки на шнуре 6, 1500 мм (4,92 фута) 1700 мм (5,58 фута), 3000 мм (9,84 фута) и 3200 мм (10,5 фута) от базовой линии (шнур 1), как показано на рисунке. (метки S, T, U и V)

      13. Установите и закрепите крестообразные контрольные маркеры с центрами на метках H, I, M и N.

        Note:
        • Выровняйте крестообразные контрольные маркеры перпендикулярно шнуру.

        • Сделайте каждую ветвь крестообразных контрольных маркеров длиной 800 мм (2,62 фута) и шириной 100 мм (0,33 фута).

        • Продлите задние крестообразные контрольные маркеры до шнура 1.

        E287112C01

        *a

        100 мм (0,33 фута)

        *b

        800 мм (2,62 фута)

        *c

        Крестообразный контрольный маркер

        *d

        Контрольный маркер

        *e

        Струна 1

        *f

        Метка F

        *g

        Метка G

        *h

        Метка H

        *i

        Метка I

        *j

        Метка K

        *k

        Метка L

        *l

        Метка M

        *m

        Метка N

        *n

        Метка O

        *o

        Метка P

        *p

        Метка Q

        *q

        Метка R

        *r

        Метка S

        *s

        Метка T

        *t

        Метка U

        *u

        Метка V

        -

        -

      14. Установите контрольные маркеры между метками F и G, метками K и L, метками O и P, метками Q и R, метками S и T и метками U и V.

      15. Выполните регулировку зоны обзора камеры (калибровку) (процедура 8).

  9. ПРОЦЕДУРА 8: РЕГУЛИРОВКА ЗОНЫ ОБЗОРА КАМЕРЫ (КАЛИБРОВКА)

    1. Войдите в режим диагностики.

      Note:

      При работающем двигателе следует выполнить следующее. Включите стояночный тормоз, нажмите педаль тормоза, проверьте, что рычаг переключения передач находится в положении P и удостоверьтесь, что автомобиль не движется.

    2. E366768

      На экране "Service Menu" (сервисное меню) выберите "Function Check/Setting" (проверка/настройка функций).

    3. E366769E01

      Выберите "Camera Setting" (настройка камеры) на экране "Function Check/Setting" (проверка/настройка функций), чтобы перейти на экран "Mode Setting" (настройка режима).

    4. E372764

      На экране "Mode Setting" (настройка режима) выберите пункт "View Adjustment" (регулировка зоны обзора), чтобы вывести экран регулировки.

      Tip:

      Чтобы выбрать недоступный для выбора элемент, нажмите на его изображение и удерживайте не менее 2 с.

    5. E393501

      После проверки экрана нажмите кнопку "NEXT" на экране "Signal Check" (проверка сигнала).

      Tip:
      • Когда отобразится "CHK" (красного цвета), выполните проверки.

      • При выполнении регулировки перед переходом к следующему экрану, убедитесь, что для всех параметров отображается "OK" (синего цвета), при выборе "Next".

    6. Выполните регулировку зоны обзора.

      E372766C01

      *a

      Красная линия

      *b

      Крестообразный контрольный маркер

      *c

      Кнопка регулировки

      *d

      Кнопка выбора камеры

      *e

      Кнопка регулировки высоты

      -

      -

      Note:

      В случае замены камеры выберите замененную камеру и нажмите кнопку "New Camera" (новая камера).

      1. Убедитесь, что крестообразные контрольные маркеры на экране регулировки выглядят целостными.

        E271143
        Note:
        • Перед проверкой экрана регулировки убедитесь, что крестообразные контрольные маркеры размещены правильно.

        • Если крестообразный контрольный маркер на экране регулировки выглядит смещенным, с помощью кнопок выбора камеры выберите соответствующую камеру, после чего с помощью кнопок регулировки или кнопок регулировки высоты подвески автомобиля отрегулируйте изображение на экране.

          E372767E01
        Tip:

        Если требуется регулировка, нажмите кнопку "All View Reset" (сброс всех зон обзора) и выполните сброс всех параметров регулировки.

      2. , Проверьте контрольный маркер на экране регулировки.

        E271144
        Note:
        • Перед проверкой экрана регулировки убедитесь, что крестообразные контрольные маркеры размещены правильно.

        • Если контрольный маркер на экране регулировки выглядит смещенным, с помощью кнопок выбора камеры выберите соответствующую камеру, после чего с помощью кнопок регулировки или кнопок регулировки высоты подвески автомобиля отрегулируйте изображение на экране.

          E372767E01
          Tip:

          При повторном выполнении регулировки нажмите кнопку "All View Reset" (сброс всех зон обзора), чтобы инициализировать состояние регулировки.

    7. E372775

      Когда все регулировки завершены, нажмите кнопку "OK".

    8. Если запись данных завершается нормально, "вида запись данных завершается.).

    9. Нажмите кнопку "OK".

    10. Закончите режим диагностики.

  10. ПРОЦЕДУРА 9: STEERING ANGLE SETTING (настройка угла поворота рулевого колеса)

    1. Подготовка к настройке

      1. Припаркуйте автомобиль так, чтобы рулевое колесо находилось в центральном положении.

        Tip:

        Перед парковкой автомобиля подвигайте его взад-вперед, чтобы убедиться, что колеса установлены строго прямо и рулевое колесо установлено по центру.

      2. Отрегулируйте давление в шинах, чтобы оно соответствовало номинальному уровню.

    2. Войдите в режим диагностики.

      Note:

      При работающем двигателе следует выполнить следующее. Включите стояночный тормоз, нажмите педаль тормоза, проверьте, что рычаг переключения передач находится в положении P и удостоверьтесь, что автомобиль не движется.

    3. E366768

      Выберите "Function Check/Setting" (Проверка/настройка функций) на экране "Service Menu" (Меню обслуживания).

    4. E366769E01

      Выберите "Camera Setting" (Настройка камеры) на экране "Function Check/Setting I" (Проверка/настройка функций I).

    5. E372764

      На экране "Mode Setting" (настройка режима) выберите пункт "Steering Angle Setting" (настройка угла поворота рулевого колеса), чтобы вывести экран "Signal Check" (проверка сигнала).

      Tip:

      Чтобы выбрать недоступный для выбора элемент, нажмите на его изображение и удерживайте не менее 2 с.

    6. E393501

      Выберите "Next" (далее) на экране Signal Check (проверка сигналов), чтобы открыть экран Steering Angle Setting (настройка угла поворота рулевого колеса).

      Note:
      • Если для параметра на экране "Signal Check" (проверка сигнала) отображается "CHK" (красного цвета), при выборе "Next" (далее) система не перейдет к экрану "Steering Angle Setting" (настройка угла поворота рулевого колеса).

      • Если для параметра на экране "Signal Check" (проверка сигнала) отображается "CHK" (красного цвета), проверьте экран "Signal Check" (проверка сигнала).

    7. Отрегулируйте угол поворота рулевого колеса.

      1. E366773

        Убедитесь, что рулевое колесо отцентровано (приблизительно +/-5 градусов или менее), и выберите "Steering Center Memorize" (Сохранить центральное положение рулевого колеса).

      2. Поверните рулевое колесо влево и вправо до упора и затем нажмите кнопку "Max Steering Angle Memorize" (сохранение в памяти максимального угла поворота рулевого колеса). (Поворот вправо и влево выполняется нормально)

      3. При нажатии кнопки "Max Steering Angle Memorize" (сохранение в памяти максимального угла поворота рулевого колеса) система издает звуковой сигнал, параметры настройки угла поворота рулевого колеса (нейтрального положения и максимального угла поворота рулевого колеса) сохраняются в памяти, и снова выводится экран "Mode Setting" (настройка режима).

        Tip:
        • Звучит звуковой сигнал, подтверждающий сохранение значений параметров регулировки.

        • Если все сигналы введены нормально, то после сохранения в памяти максимального угла поворота рулевого колеса автоматически выводится экран "Mode Setting" (настройка режима).

        • Если настройка угла поворота рулевого колеса не завершена, кнопку "OK" нажать нельзя.

        • Если код DTC не обнаружен, при неисправности датчика угла поворота рулевого колеса) может быть запрещено использование "(сохранение максимального угла поворота рулевого колеса".

        • Если выбор "Max Steering Memorize" не приводит к сохранению настройки после регулировки угла поворота рулевого колеса, замените датчик угла поворота рулевого колеса.

          Нажмите здесьClick here

    8. Закончите режим диагностики.

    9. Проверьте настройку угла поворота рулевого колеса.

      Tip:

      Если угол поворота рулевого колеса был отрегулирован, проверьте настройку угла поворота рулевого колеса на экране системы панорамного обзора после выхода из режима диагностики.

    10. Убедитесь, что на экране системы помощи при парковке прогнозируемая траектория движения перемещается, пока рулевое колесо не будет повернуто до упора влево или вправо.

      Tip:

      Если прогнозируемая траектория движения прекращает движение до того, как рулевое колесо будет повернуто в крайнее левое или правое положение, параметры настройки угла поворота рулевого колеса не сохранены должным образом. В этом случае выполните операции "Steering Center Memorize" (сохранение нейтрального положения рулевого колеса) и "Max Steering Angle Memorize" (сохранение максимального угла поворота рулевого колеса) еще раз.

  11. ШАГ 10: НАСТРОЙКА ПОЛОЖЕНИЯ КАМЕРЫ ЗАДНЕГО ВИДА

    Tip:
    • Обязательно проверьте DTC перед выполнением этой процедуры.

      Нажмите здесьClick here

    • Экраны на рисунках могут отличаться от экранов, отображаемых в конкретном автомобиле, из-за различия настроек и дополнительного оборудования. В связи с этим некоторые детализированные области не могут быть отображены в точности так, как вы их видите на своем дисплее.

    1. Подготовка к настройке

      1. Припаркуйте автомобиль так, чтобы рулевое колесо находилось в центральном положении.

      2. E366785C01

        *a

        Центральная ось автомобиля

        *b

        Полоса для регулировки положения камеры заднего вида

        *c

        Задняя часть автомобиля

        *d

        Передняя часть автомобиля

        *e

        ПОЛОСА Центральная ось

        Закрепите полосу для регулировки оптической оси задней телекамеры в сборе позади автомобиля (настройка положения камеры заднего вида).

        Tip:

        Полоса для регулировки используется только в случае регулировки оптической оси задней телекамеры в сборе.

        Размер

        Зона

        Технические характеристики

        A

        1148 мм (3.765 фута)

        B

        1995 - 2005 мм (6,544 - 6,576 фута)

        C

        100 мм (3,94 дюйма)

        Tip:
        • Положите на землю кусок ленты, которая будет использоваться в качестве полосы для регулировки. Ширина и длина должны составлять 100 мм (3,94 дюйма) и 1995 - 2005 мм (6,544 - 6,576 фута), соответственно.

        • Используйте высокую контрастность цвет ленты лампа (черную ленту на поверхность, белой ленты на темном поверхности и т.д.).

        • Используйте ленту, не имеет режима например уплотнитель.

        • Убедитесь в отсутствии линии помимо полоса в заданной зоне.

        • Перед парковкой автомобиля подвигайте его взад-вперед, чтобы убедиться, что колеса установлены строго прямо и рулевое колесо установлено по центру.

        • Убедитесь, что дверь багажного отделения полностью закрыта.

    2. Войдите в режим диагностики.

      Note:

      При запущенном двигателе следует выполнить следующее. Включите стояночный тормоз, нажмите педаль тормоза, проверьте, что рычаг переключения передач находится в положении P и удостоверьтесь, что автомобиль не движется.

      1. E366768

        Выберите "Function Check/Setting" (Проверка/настройка функций) на экране "Service Menu" (Меню обслуживания).

      2. E366769E01

        Выберите "Camera Setting" (Настройка камеры) на экране "Function Check/Setting I" (Проверка/настройка функций I).

      3. E372764

        В окне "Mode Setting" (настройка режима) выберите пункт "Back Camera Setting" (настройка камеры заднего вида).

        Tip:

        Чтобы выбрать не доступный для выбора элемент, нажмите на его изображение и удерживайте не менее 2 с.

      4. E393501

        Выберите "Next" (Далее) на экране "Signal Check" (Проверка сигналов).

        Tip:
        • Если для каких-либо параметров на экране "Signal Check" отображается "CHK" (красный), при выборе "Next" система не перейдет к экрану "Back Camera Position Setting D (*)" (настройка положения камеры заднего вида D (*)).

        • Если для каких-либо параметров на экране "Signal Check" отображается "CHK" (красный), выполните проверки с помощью экрана "Signal Check".

          Нажмите здесьClick here

    3. E366770C01

      *a

      Полоса для регулировки положения камеры заднего вида

      Настройка положения камеры заднего вида (оба конца полоса)

      Tip:
      • Когда дверь багажного отделения открыта, сообщение "можно не калибровку камерой, когда дверь открыта. Обязательно закройте дверь »будет выведено такое сообщение, и настройка положения камеры будет невозможна.

      • Если сообщение "You can not calibrate the camera when the door is open. Необходимо закрыть дверь. "отображается даже при закрытой двери багажного отделения, выполните проверки в соответствии с таблицей признаков неисправностей (при регулировке положения оптической оси камеры сообщение" можно не калибровку камерой, когда дверь открыта. Необходимо закрыть дверь. "отображается, даже когда дверь багажного отделения была закрыта).

        Нажмите здесьClick here

      1. Отрегулируйте положения по вертикали и горизонтали.

        • Переместите круг (А) влево, вправо, вверх и вниз, выбрав кнопки (C), (D), (E) и (F), чтобы левый конец заданной полосы настройки положения камеры заднего вида располагался в центре круга (А) (центр внутреннего красного круга).

      2. Отрегулируйте угол крена.

        • Повернитие полосу (B) выбрав кнопку (G) или (H), чтобы полоса (B) стала параллельной относительно заданной полосы настройки положения камеры заднего вида.

      3. Выберите "Next" (Дальше) в окне "Back Camera Position Setting" (D (*).

    4. E366780C01

      *a

      Полоса для регулировки положения камеры заднего вида

      Настройка положения камеры заднего вида (левый верхний угол полоса)

      Tip:
      • Когда дверь багажного отделения открыта, сообщение "можно не калибровку камерой, когда дверь открыта. Обязательно закройте дверь »будет выведено такое сообщение, и настройка положения камеры будет невозможна.

      • Если сообщение "You can not calibrate the camera when the door is open. Необходимо закрыть дверь. "отображается даже при закрытой двери багажного отделения, выполните проверки в соответствии с таблицей признаков неисправностей (при регулировке положения оптической оси камеры сообщение" можно не калибровку камерой, когда дверь открыта. Необходимо закрыть дверь. "отображается, даже когда дверь багажного отделения была закрыта).

        Нажмите здесьClick here

      1. Выполните настройку положения оптической оси телекамеры (высокой точности регулировки).

        • Переместите регулировка Метка (A) влево, вправо, используя пониженную и повышенную кнопок (B), (C), (D) и (E), чтобы совместить метку (угол A) и угол Верхняя левая полоса.

          Номинальный режим

          Наружный угол метку (A) совмещена с левой верхней углу полоса.

          E366764C02

          *a

          Чрезмерно В

          *b

          Внутренняя угловая с

          *c

          Чрезмерно наружный

          -

          -

      2. Выберите "Next" (Дальше) в окне "Back Camera Position Setting" (*) L_TOP D).

    5. E366781C01

      *a

      Полоса для регулировки положения камеры заднего вида

      Настройка положения камеры заднего вида (левом нижнем углу полоса)

      Tip:
      • Когда дверь багажного отделения открыта, сообщение "можно не калибровку камерой, когда дверь открыта. Обязательно закройте дверь »будет выведено такое сообщение, и настройка положения камеры будет невозможна.

      • Если сообщение "You can not calibrate the camera when the door is open. Необходимо закрыть дверь. "отображается даже при закрытой двери багажного отделения, выполните проверки в соответствии с таблицей признаков неисправностей (при регулировке положения оптической оси камеры сообщение" можно не калибровку камерой, когда дверь открыта. Необходимо закрыть дверь. "отображается, даже когда дверь багажного отделения была закрыта).

        Нажмите здесьClick here

      1. Выполните настройку положения оптической оси телекамеры (высокой точности регулировки).

        • Установите метку (A) влево, вправо, используя пониженную и повышенную кнопок (B), (C), (D) и (E), чтобы совместить метку с углом (A) с левой нижней углу полоса.

          Номинальный режим

          Наружный угол метку (A) совмещена с нижнего левого углов полоса.

          E366765C02

          *a

          Чрезмерно В

          *b

          Внутренняя угловая с

          *c

          Чрезмерно наружный

          -

          -

      2. Выберите "Next" (Дальше) в окне "Back Camera Position Setting" (*) L_BTM D).

    6. E366782C01

      *a

      Полоса для регулировки положения камеры заднего вида

      Настройка положения камеры заднего вида (полоса правом верхнем углу)

      Tip:
      • Когда дверь багажного отделения открыта, сообщение "можно не калибровку камерой, когда дверь открыта. Обязательно закройте дверь »будет выведено такое сообщение, и настройка положения камеры будет невозможна.

      • Если сообщение "You can not calibrate the camera when the door is open. Необходимо закрыть дверь. "отображается даже при закрытой двери багажного отделения, выполните проверки в соответствии с таблицей признаков неисправностей (при регулировке положения оптической оси камеры сообщение" можно не калибровку камерой, когда дверь открыта. Необходимо закрыть дверь. "отображается, даже когда дверь багажного отделения была закрыта).

        Нажмите здесьClick here

      1. Выполните настройку положения оптической оси телекамеры (высокой точности регулировки).

        • Установите метку (A) влево, вправо, используя пониженную и повышенную кнопок (B), (C), (D) и (E), чтобы совместить наружный углу метку (A) в правом верхнем углу полоса.

          Номинальный режим

          Наружный угол метку (A) совмещена с правом верхнем углу полоса.

          E366767C02

          *a

          Чрезмерно В

          *b

          Внутренняя угловая с

          *c

          Чрезмерно наружный

          -

          -

      2. Выберите "Next" (Дальше) в окне "Back Camera Position Setting" (*) R_TOP D).

    7. E366783C01

      *a

      Полоса для регулировки положения камеры заднего вида

      Настройка положения камеры заднего вида (правом нижнем углу полоса)

      Tip:
      • Когда дверь багажного отделения открыта, сообщение "можно не калибровку камерой, когда дверь открыта. Обязательно закройте дверь »будет выведено такое сообщение, и настройка положения камеры будет невозможна.

      • Если сообщение "You can not calibrate the camera when the door is open. Необходимо закрыть дверь. "отображается даже при закрытой двери багажного отделения, выполните проверки в соответствии с таблицей признаков неисправностей (при регулировке положения оптической оси камеры сообщение" можно не калибровку камерой, когда дверь открыта. Необходимо закрыть дверь. "отображается, даже когда дверь багажного отделения была закрыта).

        Нажмите здесьClick here

      1. Выполните настройку положения оптической оси телекамеры (высокой точности регулировки).

        • Установите метку (A) влево, вправо, используя пониженную и повышенную кнопок (B), (C), (D) и (E), чтобы совместить наружный углу метку (A) в правом нижнем углу полоса.

          Номинальный режим

          Наружный угол метку (A) совмещена с правом нижнем углу полоса.

          E366766C02

          *a

          Чрезмерно В

          *b

          Внутренняя угловая с

          *c

          Чрезмерно наружный

          -

          -

      2. Выберите "Next" (Дальше) в окне "Back Camera Position Setting" (*) R_BTM D).

    8. E366771E01

      Режим проверки заднего вида

      1. Убедитесь, что (A) и полоса регулировки перекрываются.

        • Если линии не совмещаются, выполните операции "Steering Center Memorize" (сохранение нейтрального положения рулевого колеса) и "Max Steering Angle Memorize" (сохранение максимального угла поворота рулевого колеса).

        • Если (A) и полоса регулировки не совмещены, несмотря на то, что колеса расположены строго прямо, произведите настройку положения камеры заднего вида.

      2. Нажатие "OK" приводит к возврату в экран "Mode Setting" и завершению регулировки.

        Tip:
        • Обновление не завершится, пока не будет нажата кнопка "OK".

        • После выбора "OK" звучит звуковой сигнал, подтверждающий сохранение значений параметров настройки.

        • Значения параметров настройки не сохраняются, пока не прозвучит звуковой сигнал.

    9. Закончите режим диагностики.