РАЗДАТОЧНАЯ КОРОБКА В СБОРЕ РАЗБОРКА

ПРЕДОСТЕРЕЖЕНИЕ / ПРИМЕЧАНИЕ / УКАЗАНИЕ

Note:

Перед установкой каждой детали тщательно очистите и высушите ее. Затем при необходимости нанесите консистентную смазку или масло. Запрещается использование щелочных химических средств для очистки алюминиевых, резиновых деталей, а также болтов с предварительно нанесенным покрытием. Кроме того, запрещается применять не оставляющий осадка растворитель и другие бензины химической чистки для очистки резиновых деталей, кольцевых уплотнений и сальников.

ПОРЯДОК ВЫПОЛНЕНИЯ

  1. СНИМИТЕ УСТАНОВОЧНУЮ РЕЗЬБОВУЮ ШПИЛЬКУ РАЗДАТОЧНОЙ КОРОБКИ И ТРАНСМИССИИ

    1. C278970

      С помощью 2 гаек снимите 4 шпильки раздаточной коробки и трансмиссии в блоке с главной передачей.

  2. ЗАКРЕПИТЕ РАЗДАТОЧНУЮ КОРОБКУ В СБОРЕ

    C284178
    1. Закрепите раздаточную коробку в сборе в приспособлении для переборки.

  3. СНИМИТЕ СТОПОРНЫЙ ШТИФТ КАРТЕРА РАЗДАТОЧНОЙ КОРОБКИ

    C284179
    1. Извлеките 2 стопорных штифта картера раздаточной коробки.

  4. СНИМИТЕ ПРОБКУ КАРТЕРА РАЗДАТОЧНОЙ КОРОБКИ № 1

    C130044
    1. Снимите пробку № 1 картера раздаточной коробки и прокладку.

  5. СНИМИТЕ ПРОБКУ СЛИВНОГО ОТВЕРСТИЯ РАЗДАТОЧНОЙ КОРОБКИ

    C284180
    1. С помощью торцевого гаечного ключа (10 мм) снимите пробку сливного отверстия раздаточной коробки и прокладку.

  6. СНИМИТЕ ПРОБКУ КАРТЕРА РАЗДАТОЧНОЙ КОРОБКИ № 2

    C284181
    1. С помощью торцевого шестигранного гаечного ключа на 10 мм снимите пробку картера раздаточной коробки № 2 (для наливного отверстия) и прокладку.

  7. СНИМИТЕ ПРОБКУ САПУНА КАРТЕРА РАЗДАТОЧНОЙ КОРОБКИ

    C222931
    1. С помощью молотка и зубила слегка подденьте пробку сапуна картера раздаточной коробки.

    2. С помощью отвертки слегка подденьте и снимите пробку сапуна картера раздаточной коробки.

  8. СНИМИТЕ САЛЬНИК КАРТЕРА РАЗДАТОЧНОЙ КОРОБКИ

    C278965C01

    *1

    Сальник картера раздаточной коробки

    1. С помощью SST извлеките сальник картера раздаточной коробки из картера раздаточной коробки.

      09308-00010

      Note:

      Не допускайте царапания поверхности запрессовки сальника картера раздаточной коробки.

  9. СНИМИТЕ ПРАВЫЙ САЛЬНИК КАРТЕРА РАЗДАТОЧНОЙ КОРОБКИ

    1. C301716C01

      *1

      Правый сальник картера раздаточной коробки

      С помощью SST извлеките правый сальник картера раздаточной коробки из крышки картера раздаточной коробки № 1.

      09308-00010

      Note:

      Не допускайте царапания поверхности запрессовки правого сальника картера раздаточной коробки.

  10. ПРОВЕРЬТЕ СУММАРНЫЙ ПРЕДНАТЯГ

    C130167C02

    *1

    Гайка

    1. Установите гайки на шпильки.

      Tip:

      Используйте гайки, которые использовались для установки карданного вала.

    2. С помощью динамометрического ключа измерьте суммарный преднатяг (начальный крутящий момент) в положении касания зубьев ведущей шестерни и коронной шестерни.

      Суммарный преднатяг (начальный момент)

      0,47 Н*м

      2,2 Н*м

      4,80 кгс*см

      22,43 кгс*см

      4,16 фунт-сила-дюйма

      19,47 фунт-сила-дюйма

      Tip:

      Установите динамометрический ключ, как показано на рисунке.

  11. ПРОВЕРЬТЕ БОКОВОЙ ЗАЗОР ЗУБЧАТОГО ВЕНЦА

    C158062
    1. Вставьте индикатор часового типа в отверстие под пробку картера раздаточной коробки № 2 и установите его перпендикулярно кромке зубьев коронной шестерни.

      Если величина зазора выходит за указанные пределы, выполните регулировку зазора, либо, при необходимости, произведите ремонт.

    2. Удерживая одной рукой выходной вал раздаточной коробки, повращайте другой рукой корпус крепления коронной шестерни раздаточной коробки вперед-назад и измерьте боковой зазор между коронной шестерней и ведомой шестерней.

      Номинальный зазор

      0,10-0,20 мм (0,00394-0,00787 дюйма)

      Note:

      Измерения на коронной шестерне следует проводить, по крайней мере, в 3 разных местах.

  12. КРЫШКА КАРТЕРА РАЗДАТОЧНОЙ КОРОБКИ № 1

    1. C130048

      Выверните 8 болтов.

    2. C130049

      С помощью латунного стержня и молотка снимите крышку картера раздаточной коробки № 1 с картера раздаточной коробки.

      Note:
      • Вставьте латунный стержень под ребро крышки картера раздаточной коробки № 1.

      • При снятии крышки картера раздаточной коробки № 1 соблюдайте осторожность, чтобы не поцарапать установочную поверхность.

      Tip:

      Чтобы не допустить падения крышки картера раздаточной коробки № 1, оставьте 2 болта ввернутыми на 5-6 витков резьбы.

  13. СНИМИТЕ ЗУБЧАТЫЙ ВЕНЕЦ РАЗДАТОЧНОЙ КОРОБКИ

    C130050
    1. Снимите коронную шестерню раздаточной коробки с картера раздаточной коробки.

  14. СНИМИТЕ СТОПОРНЫЙ ШТИФТ КАРТЕРА РАЗДАТОЧНОЙ КОРОБКИ

    C130051
    1. Снимите 2 стопорных штифта с картера раздаточной коробки.

  15. ПРОВЕРЬТЕ ПРЕДНАТЯГ ВЕДОМОЙ ШЕСТЕРНИ

    1. C130052C02

      *1

      Гайка

      Установите гайки на шпильки.

      Tip:

      Используйте гайки, которые использовались для установки карданного вала.

    2. С помощью динамометрического ключа измерьте преднатяг (начальный крутящий момент) ведомой шестерни.

      Преднатяг ведомой шестерни (начальный крутящий момент)

      0,24 Н*м

      1,39 Н*м

      2,45 кгс*см

      14,17 кгс*см

      2,13 фунт-сила-дюйма

      12,30 фунт-сила-дюйма

      Tip:

      Установите динамометрический ключ, как показано на рисунке.

  16. СНИМИТЕ ЗАДНИЙ ВЫХОДНОЙ ВАЛ РАЗДАТОЧНОЙ КОРОБКИ В СБОРЕ

    C130053
    1. Выверните 5 болтов и снимите задний выходной вал раздаточной коробки в сборе с картера раздаточной коробки.

    2. Зажмите задний выходной вал раздаточной коробки в сборе в тисках между алюминиевыми пластинами.

      Note:

      Не затягивайте тиски слишком сильно.

    3. C130056N07

      С помощью SST и молотка раскерните гайку раздаточного механизма.

      09930-00010

      Note:
      • SST следует обращать конической поверхностью к валу.

      • Не стачивайте наконечник SST с помощью шлифовального станка или другого устройства.

      • Перед снятием гайки шестерни раздаточной коробки полностью освободите ее накерненную часть.

      • Старайтесь не повредить резьбу выходного вала.

    4. С помощью торцевого ключа на 30 мм отверните гайку шестерни раздаточной коробки.

  17. СНИМИТЕ ВЕДОМУЮ ШЕСТЕРНЮ РАЗДАТОЧНОЙ КОРОБКИ

    1. для моделей без омывателя:

      1. C109627N10

        С помощью SST и пресса извлеките ведомую шестерню раздаточной коробки из заднего выходного вала раздаточной коробки в сборе.

        09950-00020

        09950-60010

        09951-00240

        09950-70010

        09951-07100

        Note:

        Обеспечьте опору подшипника раздаточной коробки, как показано на рисунке, чтобы не допустить нагрузки на наружное кольцо.

    2. С шайбой:

      1. C109627N10

        С помощью SST и пресса извлеките ведомую шестерню раздаточной коробки и шайбу из заднего выходного вала раздаточной коробки в сборе.

        09950-00020

        09950-60010

        09951-00240

        09950-70010

        09951-07100

        Note:

        Обеспечьте опору подшипника раздаточной коробки, как показано на рисунке, чтобы не допустить нагрузки на наружное кольцо.

  18. СНИМИТЕ ПЫЛЕОТРАЖАТЕЛЬ ЗАДНЕГО ВЫХОДНОГО ВАЛА РАЗДАТОЧНОЙ КОРОБКИ

    1. C109629N10

      С помощью SST и пресса извлеките пылеотражатель заднего выходного вала раздаточной коробки из заднего выходного вала раздаточной коробки в сборе.

      09950-00020

  19. СНИМИТЕ ПОДШИПНИК РАЗДАТОЧНОЙ КОРОБКИ В СБОРЕ

    C109628E02
    1. С помощью SST и пресса извлеките подшипник раздаточной коробки в сборе из ведомой шестерни раздаточной коробки.

      09950-00020

      09950-60010

      09951-00410

      09950-70010

      09951-07100

      Note:

      Поддерживайте передний подшипник ведомой шестерни раздаточной коробки, как показано на рисунке, чтобы не допустить нагрузки на наружное кольцо.

    2. C109630

      Снимите кольцевое уплотнение с подшипника раздаточной коробки в сборе.

  20. СНИМИТЕ ШАЙБУ ВЫХОДНОГО ВАЛА РАЗДАТОЧНОЙ КОРОБКИ

    C110759
    1. Снимите шайбу выходного вала раздаточной коробки с ведомой шестерни раздаточной коробки.

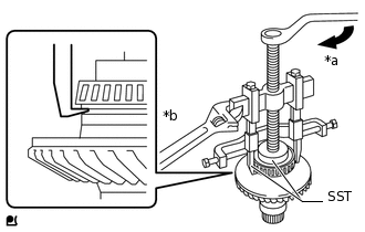
  21. СНИМИТЕ ПРАВЫЙ ПОДШИПНИК КОРПУСА КРЕПЛЕНИЯ КОРОННОЙ ШЕСТЕРНИ

    C269126C02

    *a

    Поверните

    *b

    Удерживайте

    1. Используя SST, извлеките правый подшипник корпуса крепления коронной шестерни (внутреннее кольцо) из корпуса крепления коронной шестерни раздаточной коробки.

      09950-40011

      09951-04010

      09952-04010

      09953-04030

      09954-04010

      09955-04061

      09957-04010

      09958-04011

      09950-60010

      09951-00540

      Note:
      • Нанесите смазочный материал на резьбу и конец SST.

      • Не допускайте повреждения обоймы наружного кольца правого подшипника корпуса крепления коронной шестерни (внутреннего кольца) (при повторном использовании подшипника).

      • Нанесите идентификационные метки на левый и правый подшипники корпуса крепления коронной шестерни, чтобы не перепутать их (с тыльной стороны, со стороны зубьев). Затем храните их отдельно (в случае повторного использования подшипников).

    2. C156143C03

      *1

      Шайба № 2 корпуса крепления коронной шестерни раздаточной коробки

      *2

      Правый подшипник корпуса крепления коронной шестерни (наружное кольцо)

      С помощью SST и молотка снимите шайбу корпуса крепления коронной шестерни раздаточной коробки № 2 и правый подшипник корпуса крепления коронной шестерни (наружное кольцо) из крышки картера раздаточной коробки № 1.

      09310-35010

  22. СНИМИТЕ ЛЕВЫЙ ПОДШИПНИК КОРПУСА КРЕПЛЕНИЯ КОРОННОЙ ШЕСТЕРНИ

    C269127C02

    *a

    Поверните

    *b

    Удерживайте

    1. Используя SST, извлеките левый подшипник корпуса крепления коронной шестерни (внутреннее кольцо) из корпуса крепления коронной шестерни раздаточной коробки.

      09950-00020

      09950-00030

      Note:
      • Нанесите смазочный материал на резьбу и конец SST.

      • Не допускайте повреждения обоймы левого подшипника корпуса крепления коронной шестерни (внутреннего кольца) (при повторном использовании подшипника).

      • Нанесите идентификационные метки на левый и правый подшипники корпуса крепления коронной шестерни, чтобы не перепутать их (с тыльной стороны, со стороны зубьев). Затем храните их отдельно (в случае повторного использования подшипников).

    2. C284182C01

      *1

      Шайба № 1 корпуса крепления коронной шестерни

      *2

      Левый подшипник корпуса крепления коронной шестерни (наружное кольцо)

      С помощью SST и молотка снимите шайбу корпуса крепления коронной шестерни № 1 и левый подшипник корпуса крепления коронной шестерни (наружное кольцо) из картера раздаточной коробки.

      09636-20010

  23. СНИМИТЕ ПРУЖИННОЕ СТОПОРНОЕ КОЛЬЦО ВАЛА

    C109636
    1. С помощью съемника стопорных колец снимите пружинное стопорное кольцо вала.

  24. СНИМИТЕ КОРПУС КРЕПЛЕНИЯ ЗУБЧАТОГО ВЕНЦА РАЗДАТОЧНОЙ КОРОБКИ

    C109637N10
    1. С помощью SST и пресса извлеките корпус крепления коронной шестерни раздаточной коробки из коронной шестерни раздаточной коробки.

      09950-60010

      09951-00400

  25. СНИМИТЕ МАСЛООТРАЖАТЕЛЬ САПУНА

    C284183
    1. Выверните 2 болта и снимите маслоотражатель сапуна с картера раздаточной коробки.