СИСТЕМА ИЗМЕРИТЕЛЬНЫХ ПРИБОРОВ И ИНДИКАТОРОВ, диагностический DTC: B1500

Код DTC Наименование DTC
B1500 Обнаружен обрыв цепи датчика уровня топлива

ОПИСАНИЕ

Этот DTC сохраняется, когда щиток приборов обнаруживает неисправность в датчике уровня топлива.

№ DTC

Условие обнаружения DTC

Неисправный участок

B1500

Щиток приборов обнаружил неисправность в датчике уровня топлива

  • Жгут проводов или разъем

  • Щиток приборов в сборе

  • Датчик уровня топлива в сборе

  • Датчик уровня топлива № 2 в сборе

  • Топливозаборник с бензонасосом и датчиком уровня топлива

  • Возвратная трубка топливного бака

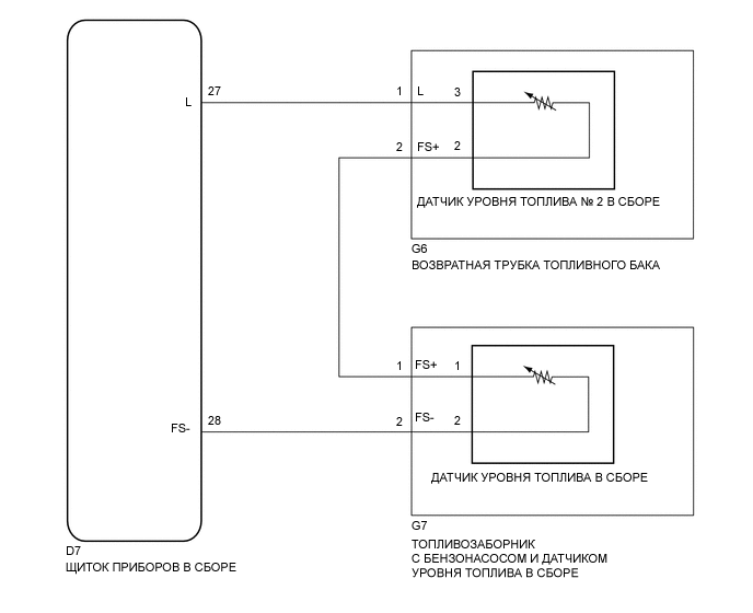
СХЕМА ЭЛЕКТРИЧЕСКИХ СОЕДИНЕНИЙ

E246788E07

ПОРЯДОК ВЫПОЛНЕНИЯ

  1. СНИМИТЕ ПОКАЗАНИЯ GTS (УРОВЕНЬ ТОПЛИВА)

    1. Подключите GTS к DLC3.

    2. Установите замок зажигания в положение ON (ВКЛ).

    3. Включите GTS.

    4. Войдите в следующие меню: Body Electrical / Combination Meter / Data List.

    5. Снимите показания параметров в режиме Data List, отображаемые на дисплее диагностического прибора.

      Table 1. Щиток приборов

      Параметр / Устройство

      Измеряемая величина / диапазон измерения

      Нормальное состояние

      Замечание по диагностике

      Fuel Input

      Входной сигнал датчика уровня топлива

      Мин.: 0

      Макс.: 127,5

      Уровень входного сигнала датчика топлива

      Блок: л

      OK

      Сигнал уровня топлива, отображающийся на диагностическом приборе, почти совпадает с показаниями указателя уровня топлива.

  2. ПРОВЕРЬТЕ ДАТЧИК УРОВНЯ ТОПЛИВА В СБОРЕ

    1. Снимите датчик уровня топлива (см. стр.Щелкните по следующей ссылке).

    2. Проверьте датчик уровня топлива в сборе Щелкните по следующей ссылке.

    ЗАМЕНИТЕ ДАТЧИК УРОВНЯ ТОПЛИВА В СБОРЕ

  3. ПРОВЕРЬТЕ ТОПЛИВОЗАБОРНИК С НАСОСОМ И ДАТЧИКОМ УРОВНЯ ТОПЛИВА В СБОРЕ

    U190431E02
    1. Снимите топливозаборник с бензонасосом и датчиком уровня топлива в сборе (см. стр.Щелкните по следующей ссылке).

    2. Измерьте сопротивление в соответствии со значениями, приведенными в таблице ниже.

      Номинальное сопротивление

      Разъем для подключения портативного диагностического прибора

      Условие

      Заданные условия

      G7-1 (FS+) - 1

      Всегда

      Менее 1 Ом

      G7-2 (FS-) - 2

      Всегда

      Менее 1 Ом

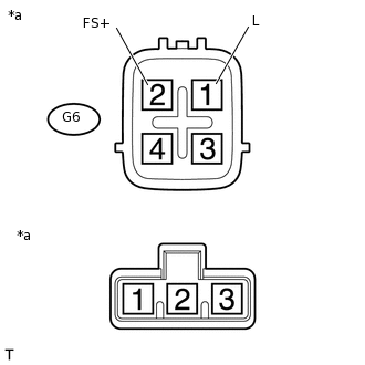
    Table 2. Обозначения на рисунке

    *a

    Устройство с неподсоединенным жгутом проводов

    (Топливозаборник в сборе с бензонасосом и датчиком уровня топлива)

    ЗАМЕНИТЕ ТОПЛИВОЗАБОРНИК С НАСОСОМ И ДАТЧИКОМ УРОВНЯ ТОПЛИВА В СБОРЕ

  4. УСТАНОВИТЕ ДАТЧИК УРОВНЯ ТОПЛИВА № 2 В СБОРЕ

    1. Снимите датчик уровня топлива № 2 (см. стр.Щелкните по следующей ссылке).

    2. Проверьте № 2 уровня топлива в сборе Щелкните по следующей ссылке.

    ЗАМЕНИТЕ ДАТЧИК УРОВНЯ ТОПЛИВА № 2 В СБОРЕ

  5. ПРОВЕРЬТЕ ВОЗВРАТНЫЙ ПАТРУБОК ТОПЛИВНОГО БАКА

    U190432E02
    1. Снимите возвратный патрубок топливного бака в сборе (см. стр.Щелкните по следующей ссылке).

    2. Измерьте сопротивление в соответствии со значениями, приведенными в таблице ниже.

      Номинальное сопротивление

      Разъем для подключения портативного диагностического прибора

      Условие

      Заданные условия

      G6-1 (L) - 3

      Всегда

      Менее 1 Ом

      G6-2 (FS+) - 2

      Всегда

      Менее 1 Ом

    Table 3. Обозначения на рисунке

    *a

    Устройство с неподсоединенным жгутом проводов

    (Возвратная трубка топливного бака)

    ЗАМЕНИТЕ ВОЗВРАТНЫЙ ПАТРУБОК ТОПЛИВНОГО БАКА

  6. ПРОВЕРЬТЕ ЖГУТ ПРОВОДОВ И РАЗЪЕМ (ЩИТОК ПРИБОРОВ В СБОРЕ – ТОПЛИВОЗАБОРНИК С БЕНЗОНАСОСОМ И ДАТЧИКОМ УРОВНЯ ТОПЛИВА В СБОРЕ)

    1. Отсоедините разъем D7 щитка приборов.

    2. Отсоедините разъем G7 топливозаборника с насосом и датчиком уровня топлива в сборе.

    3. Измерьте сопротивление в соответствии со значениями, приведенными в таблице ниже.

      Номинальное сопротивление (при проверке на обрыв)

      Разъем для подключения портативного диагностического прибора

      Условие

      Заданные условия

      D7-28 (FS-) - G7-2 (FS-)

      Всегда

      Менее 1 Ом

      Номинальное сопротивление (при проверке на короткое замыкание)

      Разъем для подключения портативного диагностического прибора

      Условие

      Заданные условия

      D7-28 (FS-) или G7-2 (FS-) - масса

      Всегда

      10 кОм или более

    ОТРЕМОНТИРУЙТЕ ИЛИ ЗАМЕНИТЕ ЖГУТ ПРОВОДОВ ИЛИ РАЗЪЕМ

  7. ПРОВЕРЬТЕ ЖГУТ ПРОВОДОВ И РАЗЪЕМ (ТОПЛИВОЗАБОРНИК С БЕНЗОНАСОСОМ И ДАТЧИКОМ УРОВНЯ ТОПЛИВА - ВОЗВРАТНАЯ ТРУБКА ТОПЛИВНОГО БАКА)

    1. Отсоедините разъем G7 топливозаборника с насосом и датчиком уровня топлива в сборе.

    2. Отсоедините разъем G6 возвратного патрубка топливного бака в сборе.

    3. Измерьте сопротивление в соответствии со значениями, приведенными в таблице ниже.

      Номинальное сопротивление (при проверке на обрыв)

      Разъем для подключения портативного диагностического прибора

      Условие

      Заданные условия

      D7-1 (FS+) - G6-2 (FS+)

      Всегда

      Менее 1 Ом

      Номинальное сопротивление (при проверке на короткое замыкание)

      Разъем для подключения портативного диагностического прибора

      Условие

      Заданные условия

      D7-1 (FS+) или G6-2 (FS+) - масса

      Всегда

      10 кОм или более

    ОТРЕМОНТИРУЙТЕ ИЛИ ЗАМЕНИТЕ ЖГУТ ПРОВОДОВ ИЛИ РАЗЪЕМ

  8. ПРОВЕРЬТЕ ЖГУТ ПРОВОДОВ И РАЗЪЕМ (ЩИТОК ПРИБОРОВ – ВОЗВРАТНАЯ ТРУБКА ТОПЛИВНОГО БАКА)

    1. Отсоедините разъем D7 щитка приборов.

    2. Отсоедините разъем G6 возвратного патрубка топливного бака в сборе.

    3. Измерьте сопротивление в соответствии со значениями, приведенными в таблице ниже.

      Номинальное сопротивление (при проверке на обрыв)

      Разъем для подключения портативного диагностического прибора

      Условие

      Заданные условия

      D7-27 (L) - G6-1 (L)

      Всегда

      Менее 1 Ом

      Номинальное сопротивление (при проверке на короткое замыкание)

      Разъем для подключения портативного диагностического прибора

      Условие

      Заданные условия

      D7-27 (L) или G6-1 (L) - масса

      Всегда

      10 кОм или более

    ОТРЕМОНТИРУЙТЕ ИЛИ ЗАМЕНИТЕ ЖГУТ ПРОВОДОВ ИЛИ РАЗЪЕМ