СТАРТЕР ПОВТОРНАЯ СБОРКА


  1. INSTALL PLANETARY GEAR


    1. B007QQLE03
      Text in Illustration
      *a Protrusion
      *b Cutout
      B007USN High-temperature Grease

      Apply high-temperature grease to the planetary gears, pin parts of the planetary shaft and inside of plate.

    2. Install the plate washer and 3 planetary gears.

    3. Align the cutout of the plate with the protrusion inside the starter center bearing clutch sub-assembly, and install the plate.

  2. INSTALL STARTER CENTER BEARING CLUTCH SUB-ASSEMBLY


    1. B007QL0

      Apply high-temperature grease to the starter drive lever.

      Text in Illustration
      B007USN High-temperature Grease
    2. Install the starter drive lever to the starter center bearing clutch sub-assembly.

    3. B007QXBE02
      Text in Illustration
      *a Cutout
      *b Protrusion

      Align the protrusion of the starter center bearing clutch sub-assembly with the cutout of the starter drive housing assembly and install the starter drive lever and starter center bearing clutch sub-assembly.

  3. INSTALL STARTER ARMATURE ASSEMBLY


    1. Install the starter armature assembly to the starter yoke assembly.

  4. INSTALL STARTER BRUSH HOLDER ASSEMBLY


    1. B007RX3E03
      Text in Illustration
      *1 O-Ring

      Install 2 new O-rings to the starter yoke assembly.

    2. Install the starter brush holder assembly to the starter armature assembly.

    3. Install the 4 starter brushes to the starter brush holder assembly.


      1. B007W5C

        Using a screwdriver, pull back the spring.

        Note

        Check that the positive (+) lead wires are not grounded.

      2. Install the brush to the starter brush holder assembly.

  5. INSTALL STARTER COMMUTATOR END FRAME ASSEMBLY


    1. B007UYFE01
      Text in Illustration
      *1 Starter Commutator End Frame Assembly
      B007USN Spindle Oil

      Apply spindle oil to the bearing of the starter commutator end frame assembly.

    2. Install the starter commutator end frame assembly with the 2 screws.

      Torque:
      1.5 N*m  { 15 kgf*cm, 13 in.*lbf }
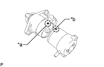
  6. INSTALL STARTER YOKE ASSEMBLY


    1. B007SDUE02
      Text in Illustration
      *a Protrusion
      *b Cutout

      Align the cutout of the starter yoke assembly with the protrusion of the starter center bearing clutch sub-assembly.

    2. B007SQF

      Install the starter yoke assembly together with the starter armature assembly with the 2 through bolts.

      Torque:
      5.9 N*m  { 60 kgf*cm, 52 in.*lbf }
  7. INSTALL MAGNET STARTER SWITCH ASSEMBLY


    1. Install the plunger cover to the magnet starter switch assembly.

    2. B007W9V

      Attach the plunger of the magnet starter switch assembly to the starter drive lever from the upper side.

    3. Install the magnet starter switch assembly with the 2 nuts.

      Torque:
      8.3 N*m  { 85 kgf*cm, 73 in.*lbf }
    4. Connect the lead wire to terminal C with the nut.

      Torque:
      9.8 N*m  { 100 kgf*cm, 87 in.*lbf }