CAN COMMUNICATION SYSTEM

Figure 1. V Bus (LHD Models without Network Gateway ECU)

A01O6YRE03
A01O7DQE01

Figure 2. V Bus (LHD Models with Network Gateway ECU)

A01O7DJE01
A01O7A0E01

Figure 3. Sub Bus 1 (LHD Models with Seat Position Memory Function, Power Tilt and Power Telescopic System or Triple Beam Headlight)

A01O7CTE03

Figure 4. Sub Bus 2 (LHD Models with Network Gateway ECU)

A01O74DE01

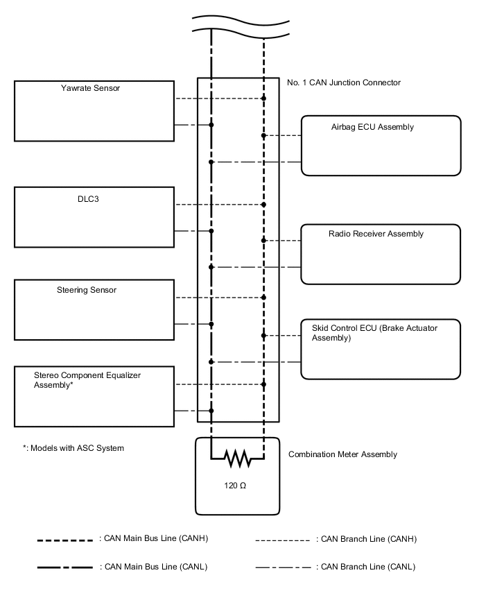
Figure 5. Sub Bus 13 (LHD Models with Pre-crash Safety System)

A01O6X8E01

Figure 6. V Bus (RHD Models without Network Gateway ECU)

A01O6WPE01
A01O7CRE01

Figure 7. V Bus (RHD Models with Network Gateway ECU)

A01O7BGE01
A01O7HIE01

Figure 8. Sub Bus 1 (RHD Models with Seat Position Memory Function, Power Tilt and Power Telescopic System or Triple Beam Headlight)

A01O7CTE02

Figure 9. Sub Bus 2 (RHD Models with Network Gateway ECU)

A01O7DYE01

Figure 10. Sub Bus 13 (RHD Models with Pre-crash Safety System)

A01O6X8E01