ЗАМОК ЗАЖИГАНИЯ ПРОВЕРКА


  1. INSPECT IGNITION SWITCH


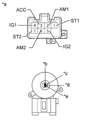
    1. B007PAOE02
      Text in Illustration
      *a

      Component without harness connected

      (Ignition Switch)

      *b LOCK
      *c ACC
      *d ON
      *e START

      Measure the resistance according to the value(s) in the table below.

      Standard Resistance
      Tester Connection Switch Condition Specified Condition
      Between all terminals LOCK 10 kΩ or higher
      2 (AM1) - 3 (ACC) ACC Below 1 Ω

      2 (AM1) - 3 (ACC)

      2 (AM1) - 4 (IG1)

      5 (IG2) - 6 (AM2)

      ON Below 1 Ω

      1(ST1) - 2 (AM1)

      1 (ST1) - 4 (IG1)

      5 (IG2) - 6 (AM2)

      5 (IG2) - 7 (ST2)

      START Below 1 Ω

      If the result is not as specified, replace the ignition switch.