СИСТЕМА SFI (для моделей с модулем насоса адсорбера), Diagnostic DTC:P0136, P0137, P0138, P0139, P013A, P013C, P0156, P0157, P0158, P0159

Код DTC Наименование DTC
P0136 Цепь кислородного датчика (ряд 1, датчик 2)
P0137 Низкое напряжение в цепи кислородного датчика (ряд 1, датчик 2)
P0138 Высокое напряжение в цепи кислородного датчика (ряд 1, датчик 2)
P0139 Низкое быстродействие цепи кислородного датчика (ряд 1, датчик 2)
P013A Замедленная реакция кислородного датчика при переходе от обогащенной к обедненной смеси, ряд 1, датчик 2
P013C Замедленная реакция кислородного датчика при переходе от обогащенной к обедненной смеси, ряд 2, датчик 2
P0156 Цепь кислородного датчика (ряд 2, датчик 2)
P0157 Низкое напряжение в цепи кислородного датчика (датчик 2 ряда 2)
P0158 Высокое напряжение в цепи кислородного датчика (датчик 2 ряда 2)
P0159 Низкое быстродействие цепи кислородного датчика (ряд 2, датчик 2)

ОПИСАНИЕ

Для достижения высокой степени очистки отработавших газов от оксида углерода (CO), углеводорода (CH) и оксида азота (NOх) применяется TWC (трехкомпонентный каталитический нейтрализатор). Для наиболее эффективного использования TWC необходимо точно регулировать топливовоздушную смесь, так, чтобы ее состав постоянно соответствовал стехиометрическому соотношению воздух-топливо. Чтобы ECM мог более точно рассчитать соотношение воздух-топливо, применяется подогреваемый кислородный датчик.

Подогреваемый кислородный датчик расположен после TWC и определяет концентрацию кислорода в отработавших газах. Нераздельная конструкция датчика и подогревателя, подогревающего чувствительную часть, позволяет определять концентрацию кислорода даже при очень низких объемах воздуха на впуске (низкая температура отработавших газов).

Когда соотношение воздух-топливо становится обедненным, концентрация кислорода в отработавших газах возрастает. Подогреваемый кислородный датчик информирует ECM об обеднении топливовоздушной смеси после прохождения через TWC (выдавая низкое напряжение, менее 0,45 В).

И наоборот, когда соотношение воздух-топливо обогащается и превышает стехиометрическое соотношение, концентрация кислорода в отработавших газах уменьшается. Подогреваемый кислородный датчик информирует ECM об обогащении топливовоздушной смеси после прохождения через TWC (выдавая низкое напряжение, более 0,45 В). Подогреваемый кислородный датчик обладает свойством резко изменять выходное напряжение, когда соотношение воздух-топливо близко к стехиометрическому.

На основании дополнительной информации от подогреваемого кислородного датчика блок ECM определяет, каково соотношение воздух-топливо после прохождения через TWC, и соответствующим образом регулирует продолжительность впрыска топлива. Tаким образом, если подогреваемый кислородный датчик не работает должным образом вследствие внутренних неисправностей, ECM не может компенсировать отклонения от исходного состава топливовоздушной смеси.

B00667JE05
№ DTC Неисправность Условие обнаружения DTC Неисправный участок MIL Память
P0136 Цепь кислородного датчика (ряд 1, датчик 2)

Выполняется любое из следующих условий:


  • Ненадлежащее выходное напряжение:


    • Во время активной диагностики соотношения воздух-топливо напряжение подогреваемого кислородного датчика не повышается до величины 0,66 В в течение определенного времени (логика диагностирования за 2 поездки).

  • Низкий импеданс:


    • Импеданс датчика составляет менее 5 Ом в течение 30 с или более, если ECM считает, что датчик прогревается и работает нормально (логика диагностирования за 2 поездки).


  • Цепь подогреваемого кислородного датчика (ряд 1, датчик 2)

  • Подогреваемый кислородный датчик (ряд 1, датчик 2)

  • Датчик состава топливовоздушной смеси (ряд 1, датчик 1)

  • Утечки газов из системы выпуска отработавших газов

  • Давление в топливной системе

  • Топливная система

  • Клапан и шланг системы принудительной вентиляции картера

  • Система забора воздуха

Загорается Код DTC сохраняется
P0137 Низкое напряжение в цепи кислородного датчика (ряд 1, датчик 2)

Выполняется любое из следующих условий:


  • Низкое напряжение (обрыв):


    • Во время активной диагностики соотношения воздух-топливо следующие условия (a) и (b) выполняются в течение определенного периода времени (логика диагностирования за 2 поездки):

    • (a) Напряжение подогреваемого кислородного датчика составляет менее 0,21 В

    • (b) Задано обогащенное соотношение воздух-топливо

  • Высокий импеданс:


    • Импеданс датчика составляет более 15 кОм в течение 90 с или более, если ECM считает, что датчик прогревается и работает нормально (логика диагностирования за 2 поездки).


  • Цепь подогреваемого кислородного датчика (ряд 1, датчик 2)

  • Подогреваемый кислородный датчик (ряд 1, датчик 2)

  • Датчик состава топливовоздушной смеси (ряд 1, датчик 1)

  • Утечки газов из системы выпуска отработавших газов

Загорается Код DTC сохраняется
P0138 Высокое напряжение в цепи кислородного датчика (ряд 1, датчик 2)
  • Чрезмерно высокое напряжение (короткое замыкание):


    • Выходное напряжение подогреваемого кислородного датчика превышает 1,2 В в течение 10 с или более (логика диагностирования за 2 поездки).


  • Цепь подогреваемого кислородного датчика (ряд 1, датчик 2)

  • Подогреваемый кислородный датчик (ряд 1, датчик 2)

  • ECM

Загорается Код DTC сохраняется
P0139 Низкое быстродействие цепи кислородного датчика (ряд 1, датчик 2) Напряжение подогреваемого кислородного датчика (датчик 2 ряда 1) не падает ниже 0,2 В сразу после прекращения подачи топлива (логика диагностирования за 2 поездки).
  • Цепь подогреваемого кислородного датчика (ряд 1, датчик 2)

  • Подогреваемый кислородный датчик (ряд 1, датчик 2)

  • Утечки газов из системы выпуска отработавших газов

Загорается Код DTC сохраняется
P013A Замедленная реакция кислородного датчика при переходе от обогащенной к обедненной смеси, ряд 1, датчик 2 Напряжение подогреваемого кислородного датчика (ряд 1, датчик 2) не падает с 0,35 В до 0,2 В сразу после прекращения подачи топлива (логика диагностирования за 1 поездку)
  • Цепь подогреваемого кислородного датчика (ряд 1, датчик 2)

  • Подогреваемый кислородный датчик (ряд 1, датчик 2)

  • Утечки газов из системы выпуска отработавших газов

Загорается Код DTC сохраняется
P013C Замедленная реакция кислородного датчика при переходе от обогащенной к обедненной смеси, ряд 2, датчик 2 Напряжение подогреваемого кислородного датчика (ряд 2, датчик 2) не падает с 0,35 В до 0,2 В сразу после прекращения подачи топлива (логика диагностирования за 1 поездку)
  • Цепь подогреваемого кислородного датчика (ряд 2, датчик 2)

  • Подогреваемый кислородный датчик (датчик 2 ряда 2)

  • Утечки газов из системы выпуска отработавших газов

Загорается Код DTC сохраняется
P0156 Цепь кислородного датчика (ряд 2, датчик 2)

Выполняется любое из следующих условий:


  • Ненадлежащее выходное напряжение:


    • Во время активной диагностики соотношения воздух-топливо напряжение подогреваемого кислородного датчика не повышается до величины 0,66 В в течение определенного времени (логика диагностирования за 2 поездки).

  • Низкий импеданс:


    • Импеданс датчика составляет менее 5 Ом в течение 30 с или более, если ECM считает, что датчик прогревается и работает нормально (логика диагностирования за 2 поездки).


  • Цепь подогреваемого кислородного датчика (ряд 2, датчик 2)

  • Подогреваемый кислородный датчик (датчик 2 ряда 2)

  • Датчик состава топливовоздушной смеси (ряд 2, датчик 1)

  • Утечки газов из системы выпуска отработавших газов

  • Давление в топливной системе

  • Топливная система

  • Клапан и шланг системы принудительной вентиляции картера

  • Система забора воздуха

Загорается Код DTC сохраняется
P0157 Низкое напряжение в цепи кислородного датчика (датчик 2 ряда 2)

Выполняется любое из следующих условий:


  • Низкое напряжение (обрыв):


    • Во время активной диагностики соотношения воздух-топливо следующие условия (a) и (b) выполняются в течение определенного периода времени (логика диагностирования за 2 поездки):

    • (a) Напряжение подогреваемого кислородного датчика составляет менее 0,21 В

    • (b) Задано обогащенное соотношение воздух-топливо

  • Высокий импеданс:


    • Импеданс датчика составляет более 15 кОм в течение 90 с или более, если ECM считает, что датчик прогревается и работает нормально (логика диагностирования за 2 поездки).


  • Цепь подогреваемого кислородного датчика (ряд 2, датчик 2)

  • Подогреваемый кислородный датчик (датчик 2 ряда 2)

  • Датчик состава топливовоздушной смеси (ряд 2, датчик 1)

  • Утечки газов из системы выпуска отработавших газов

Загорается Код DTC сохраняется
P0158 Высокое напряжение в цепи кислородного датчика (датчик 2 ряда 2)
  • Чрезмерно высокое напряжение (короткое замыкание):


    • Выходное напряжение подогреваемого кислородного датчика превышает 1,2 В в течение 10 с или более (логика диагностирования за 2 поездки).


  • Цепь подогреваемого кислородного датчика (ряд 2, датчик 2)

  • Подогреваемый кислородный датчик (датчик 2 ряда 2)

  • ECM

Загорается Код DTC сохраняется
P0159 Низкое быстродействие цепи кислородного датчика (ряд 2, датчик 2) Напряжение подогреваемого кислородного датчика (датчик 2 ряда 2) не падает ниже 0,2 В сразу после прекращения подачи топлива (логика диагностирования за 2 поездки).
  • Цепь подогреваемого кислородного датчика (ряд 2, датчик 2)

  • Подогреваемый кислородный датчик (датчик 2 ряда 2)

  • Утечки газов из системы выпуска отработавших газов

Загорается Код DTC сохраняется

ОПИСАНИЕ РАБОТЫ СИСТЕМЫ КОНТРОЛЯ


  1. Активное регулирование соотношения воздух-топливо

    Обычно ECM выполняет регулирование соотношение воздух-топливо с обратной связью так, что выходное напряжение датчика состава топливовоздушной смеси указывает уровень соотношения воздух-топливо, приблизительно равный стехиометрическому. Помимо обычных средств управления соотношением воздух-топливо, данный автомобиль оборудован средствами активного управления. ECM выполняет активное управление соотношением воздух-топливо для определения неисправностей, связанных с каким-либо износом трехкомпонентного каталитического нейтрализатора (TWC) и подогреваемого кислородного датчика (см. рис. ниже).

    Активное управление соотношением воздух-топливо выполняется в течение приблизительно 15–20 секунд во время движения при прогретом двигателе. Во время активного управления соотношением воздух-топливо ЕСМ принудительно регулирует соотношение так, чтобы оно было обогащенным или обедненным. Если ЕСМ обнаруживает неисправность, регистрируется DTC.

  2. Ненормальное выходное напряжение подогреваемого кислородного датчика (DTC P0136 и P0156)

    Во время активного управления соотношением воздух-топливо ЕСМ принудительно регулирует соотношение так, чтобы оно было обогащенным или обедненным. Если датчик не работает должным образом, колебания выходного напряжения незначитальны. Например, если во время активного контроля соотношения воздух-топливо напряжение подогреваемого кислородного датчика не растет до 0,66 В, модуль ECM определяет, что выходное напряжение датчика не соответствует номинальному диапазону, и регистрирует код DTC P0136 или P0156.

    B0067R6E66
  3. Обрыв в цепи подогреваемого кислородного датчика (коды DTC P0137 и P0157)

    Во время активного управления соотношением воздух-топливо ECM вычисляет способность сохранять кислород (OSC)* трехкомпонентного каталитического нейтрализатора (TWC), принудительно регулируя соотношение воздух-топливо так, чтобы оно было обогащенным или обедненным.

    Если в цепи подогреваемого кислородного датчика имеется обрыв или если выходное напряжение датчика значительно снижается, способность сохранять кислород чрезмерно завышено. Выходное напряжение подогреваемого кислородного датчика не меняется, даже если ECM продолжает принудительно регулировать соотношение воздух-топливо так, чтобы оно было обогащенным или обедненным.

    Если во время активного управления соотношением воздух-топливо заданное соотношение является обогащенным, но выходное напряжение подогреваемого кислородного датчика составляет менее 0,21 В (обеднение), ECM рассматривает это как чрезмерно низкое выходное напряжение датчика и регистрирует DTC P0137 или P0157.

    Tech Tips

    *: TWC имеет способность сохранять кислород. Способности нейтрализатора сохранять кислород и очищать отработавшие газы взаимосвязаны. ECM определяет износ каталитического нейтрализатора на основании вычисленного значения способности сохранять кислород.

    Нажмите здесь Click here

    B00650VE26
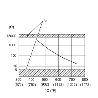
  4. Высокий или низкий импеданс подогреваемого кислородного датчика (DTC P0136 и P0156 или P0137 и P0157)

    B0067LEE02
    Зависимость сопротивления от температуры элемента
    *a Зона регистрации DTC

    При нормальном регулировании соотношения воздух-топливо в режиме обратной связи концентрация кислорода в отработавших газах немного изменяется. Чтобы постоянно контролировать незначительные колебания сигнала подогреваемого кислородного датчика во время работы двигателя, ЕСМ измеряет импеданс* датчика. ECM определяет неисправность датчика, если измеренное значение импеданса выходит за пределы диапазона допустимых значений.

    *: Действующее сопротивление переменному току.

    Tech Tips


    • Импеданс невозможно измерить с помощью омметра.

    • DTC P0136 или P0156 указывает на износ подогреваемого кислородного датчика. ECM регистрирует коды DTC посредством вычисления импеданса датчика, когда стандартные условия включения удовлетворены (2 поездки).

    • DTC P0137 или P0157 указывает на обрыв или короткое замыкание в цепи подогреваемого кислородного датчика (2 поездки). ECM регистрирует коды DTC, если импеданс датчика превышает пороговое значение 15 кОм.

  5. Крайне высокое выходное напряжение подогреваемого кислородного датчика (коды DTC P0138 и P0158)

    ECM постоянно контролирует выходное напряжение подогреваемого кислородного датчика во время работы двигателя.

    DTC P0138 или P0158 регистрируется, если выходное напряжение подогреваемого кислородного датчика не менее 1,2 В в течение 10 секунд и более.

  6. Выходное напряжение подогреваемого кислородного датчика во время отсечки топлива не соответствует норме (коды DTC P0139 и P0159)

    Выходное напряжение датчика падает ниже 0,2 В (чрезмерно обедненное состояние) сразу после замедления автомобиля и прекращения подачи топлива. Если напряжение не падает ниже 0,2 В, когда накопленная масса воздуха превышает 15,5 г, система определяет это как сигнал, свидетельствующий об износе датчика, включает контрольную лампу MIL и регистрирует код DTC.

  7. Выходное напряжение подогреваемого кислородного датчика во время прекращения подачи топлива при обогащенной смеси не соответствует норме (DTC P013A и P013C)

    Если выходное напряжение датчика не падает с 0,35 В до 0,2 В сразу после замедления автомобиля и прекращения подачи топлива, ECM включает контрольную лампу MIL и регистрирует код DTC.

ПРИНЦИП РАБОТЫ СИСТЕМЫ КОНТРОЛЯ

Требуемые датчики/устройства (основные) Подогреваемый кислородный датчик (датчик 2)
Требуемые датчики/устройства (связанные)

Датчик положения коленчатого вала

Датчик температуры охлаждающей жидкости

Датчик массового расхода воздуха в сборе

Датчик положения дроссельной заслонки

Датчик состава топливовоздушной смеси

Продолжительность работы

Один раз в течение одной поездки: Обнаружение активного управления соотношением воздух-топливо, не соответствующее норме напряжение подогреваемого кислородного датчика во время прекращения подачи топлива.

Продолжается: Прочие

ТИПИЧНЫЕ УСЛОВИЯ СРАБАТЫВАНИЯ

P0136, P0137, P0156 и P0157: Контроль напряжения подогреваемого кислородного датчика (не соответствующее норме напряжение, низкое напряжение)
Напряжение аккумуляторной батареи 11 В или выше
Температура воздуха на впуске Не менее -10°C (14°F)
Температура охлаждающей жидкости Не менее 75°C (167°F)
Атмосферное давление 76 кПа(abs) [570 мм рт. ст.(abs)] или выше
Холостой ход Выкл
Частота вращения коленчатого вала двигателя Менее 3200 об/мин
Состояние датчика состава топливовоздушной смеси Задействован
Состояние топливной системы Замкнутый контур
Нагрузка двигателя 10% или выше и менее 75%
Положение рычага переключения передач 4-я и выше
P0136 и P0156: Проверка проводимости цепи подогреваемого кислородного датчика (короткое замыкание)
Напряжение аккумуляторной батареи 11 В или выше
Расчетная температура подогреваемого кислородного датчика Менее 700°C (1292°F)
P0137 и P0157: Проверка проводимости цепи подогреваемого кислородного датчика (обрыв)
Напряжение аккумуляторной батареи 11 В или выше
Расчетная температура подогреваемого кислородного датчика Не ниже 450°C (842°F), но ниже 750°C (1382°F)
P0138 и P0158: Проверка проводимости цепи подогреваемого кислородного датчика (выход за пределы диапазона)
Напряжение аккумуляторной батареи 11 В или выше
Время после запуска двигателя 2 с или более
P0139 и P0159: Время реакции подогреваемого кислородного датчика во время прекращения подачи топлива
Температура охлаждающей жидкости Не менее 75°C (167°F)
Расчетная температура каталитического нейтрализатора Не менее 580°C (1076°F)
Отсечка топлива Вкл
P013A и P013C: Время реакции подогреваемого кислородного датчика во время прекращения подачи топлива при обогащенной смеси:
Напряжение аккумуляторной батареи 11 В или выше
Температура охлаждающей жидкости Не менее 75°C (167°F)
Расчетная температура каталитического нейтрализатора Не менее 580°C (1076°F)
Отсечка топлива Вкл

ТИПИЧНЫЕ ПОРОГОВЫЕ ЗНАЧЕНИЯ НЕИСПРАВНОСТИ

P0136 и P0156: Контроль напряжения подогреваемого кислородного датчика (ненормальное напряжение)
Выполняются все перечисленные ниже условия (a), (b) и (c)
(а) OSC (способность сохранять кислород) каталитического нейтрализатора 2,5 г или более
(b) Заданное соотношение воздух-топливо 14,3 или менее
(с) Напряжение подогреваемого кислородного датчика 0,21 В или выше и менее 0,66 В
P0137 и P0157: Контроль напряжения подогреваемого кислородного датчика (низкое напряжение)
Выполняются все перечисленные ниже условия (a), (b) и (c)
(а) OSC (способность сохранять кислород) каталитического нейтрализатора 2,5 г или более
(b) Заданное соотношение воздух-топливо 14,3 или менее
(с) Напряжение подогреваемого кислородного датчика Менее 0,21 В
P0136 и P0156: Проверка проводимости цепи подогреваемого кислородного датчика (короткое замыкание)
Продолжительность указанного состояния 30 с или более
Полное сопротивление подогреваемого кислородного датчика Менее 5 Ом
P0137 и P0157: Проверка проводимости цепи подогреваемого кислородного датчика (обрыв)
Продолжительность указанного состояния 90 с или более
Полное сопротивление подогреваемого кислородного датчика 15 кОм или более
P0138 и P0158: Проверка проводимости цепи подогреваемого кислородного датчика (выход за пределы диапазона)
Продолжительность указанного состояния 10 с или более
Напряжение подогреваемого кислородного датчика 1,2 В или более
P0139 и P0159: Время реакции подогреваемого кислородного датчика во время прекращения подачи топлива
Суммарный расход воздуха, достигаемый после начала управления отсечкой топлива, когда напряжение подогреваемого кислородного датчика остается на уровне 0,2 В и более Более 15,5 г
P013A и P013C: Время реакции подогреваемого кислородного датчика во время прекращения подачи топлива при обогащенной смеси:
Время падения напряжения подогреваемого кислородного датчика с 0,35 В до 0,2 В во время прекращения подачи топлива (нормализованное) 1 с или более

ПРОВЕРОЧНАЯ ПОЕЗДКА

Tech Tips


  • Данный режим проверочной поездки используется в процедуре "Выполните поездку в проверочном режиме" следующего порядка выполнения диагностики.

  • Поездка в проверочном режиме активирует контроль подогреваемого кислородного датчика (одновременно выполняется контроль каталитического нейтрализатора). Это очень удобно при определении того, что ремонт завершен.


B0065MXE89

  1. Подключите GTS к DLC3.

  2. Включите зажигание (IG) и включите GTS.

  3. Удалите коды DTC (даже если нет сохраненных DTC, выполните процедуру удаления DTC).

  4. Выключите зажигание и подождите не менее 30 с.

  5. Включите зажигание (IG) и GTS [A].

  6. Запустите и прогрейте двигатель, пока температура охлаждающей жидкости не достигнет уровня не менее 75°C (167°F) [B].

  7. Совершите поездку на автомобиле со скоростью 60-120 км/час (37-75 миль в час) длительностью не менее 10 минут с рычагом переключения передач в положении D [C].

    CAUTION:

    Во время поездки в проверочном режиме соблюдайте все ограничения скорости и правила дорожного движения.

  8. Войдите в следующие меню: Powertrain / Engine / Trouble Codes [D].

  9. Считайте ожидающие обработки коды DTC.

    Tech Tips


    • Если выводятся ожидающие обработки DTC, система неисправна.

    • Если ожидающие обработки DTC не выводятся, выполните следующую процедуру.

  10. Войдите в следующие меню: Powertrain / Engine / Utility / All Readiness.

  11. Введите DTC: P0136, P0137, P0138, P0156, P0157 или P0158.

  12. Проверьте результат проверки DTC.

    Дисплей GTS Описание
    NORMAL
    • Проверка DTC завершена

    • Cистема работает нормально

    ABNORMAL
    • Проверка DTC завершена

    • Нарушения в работе системы

    INCOMPLETE
    • Проверка DTC не завершена

    • Выполните поездку в проверочном режиме после создания условий регистрации DTC

    N/A
    • Невозможно выполнить проверку DTC

    • Количество кодов DTC, которые не соответствуют условиям регистрации DTC, достигло предела запоминающего устройства ЭБУ

    Tech Tips


    • Если результат проверки показывает NORMAL, система исправна.

    • Если результат проверки показывает ABNORMAL, система неисправна.

    • Если результат проверки показывает INCOMPLETE или N/A, повторно выполните шаги [C] и [D].


B00665VE01

  1. Подключите GTS к DLC3.

  2. Включите зажигание (IG).

  3. Включите GTS.

  4. Удалите коды DTC (даже если нет сохраненных DTC, выполните процедуру удаления DTC).

  5. Выключите зажигание и подождите не менее 30 с.

  6. Включите зажигание (IG) и включите GTS.

  7. Запустите двигатель и дайте ему прогреться, пока температура охлаждающей жидкости двигателя не достигнет 75°C (167°F) или выше, когда рычаг переключения передач находится в положении P [A].

    Tech Tips

    Чтобы поддерживать устойчивый холостой ход, выключите систему кондиционирования и все прочие электрические нагрузки, и не выполняйте никаких переключений.

  8. Совершите поездку на автомобиле со скоростью приблизительно 60 км/час (37 миль в час) в течение не менее 10 мин [B].

    CAUTION:

    Во время поездки в проверочном режиме соблюдайте все ограничения скорости и правила дорожного движения.

    Tech Tips

    Во время поездки по возможности поддерживайте постоянную нагрузку на двигатель.

  9. Установите рычаг переключения передач в положение M, двигайтесь на автомобиле со скоростью 60 км/час (37 миль в час), и затем замедлите автомобиль, отпустив педаль акселератора на 5 секунд и более, чтобы прекратить подачу топлива [C].

    CAUTION:

    Во время поездки в проверочном режиме соблюдайте все ограничения скорости и правила дорожного движения.

  10. Повторите шаг [C] не менее 2 раз за одну поездку.

  11. Войдите в следующие меню: Powertrain / Engine / Trouble Codes / Pending.

  12. Считайте ожидающие обработки коды DTC [D].

    Tech Tips


    • Если выводятся ожидающие обработки DTC, система неисправна.

    • Если ожидающие обработки DTC не выводятся, выполните следующую процедуру.

  13. Войдите в следующие меню: Powertrain / Engine / Utility / All Readiness.

  14. Введите DTC: P0139, P013A, P013C или P0159.

  15. Проверьте результат проверки DTC.

    Дисплей GTS Описание
    NORMAL
    • Проверка DTC завершена

    • Cистема работает нормально

    ABNORMAL
    • Проверка DTC завершена

    • Нарушения в работе системы

    INCOMPLETE
    • Проверка DTC не завершена

    • Выполните поездку в проверочном режиме после создания условий регистрации DTC

    N/A
    • Невозможно выполнить проверку DTC

    • Количество кодов DTC, которые не соответствуют условиям регистрации DTC, достигло предела запоминающего устройства ЭБУ

    Tech Tips


    • Если результат проверки показывает NORMAL, система исправна.

    • Если результат проверки показывает ABNORMAL, система неисправна.

    • Если результат проверки показывает INCOMPLETE или N/A, совершите поездку на автомобиле, когда рычаг переключения передач находится в положении M, после чего повторно выполните шаг [C].

СХЕМА СОЕДИНЕНИЙ

B00656OE01

ПРЕДОСТЕРЕЖЕНИЕ / ПРИМЕЧАНИЕ / УКАЗАНИЕ

Tech Tips

Выполнив испытание "Control the Injection Volume for A/F Sensor" (управление объемом впрыска топлива для датчика состава топливовоздушной смеси) в режиме Active Test, можно определить неисправный участок. Испытание "Control the Injection Volume for A/F Sensor" может помочь определить, какой из узлов неисправен: датчик состава топливовоздушной смеси, подогреваемый кислородный датчик или какой-либо другой потенциально неисправный узел.

В следующих указаниях описывается порядок выполнения испытания "Control the Injection Volume for A/F Sensor" с помощью GTS.


  1. Подключите GTS к DLC3.

  2. Запустите двигатель.

  3. Включите GTS.

  4. Прогрейте двигатель на 2500 об/мин в течение приблизительно 90 секунд.

  5. Войдите в следующие меню: Powertrain / Engine / Active Test / Control the Injection Volume for A/F Sensor / All Data / AFS Voltage B1S1 and O2S B1S2 или AFS Voltage B2S1 and O2S B2S2.

  6. Выполните испытание в режиме Active Test при работе двигателя на холостом ходу (нажмите кнопку ВПРАВО или ВЛЕВО для изменения объема впрыска топлива).

  7. Контролируйте выходные напряжения датчика состава топливовоздушной смеси и подогреваемого кислородного датчика (AFS Voltage B1S1 и O2S B1S2 или AFS Voltage B2S1 и O2S B2S2), отображаемые на экране GTS.

Tech Tips


  • Во время испытания "Control the Injection Volume for A/F Sensor" объем впрыска топлива снижается на 12,5% или увеличивается на 12,5%.

  • Каждый датчик должен надлежащим образом реагировать на увеличение или уменьшение объема впрыска топлива.

Дисплей GTS

(Датчик)

Объем впрыска топлива Состояние Напряжение

AFS Voltage B1S1

AFS Voltage B2S1

(датчик состава топливовоздушной смеси)

12,5% Обогащение Менее 3,1 В
-12,5% Обеднение Более 3,4 В

O2S B1S2

O2S B2S2

(подогреваемый кислородный датчик)

12,5% Обогащение Более 0,55 В
-12,5% Обеднение Менее 0,4 В

Note

Задержка на выходе датчика состава топливовоздушной смеси составляет несколько секунд, а задержка на выходе подогреваемого кислородного датчика – приблизительно 20 секунд.

B0065D1E20

Note

Перед выполнением последующей процедуры проверки проверьте плавкие предохранители цепей, относящихся к данной системе.

Tech Tips


  • Рядом 1 считается ряд, содержащий цилиндр № 1*.

    *: Цилиндром № 1 считается цилиндр, который находится дальше всего от трансмиссии.

  • Рядом 2 считается ряд, в котором нет цилиндра № 1.

  • Датчиком 1 считается ближайший к двигателю датчик.

  • Датчиком 2 считается наиболее удаленный от двигателя датчик.

  • Если одновременно выводятся различные коды DTC, относящиеся к разным системам, контактом массы которых является контакт E2, возможно, имеется обрыв в цепи контакта E2.

  • С помощью GTS считайте данные фиксированного набора параметров. Одновременно с записью в память кода DTC ECM сохраняет параметры состояния автомобиля и условий движения как данные фиксированного набора параметров. При поиске неисправностей фиксированные параметры позволяют определить, двигался ли автомобиль в момент возникновения неисправности или нет, был ли прогрет двигатель, каким было соотношение воздух-топливо (обедненным или обогащенным) и пр.

ПОРЯДОК ВЫПОЛНЕНИЯ


  1. СЧИТАЙТЕ КОДЫ DTC (DTC P0136, P0137, P0138, P0139, P013A, P013C, P0156, P0157, P0158 ИЛИ P0159)


    1. Подключите GTS к DLC3.

    2. Включите зажигание (IG).

    3. Включите GTS.

    4. Войдите в следующие меню: Powertrain / Engine / Trouble Codes.

    5. Считайте коды DTC.


      Powertrain > Engine > Trouble Codes
      Результат
      Результат Следующий шаг
      DTC P0138 или P0158 выводится А
      DTC P0137 или P0157 выводится B
      DTC P0136 или P0156 выводится C
      Выводится код DTC P0139, P013A, P013C или P0159 D
      DTC P0136, P0137, P0138, P0139, P013A, P013C, P0156, P0157, P0158 или P0159 и другие коды DTC выводятся E

      Tech Tips

      Если выводятся какие-либо другие коды DTC, помимо P0136, P0137, P0138, P0139, P013A, P013C, P0156, P0157, P0158 и P0159, сначала выполните диагностику для этих DTC.


    B
    C
    D
    E
    А
  2. ПРОВЕРЬТЕ ПОДОГРЕВАЕМЫЙ КИСЛОРОДНЫЙ ДАТЧИК (ПРОВЕРЬТЕ, НЕТ ЛИ КОРОТКОГО ЗАМЫКАНИЯ)

    B00653MC08
    *a

    Устройство с неподсоединенным жгутом проводов

    (подогреваемый кислородный датчик)

    *b Ряд 1
    *c Ряд 2

    1. Отсоедините разъем подогреваемого кислородного датчика.

    2. Измерьте сопротивление в соответствии со значениями, приведенными в таблице ниже.

      Номинальное сопротивление
      Подключение диагностического прибора Условие Заданные условия
      2 (+B) - 4 (E2) Всегда 10 кОм или более
      2 (+B) - 3 (OX1B) Всегда 10 кОм или более
      2 (+B) - 4 (E2) Всегда 10 кОм или более
      2 (+B) - 3 (OX2B) Всегда 10 кОм или более

      Tech Tips

      После замены подогреваемого кислородного датчика выполните процедуру "Проверка после ремонта".

      Нажмите здесь Click here

      Результат
      Перейти к
      OK
      NG

    NG
    OK
  3. ПРОВЕРЬТЕ ЖГУТ ПРОВОДОВ И РАЗЪЕМ (ПРОВЕРЬТЕ, НЕТ ЛИ КОРОТКОГО ЗАМЫКАНИЯ)


    1. Выключите зажигание и подождите не менее 5 мин.

    2. Отсоедините разъем ЭБУ.

    3. Измерьте сопротивление в соответствии со значениями, приведенными в таблице ниже.

      Номинальное сопротивление
      Подключение диагностического прибора Условие Заданные условия
      A78-4 (HT1B) - F4-27 (OX1B) Всегда 10 кОм или более
      A78-3 (HT2B) - F4-28 (OX2B) Всегда 10 кОм или более
      Результат
      Перейти к
      OK
      NG

    OK
    NG
  4. ВЫПОЛНИТЕ ДИАГНОСТИКУ В РЕЖИМЕ ACTIVE TEST С ПОМОЩЬЮ GTS (УПРАВЛЕНИЕ ОБЪЕМОМ ВПРЫСКА ТОПЛИВА ДЛЯ ДАТЧИКА A/F)


    1. Подключите GTS к DLC3.

    2. Запустите двигатель.

    3. Включите GTS.

    4. Прогрейте двигатель.

    5. Войдите в следующие меню: Powertrain / Engine / Active Test / Control the Injection Volume for A/F Sensor / All Data / O2S B1S2 или O2S B2S2.


      Powertrain > Engine > Active Test
      Экран активной диагностики
      Control the Injection Volume for A/F Sensor
      Экран Data List
      O2S B1S2
      O2S B2S2
    6. Используя GTS, изменяйте объем впрыска топлива, контролируя выходное напряжение подогреваемого кислородного датчика, отображаемое на экране GTS.

      Tech Tips


      • Во время испытания "Control the Injection Volume for A/F Sensor" объем впрыска топлива снижается на 12,5% или увеличивается на 12,5%.

      • Максимальная задержка на выходе подогреваемого кислородного датчика составляет приблизительно 20 с.

      Номинальное напряжение
      Колеблется между значением 0,4 В или ниже и значением 0,55 В или выше.
      Результат
      Перейти к
      OK
      NG

    NG
    OK
  5. ВЫПОЛНИТЕ ДИАГНОСТИКУ В РЕЖИМЕ ACTIVE TEST С ПОМОЩЬЮ GTS (УПРАВЛЕНИЕ ОБЪЕМОМ ВПРЫСКА ТОПЛИВА ДЛЯ ДАТЧИКА A/F)


    1. Подключите GTS к DLC3.

    2. Запустите двигатель.

    3. Включите GTS.

    4. Прогрейте двигатель.

    5. Войдите в следующие меню: Powertrain / Engine / Active Test / Control the Injection Volume for A/F Sensor / All Data / AFS Voltage B1S1 and O2S B1S2 или AFS Voltage B2S1 and O2S B2S2.


      Powertrain > Engine > Active Test
      Экран активной диагностики
      Control the Injection Volume for A/F Sensor
      Экран Data List
      AFS Voltage B1S1
      AFS Voltage B2S1
      O2S B1S2
      O2S B2S2
    6. С помощью GTS измените объем впрыска топлива, контролируя значения выходного напряжения датчика состава топливовоздушной смеси и подогреваемого кислородного датчика, отображаемые на дисплее GTS.

      Tech Tips


      • Во время испытания "Control the Injection Volume for A/F Sensor" объем впрыска топлива снижается на 12,5% или увеличивается на 12,5%.

      • На дисплее GTS датчик состава топливовоздушной смеси отображается как AFS Voltage B1S1 или AFS Voltage B2S1, а подогреваемый кислородный датчик – как O2S B1S2 или O2S B2S2.

      • Задержка на выходе датчика состава топливовоздушной смеси составляет несколько секунд, а задержка на выходе подогреваемого кислородного датчика – приблизительно 20 секунд.

      • Если при выполнении активной диагностики выходное напряжение датчика не меняется (отклик почти отсутствует), датчик может быть неисправен.

      Результат
      Информация на дисплее GTS (датчик) Изменение напряжения Перейти К

      AFS Voltage B1S1

      AFS Voltage B2S1

      (датчик состава топливовоздушной смеси)

      Колеблется около значения приблизительно 3,3 В OK
      Не изменяется и составляет более 3,3 В NG
      Составляет менее 3,3 В

      Tech Tips

      Напряжение работоспособного подогреваемого кислородного датчика (O2S B1S2 или O2S B2S2) реагирует на увеличение и уменьшение объема впрыска топлива. Если напряжение датчика состава топливовоздушной смеси (AFS Voltage B1S1 или AFS Voltage B2S1) остается ниже или выше 3,3 В несмотря на нормальные показания подогреваемого кислородного датчика, значит датчик состава топливовоздушной смеси неисправен.

      B0067GDE01

    OK
    NG
  6. ЗАМЕНИТЕ ДАТЧИК СОСТАВА ТОПЛИВОВОЗДУШНОЙ СМЕСИ


    1. Замените датчик состава топливовоздушной смеси.

      Нажмите здесь Click here

      Tech Tips

      Выполните "Проверку после ремонта" после замены датчика состава топливовоздушной смеси.

      Нажмите здесь Click here

      Результат
      Следующий шаг
      ДАЛЕЕ

    ДАЛЕЕ
  7. ВЫПОЛНИТЕ ПОЕЗДКУ В ПРОВЕРОЧНОМ РЕЖИМЕ


    1. Выполните поездки в проверочном режиме (P0136, P0137, P0138, P0156, P0157 и P0158).

      Результат
      Следующий шаг
      ДАЛЕЕ

    ДАЛЕЕ
  8. ПРОВЕРЬТЕ, ВОЗОБНОВЛЯЕТСЯ ЛИ ВЫВОД DTC (DTC P0136 или P0156)


    1. Подключите GTS к DLC3.

    2. Включите зажигание (IG).

    3. Включите GTS.

    4. Войдите в следующие меню: Powertrain / Engine / Utility / All Readiness.


      Powertrain > Engine > Utility
      Информация на дисплее прибора
      All Readiness
    5. Введите DTC: P0136 или P0156.

    6. Убедитесь, что для параметра DTC Monitor отображается значение NORMAL. Если параметр DTC MONITOR имеете значение INCOMPLETE, повторно выполните проверочную поездку, увеличив скорость автомобиля.

      Результат
      Результат Следующий шаг

      NORMAL

      (коды DTC не выводятся)

      А

      ABNORMAL

      (DTC P0136 или P0156 выводится)

      B

      Tech Tips

      После замены подогреваемого кислородного датчика выполните процедуру "Проверка после ремонта".

      Нажмите здесь Click here


    А
    B
  9. ПРОВЕРЬТЕ, НЕТ ЛИ УТЕЧКИ ОТРАБОТАВШИХ ГАЗОВ


    1. Проверьте, нет ли утечек отработавших газов.

      OK
      Утечки газов отсутствуют.

      Tech Tips

      Выполните "Проверку после ремонта" после ремонта или замены системы выпуска.

      Нажмите здесь Click here

      Результат
      Перейти к
      OK
      NG

    NG
    OK
  10. ПРОВЕРЬТЕ ПОДОГРЕВАЕМЫЙ КИСЛОРОДНЫЙ ДАТЧИК (СОПРОТИВЛЕНИЕ ПОДОГРЕВАТЕЛЯ)

    Результат
    Перейти к
    OK
    NG

    1. Проверьте подогреваемый кислородный датчик.

      Нажмите здесь Click here

      Tech Tips

      После замены подогреваемого кислородного датчика выполните процедуру "Проверка после ремонта".

      Нажмите здесь Click here

      Результат
      Перейти к
      OK
      NG

    NG
    OK
  11. ПРОВЕРЬТЕ ЖГУТ ПРОВОДОВ И РАЗЪЕМ (ПОДОГРЕВАЕМЫЙ КИСЛОРОДНЫЙ ДАТЧИК – ECM)


    1. Отсоедините разъем подогреваемого кислородного датчика.

    2. Отсоедините разъем ЭБУ.

    3. Измерьте сопротивление в соответствии со значениями, приведенными в таблице ниже.

      Номинальное сопротивление
      Подключение диагностического прибора Условие Заданные условия
      O95-1 (HT1B) - A78-4 (HT1B) Всегда Менее 1 Ом
      O95-3 (OX1B) - F4-27 (OX1B) Всегда Менее 1 Ом
      O95-4 (E2) - F4-17 (EX1B) Всегда Менее 1 Ом
      O96-1 (HT2B) - A78-3 (HT2B) Всегда Менее 1 Ом
      O96-3 (OX2B) - F4-28 (OX2B) Всегда Менее 1 Ом
      O96-4 (E2) - F4-18 (EX2B) Всегда Менее 1 Ом
      O95-1 (HT1B) или A78-4 (HT1B) - масса Всегда 10 кОм или более
      O95-3 (OX1B) или F4-27 (OX1B) - масса Всегда 10 кОм или более
      O96-1 (HT2B) или A78-3 (HT2B) - масса Всегда 10 кОм или более
      O96-3 (OX2B) или F4-28 (OX2B) - масса Всегда 10 кОм или более
      Результат
      Перейти к
      OK
      NG

    NG
    OK
  12. ЗАМЕНИТЕ ПОДОГРЕВАЕМЫЙ КИСЛОРОДНЫЙ ДАТЧИК


    1. Замените подогреваемый кислородный датчик.

      Нажмите здесь Click here

      Tech Tips

      После замены подогреваемого кислородного датчика выполните процедуру "Проверка после ремонта".

      Нажмите здесь Click here

      Результат
      Следующий шаг
      ДАЛЕЕ

    ДАЛЕЕ
  13. ВЫПОЛНИТЕ ПОЕЗДКУ В ПРОВЕРОЧНОМ РЕЖИМЕ


    1. Выполните поездки в проверочном режиме (P0136, P0137, P0138, P0156, P0157 и P0158).

      Результат
      Следующий шаг
      ДАЛЕЕ

    ДАЛЕЕ
  14. ПРОВЕРЬТЕ, ВОЗОБНОВЛЯЕТСЯ ЛИ ВЫВОД DTC (DTC P0136, P0137, P0156 или P0157)


    1. Подключите GTS к DLC3.

    2. Включите зажигание (IG).

    3. Включите GTS.

    4. Войдите в следующие меню: Powertrain / Engine / Utility / All Readiness.


      Powertrain > Engine > Utility
      Информация на дисплее прибора
      All Readiness
    5. Введите DTC: P0136, P0137, P0156 или P0157.

    6. Убедитесь, что для параметра DTC Monitor отображается значение NORMAL. Если параметр DTC MONITOR имеете значение INCOMPLETE, повторно выполните проверочную поездку, увеличив скорость автомобиля.

      Результат
      Результат Следующий шаг

      ABNORMAL

      (DTC P0136, P0137, P0156 или P0157 выводится)

      А

      NORMAL

      (коды DTC не выводятся)

      B

      Tech Tips

      Выполните "Проверку после ремонта" после замены датчика состава топливовоздушной смеси.

      Нажмите здесь Click here


    А
    B
  15. ПРОВЕРЬТЕ, НЕТ ЛИ УТЕЧКИ ОТРАБОТАВШИХ ГАЗОВ


    1. Проверьте, нет ли утечек отработавших газов.

      OK
      Утечки газов отсутствуют.

      Tech Tips

      Выполните "Проверку после ремонта" после ремонта или замены системы выпуска.

      Нажмите здесь Click here

      Результат
      Перейти к
      OK
      NG

    NG
    OK
  16. ПРОВЕРЬТЕ ПОДОГРЕВАЕМЫЙ КИСЛОРОДНЫЙ ДАТЧИК (ПРОВЕРЬТЕ, НЕТ ЛИ КОРОТКОГО ЗАМЫКАНИЯ)


    1. Выключите зажигание и подождите не менее 5 мин.

    2. Отсоедините разъем ЭБУ.

    3. Измерьте сопротивление в соответствии со значениями, приведенными в таблице ниже.

      Номинальное сопротивление
      Подключение диагностического прибора Условие Заданные условия
      A78-4 (HT1B) - F4-27 (OX1B) Всегда 10 кОм или более
      A78-3 (HT2B) - F4-28 (OX2B) Всегда 10 кОм или более
      Результат
      Перейти к
      OK
      NG

    NG
    OK
  17. ВЫПОЛНИТЕ ПОЕЗДКУ В ПРОВЕРОЧНОМ РЕЖИМЕ


    1. Выполните поездку в проверочном режиме (P0139, P013A, P013C и P0159).

      Результат
      Следующий шаг
      ДАЛЕЕ

    ДАЛЕЕ
  18. СЧИТАЙТЕ КОДЫ DTC (ПРОВЕРЬТЕ, НЕ ВЫВОДИТСЯ ЛИ ПОВТОРНО DTC P0139, P013A, P013C ИЛИ P0159)


    1. Подключите GTS к DLC3.

    2. Включите питание (IG).

    3. Включите GTS.

    4. Войдите в следующие меню: Powertrain / Engine / Utility / All Readiness.


      Powertrain > Engine > Utility
      Информация на дисплее прибора
      All Readiness
    5. Введите DTC: P0139, P013A, P013C или P0159.

    6. Убедитесь, что для параметра DTC Monitor отображается значение NORMAL. Если параметр DTC MONITOR имеете значение INCOMPLETE, повторно выполните проверочную поездку, увеличив скорость автомобиля.

      Результат
      Результат Следующий шаг

      ABNORMAL

      (DTC P0139, P013A, P013C или P0159 выводится)

      А

      NORMAL

      (коды DTC не выводятся)

      B

      Tech Tips

      После замены подогреваемого кислородного датчика выполните процедуру "Проверка после ремонта".

      Нажмите здесь Click here


    А
    B