СИСТЕМА СМАЗКИ ДВИГАТЕЛЯ ОПИСАНИЕ ШТУЦЕР ПОДАЧИ МАСЛА

  1. КОНСТРУКЦИЯ

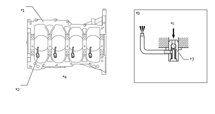
    1. В блоке цилиндров размещены масляные форсунки, предназначенные для охлаждения и смазки поршней.

    2. В штуцерах подачи масла имеется запорный шарик, предотвращающий подачу масла, когда его давление мало. Это препятствует падению общего давления масла в двигателе.

      W100446C05

      *1

      Блок цилиндров

      *2

      Штуцер подачи масла в сборе

      *3

      Запорный шарик

      -

      -

      *a

      Вид снизу

      *b

      Сечение штуцера подачи масла в сборе

      *c

      Масло

      -

      -