GENERATOR(for 100A Type) REASSEMBLY

PROCEDURE


  1. INSTALL GENERATOR DRIVE END FRAME BEARING


    1. A01W9FMN01

      Using SST and a press, press in a new generator drive end frame bearing.

      SST
      09950-60010   ( 09951-00520 )
      09950-70010   ( 09951-07100 )
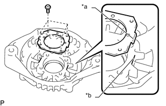
    2. A01WAC7C01
      *a Tab
      *b Cutout

      Fit the tabs on the retainer plate into the cutouts on the generator drive end frame.

    3. Install the retainer plate with the 4 screws.

      Torque:
      2.3 N*m  { 23 kgf*cm, 20 in.*lbf }
  2. INSTALL GENERATOR ROTOR ASSEMBLY


    1. Place the generator drive end frame on the generator pulley with clutch.

    2. Install the generator rotor assembly to the generator drive end frame.

  3. INSTALL GENERATOR BEARING COVER PACKING

    Note

    A new generator coil assembly comes with a generator bearing cover packing. Therefore, it is not necessary to install a new generator bearing cover packing when installing a new generator coil assembly.


    1. A01WAHZC08
      *a Protrusion
      *b Groove

      Install a new generator bearing cover packing to the generator coil assembly.

      Note

      Align the protrusion of the generator bearing cover packing with the groove of the generator coil assembly when installing.

  4. INSTALL GENERATOR COIL ASSEMBLY


    1. A01WAHMC01
      *a 21 mm Deep Socket Wrench

      Using a 21 mm deep socket wrench and press, slowly press on the generator coil assembly.

    2. Install the generator coil assembly with the 4 through bolts.

      Torque:
      5.6 N*m  { 57 kgf*cm, 50 in.*lbf }
  5. INSTALL GENERATOR BRUSH HOLDER ASSEMBLY


    1. A01WAC4C09
      *a Pin

      While pushing the 2 brushes into the generator brush holder assembly, insert a pin with a diameter of 1.0 mm (0.0394 in.) into the brush holder hole.

    2. A01WARAC01
      *a Pin

      Install the generator brush holder assembly to the generator coil assembly with the 2 screws.

      Torque:
      1.8 N*m  { 18 kgf*cm, 16 in.*lbf }
    3. Pull out the pin from the generator brush holder assembly.

  6. INSTALL TERMINAL INSULATOR


    1. A01WAY0

      Install the terminal insulator to the generator coil assembly.

      Note

      Make sure that the terminal insulator is installed with the correct orientation.

  7. INSTALL GENERATOR REAR END COVER


    1. Install the generator rear end cover to the generator coil assembly with the 3 bolts.

      Torque:
      4.6 N*m  { 47 kgf*cm, 41 in.*lbf }
  8. INSTALL GENERATOR WITH CLUTCH PULLEY


    1. Mount the generator assembly in the vise between aluminum plates.

    2. Temporarily install the generator pulley with clutch by hand.

    3. A01W98OC01
      *a Generator Rotor Shaft

      Install SST A and B to the generator pulley with clutch as shown in the illustration.

      SST
      09820-63021

      Note

      Securely attach SST to the generator pulley with clutch and generator rotor shaft.

    4. A01W8AGC01
      *a Hold
      *b Torque Wrench Fulcrum Length
      *c SST Fulcrum Length
      B0068HS Turn

      Using a wrench to hold SST A, turn SST B clockwise to tighten the generator pulley with clutch.

      Torque:
      Specified tightening torque
      110.5 N*m  { 1127 kgf*cm, 81 ft.*lbf }

      Note

      Be careful as the generator pulley with clutch or generator rotor shaft may be damaged if the position of SST is not securely maintained while performing this operation.

      Tech Tips


      • Calculate the torque wrench reading when changing the fulcrum length of the torque wrench.

        Click here

      • When using SST (fulcrum length of 100 mm (3.94 in.)) + torque wrench (fulcrum length of 400 mm (15.8 in.)):

        88.4 N*m (901 kgf*cm, 65 ft.*lbf)

    5. Remove SST from the generator assembly.

    6. Check that the generator pulley with clutch rotates smoothly.

    7. Remove the generator assembly from the vise.