METER / GAUGE SYSTEM


  1. FUNCTION


    1. Multi Buzzer


      1. The table below shows the warning and reminder functions of the buzzer in the combination meter assembly.

        Priority Item
        1 Driver Seat Belt Warning (Max. 5 times): G.C.C. Countries
        2 Engine Start while Driving Notice
        3 Engine Switch Operation while Driving Warning
        4 VSC Side Slip Warning
        5 Front Seat Belt Warning (Once): G.C.C. Countries
        6 Front Seat Belt Warning (Level 2)
        7 Front Seat Belt Warning (Level 1): G.C.C. Countries
        8 Rear Seat Belt Warning: Except G.C.C. Countries
        9 Front Seat Belt Warning (Level 1): Except G.C.C. Countries
        10 Lane Departure Alert Cancel Warning
        11 Unexpected Vehicle Motion Warning (Continuous)
        12 Unexpected Vehicle Motion Warning (Intermittent)
        13 Brake Force Reduction Warning
        14 Engine Oil Pressure Warning
        15 EPS Warning
        16 Lane Departure Alert Warning
        17 Engine Coolant High Temperature Warning
        18 Entry and Start System Warning (Continuous)
        19 Entry and Start System Warning 1 (Intermittent)
        20 Brake System Temperature Rise Warning/Active Test
        21 Brake System Temperature High Warning
        22 Entry and Start System Warning 2 (Intermittent)
        23 Entry and Start System Warning (Once)
        24 Multi-information Display Warning
        25 Accelerator Depression with N Position
        26 Accelerator Depression Hold Warning
        27 Electric Parking Brake Cancel Warning
        28 Brake Hold System Control Not Release Warning
        29 Radar Cruise Control Cancelation due to Low Speed Warning
        30 Radar Cruise Control Cancelation due to Low Speed without Leading Vehicle Warning
        31 Immobiliser Certification Reminder
        32 Speed Warning: G.C.C. Countries
        33 Parking Brake Engaged Warning
        34 Door Open while Driving Warning
        35 Shift Reject
        36 Light Reminder: Europe
        37 Turn Signal/Hazard Warning Operation
    2. Multi-information Display


      1. Display Function Flow


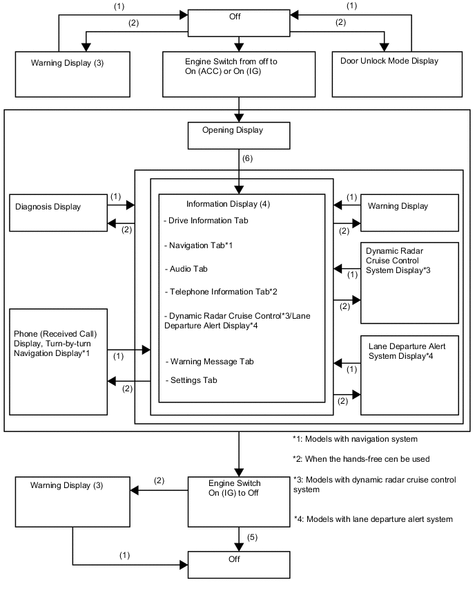
        • The multi-information display can be switched as shown in the flowchart below:

          A01O7L3E02
          (1) Conditions are not met.
          (2) Conditions are met.
          (3) If there are multiple display requests, items will be displayed in sequence.
          (4) Item or display is selected by operating the steering pad switch assembly switch.
          (5) ODO display is displayed for a certain period of time after the engine switch is turned off.
          (6) After engine switch is turned on (IG).
      2. Display Tab Operation


        • The information currently displayed can be switched using the RIGHT/LEFT switch on the steering pad switch assembly.

          A01O7KPC01
          *A Models with Dynamic Radar Cruise Control System or Lane Departure Alert System *B Models with Stop and Start System
          *1 Steering Pad Switch Assembly - -
          *a LEFT Switch *b RIGHT Switch
          *c Drive Information *d Navigation Information
          *e Audio Information *f When the hands-free function can be used, telephone information is displayed.
          *g Dynamic Radar Cruise Control System/Lane Departure Alert System Information *h Stop and Start System Information
          *i Warning Message *j Settings
          *k The illustrations shown are examples only. The illustrations may differ from the actual vehicle screen. - -
          B008G7R RIGHT Switch Operation B008G4C LEFT Switch Operation
      3. Drive Information


        • Drive information shows vehicle information such as drivable range and fuel consumption.

        • The drive information can be switched using the UP/DOWN switch on the steering pad switch assembly.

          A01O7KAC01
          *A F SPORT *B Models with 8AR-FTS Engine
          *C Models with Tire Pressure Warning System - -
          *1 Steering Pad Switch Assembly - -
          *a UP Switch *b DOWN Switch
          *c Drive Information 1 *d Drive Information 2
          *e Eco Indicator *f Boost Meter
          *g G Monitor *h Tire Pressure Monitor
          *i Blank *j The illustrations shown are examples only. The illustrations may differ from the actual vehicle screen.
          B008G7R DOWN Switch Operation B008G4C UP Switch Operation
      4. Setting Function


        • The items displayed on the multi-information display can be customized.

        • The items can be selected on the information setting screen.

          Item Available Setting
          Language

          The language used on the multi-information display can be selected:


          • - English

          • - Germany

          • - French

          • - Spanish

          • - Italian

          • - Russian

          • - Chinese

            Tech Tips

            The selectable languages may differ depending on the model or region.

          Unit

          The unit displayed on the multi-information display can be selected.


          • - miles (MPG)

          • - km (L/100 km)

          • - km (km/L)

            Tech Tips

            The selectable units may differ depending on the model.

          Drive Information 1

          2 items can be selected among the following:


          • - Current Fuel Consumption (Bar Display)/Average Fuel Consumption (Mark Display)

          • - Total Average Fuel Consumption Between Reset Operations

          • - Average Fuel Consumption After Engine Start-up

          • - Average Fuel Consumption After Refueling

          • - Total Average Vehicle Speed Between Reset Operations

          • - Average Vehicle Speed After Engine Start-up

          • - Cruising Range After Engine Start-up

          • - Total Elapsed Time Between Reset Operations

          • - Elapsed Time After Engine Start-up

          • - Cruising Range

          Drive Information 2

          2 items can be selected among the following:


          • - Current Fuel Consumption (Bar Display)/Average Fuel Consumption (Mark Display)

          • - Total Average Fuel Consumption Between Reset Operations

          • - Average Fuel Consumption After Engine Start-up

          • - Average Fuel Consumption After Refueling

          • - Total Average Vehicle Speed Between Reset Operations

          • - Average Vehicle Speed After Engine Start-up

          • - Cruising Range After Engine Start-up

          • - Total Elapsed Time Between Reset Operations

          • - Elapsed Time After Engine Start-up

          • - Cruising Range

          TOP Switch Settings

          The item that is displayed when the TOP switch is pressed can be selected among the following:


          • - Drive Information

          • - Navigation Information*1

          • - Audio Information*1

          • - Dynamic Radar Cruise Control System/Lane Departure Alert System Information*2

          • - Warning Message

          • - Blank

          Interruption Display

          The following displays that appear as soon as the set conditions are met can be switched to on or off.


          • - Turn-by-turn Navigation Display*1

          • - Incoming Telephone Display

          • - Light Control Rheostat

          Accent Color

          The accent color can be changed:


          • - White Heat

          • - Titanium Silver

          Vehicle Speed Warning*3
          • The vehicle speed warning can be switched to ON or OFF.


            • - ON

            • - OFF

          • The vehicle speed warning activation can be set at increments of 1 km/h or 1 mph between 30 km/h (20 MPH) and 260 km/h (160 MPH).

          *1: Models with navigation system

          *2: Models with dynamic radar cruise control system/lane departure alert system

          *3: Destination package for Europe

      5. Warning Mode Function


        • When a warning is necessary, the warning display interrupts the display in the multi-information display.

        • The master warning light may illuminate or blink and the buzzer in the combination meter assembly may sound depending on the item displayed on the multi-information display.

          Priority Display Master Warning Light Buzzer
          1 AWD TEST MODE - -
          ADJUSTING LDA CAMERA*1 - -
          ADJUSTING FRONT RADAR BEAM*2 - -
          CHECKING CRUISE CONTROL C/D*2 - -
          CHECKING CRUISE CONTROL BRAKE*2 - -
          BRAKE!*3 - -*4
          Push and Hold Engine Switch for Emergency Stop Blinks Sounds
          Shift to N and Press Engine Switch to Restart Blinks Sounds
          Engine Stopped Shift to P Blinks Sounds
          Engine Stopped Stop in a Safe Place Blinks Sounds
          Shift to N and Press Engine Switch to Restart Blinks Sounds
          2 Vehicle approaching warning during dynamic radar cruise control*2 - -
          Braking Power Low Stop in a Safe Place See Owner's Manual Illuminates Sounds
          Accelerator Stuck Depress Brake to Stop Blinks Sounds
          3 Door Open (While Driving) Blinks Sounds
          Door Open - -
          Clearance Sonar Obstruction Detection*5 Illuminates -
          4 Power Turned Off to Save Battery - -
          5 Shift to P Before Exiting Vehicle Blinks Sounds
          6 Power Steering Malfunction Steering Power Low Visit Your Dealer Illuminates Sounds
          Steering Power Low Visit Your Dealer Illuminates Sounds
          Power Steering Malfunction Visit Your Dealer Illuminates Sounds
          Release Parking Brake Blinks Sounds
          Vehicle May Roll Shift to P Blinks Sounds
          Brake Hold Fault Depress Brake to Deactivate Visit Your Dealer Illuminates Sounds
          Brake Hold Warning Depress Brake on Slope Blinks Sounds
          Key Not Detected Check Key Location Blinks Sounds
          Release Parking Brake while Depressing Brake - -
          Release Accelerator Blinks Sounds
          7 Speed Limit Exceeded*6 - -
          Hold Steering Wheel*7 - -
          LDA Steering Assist Unavailable Hold Steering Wheel*7 Illuminates Sounds
          Parking Brake Overheated Parking Brake Unavailable Illuminates -
          8 Check Engine Visit Your Dealer Illuminates Sounds
          Check Engine Reduced Engine Power Visit Your Dealer Illuminates Sounds
          Reduced Engine Power Visit Your Dealer Illuminates Sounds
          SRS Airbag System Malfunction Visit Your Dealer Illuminates Sounds
          Antilock Brake System Malfunction Visit Your Dealer - Sounds
          Engine Coolant Temp High Stop in a Safe Place See Owner's Manual Illuminates Sounds
          Charging System Malfunction See Owner's Manual - -
          Radar Cruise Control Unavailable Clean Sensor*2 Illuminates Sounds
          Radar Cruise Control Unavailable*2 Illuminates Sounds
          Radar Cruise Control Unavailable Depress Brake to Resume Driving*2 - -
          Smart Entry & Start System Malfunction See Owner's Manual Blinks Sounds
          Blind Spot Monitor Unavailable*8 Illuminates Sounds
          Cruise Control Malfunction Visit Your Dealer Illuminates Sounds
          Cruise Control Fault Press Brake to Deactivate Visit Your Dealer Illuminates Sounds
          Lane Departure Alert Malfunction Visit Your Dealer*1 Illuminates Sounds
          Lane Departure Alert Unavailable Camera Overheated*1 Illuminates Sounds
          LDA Steering Assist Deactivated Warnings Available*7 Illuminates Sounds
          Lane Departure Alert Turned On Steering Assist Active*7 - -
          Lane Departure Alert Turned On Steering Assist Inactive*7 - -
          Pre-crash Safety Malfunction Visit Your Dealer*3 Illuminates Sounds
          Blind Spot Monitor System Malfunction Visit Your Dealer*8 Illuminates Sounds
          Low Oil Pressure Stop in a Safe Place See Owner's Manual Illuminates Sounds
          Transmission Fluid Temp High See Owner's Manual Illuminates Sounds
          AWD System Malfunction 2WD Mode Engaged Visit Your Dealer Illuminates Sounds
          Braking Power Low Visit Your Dealer Illuminates Sounds
          Parking Brake Unavailable Illuminates Sounds
          Electronic Parking Brake Malfunction Visit Your Dealer Illuminates Sounds
          Radar Cruise Active Please Pay Attention to Other Vehicles*2 - -
          Lane Departure Alert Unavailable Below Approx 50 km/h (32 MPH)*1 - -
          9 Graphic Display (Dynamic Radar Cruise Control System and Lane Departure Alert System) - -
          Graphic Display (Sensitivity setting for Pre-crash Safety System) or Pre-crash Safety Turned Off - -
          Engine Stopped Steering Power Low Illuminates Sounds
          Turn Off Vehicle Blinks Sounds
          Key Left inside Vehicle Blinks Sounds
          Turn Lights Off Blinks Sounds
          Moon Roof Open*9 Blinks Sounds
          Window Open Blinks Sounds
          Window or Moon Roof Open*9 Blinks Sounds
          Depress Brake and Then Touch Key to Engine Switch Blinks Sounds
          Depress Brake and Then Start Engine - Sounds
          10 Steering Wheel Lock Press Engine Switch while Turning Wheel Blinks Sounds
          To Start Vehicle, Put Shift Lever into P Blinks Sounds
          Brake Hold Malfunction Visit Your Dealer Illuminates Sounds
          Brake Hold Less Effective during Icy Conditions Illuminates Sounds
          Brake Hold Active Depress Brake and Switch to Deactivate - -
          Brake Hold Unavailable Driver Door Open - -
          Brake Hold Unavailable Driver Seat Belt Unbuckled - -
          Brake Hold Unavailable Hood or Trunk Open - -
          Depress Brake to Maintain Brake Hold - Sounds
          Close Driver Door to Maintain Brake Hold - Sounds
          Fasten Driver Seat Belt to Maintain Brake Hold - Sounds
          Parking Brake Activated Release Before Driving - -
          AWD System Overheated 2WD Mode Engaged Blinks Sounds
          AWD System Overheated Switching to 2WD Mode Blinks Sounds
          Drive-Start Control Malfunction Visit Your Dealer Illuminates Sounds
          Brake Override Malfunction Visit Your Dealer Illuminates Sounds
          11 Key Battery Low Illuminates Sounds
          Engine Oil Level Low Add or Replace - Sounds
          Headlight System Malfunction Visit Your Dealer Illuminates Sounds
          Accelerator and Brake Pedals Depressed Simultaneously Blinks -
          Graphic Display (Tire Pressure Monitor) - -
          12 Windshield Washer Fluid Low - -
          Fuel Low - -
          Traction Control Turned Off - -
          Maintenance Required Soon - -
          Injector Maintenance Required Soon Illuminates -
          Maintenance Required Visit Your Dealer - -
          Injector Maintenance Required Visit Your Dealer Illuminates -
          To Activate Auto High Beam, Switch Headlights to High Beam - -
          Depress Brake and Then Start Engine - -
          VSC Turned Off Pre-crash Brake System Unavailable*3 - -
          Pre-crash Safety Unavailable*3 - -
          High Power Consumption Partial Limit On AC/Heater Operation - -
          Theft Sensor Turned Off*10 - -
          Theft Sensor Turned On*10 - -
          Automatic Mode On Shift Operation Sets or Releases Parking Brake - Sounds
          Automatic Mode Off - Sounds

          Tech Tips

          *1: Models with lane departure alert system

          *2: Models with dynamic radar cruise control system

          *3: Models with pre-crash safety system

          *4: Skid control buzzer operation is activated.

          *5: Models with Lexus parking assist-sensor system

          *6: Models for G.C.C. Countries

          *7: Models with lane departure alert system (with steering control)

          *8: Models with blind spot monitor system

          *9: Models with sliding roof system

          *10: Models with intrusion sensor