НАСОС СИСТЕМЫ ОХЛАЖДЕНИЯ ПРОВЕРКА БЕЗ СНЯТИЯ С АВТОМОБИЛЯ

ПОРЯДОК ВЫПОЛНЕНИЯ

  1. ПРОВЕРЬТЕ, НЕТ ЛИ УТЕЧЕК ОХЛАЖДАЮЩЕЙ ЖИДКОСТИ

    Tip:
    • Поверхность скольжения в насосе системы охлаждения двигателя в сборе смазывается охлаждающей жидкостью двигателя. Поскольку в нормальном режиме работы выливается некоторое количество охлаждающей жидкости, на пробке сливного отверстия и в нижней части насоса системы охлаждения двигателя в сборе можно найти остатки охлаждающей жидкости (твердые частицы). Кроме того, при попадании постороннего вещества в насос системы охлаждения двигателя в сборе возможна утечка охлаждающей жидкости двигателя, однако после вытеснения постороннего вещества или его разбивания на мелкие частицы герметичность восстанавливается. В этом случае проверьте зону вокруг насоса системы охлаждения двигателя в сборе.

    • Перед выполнением этой проверки убедитесь в отсутствии утечки охлаждающей жидкости из узлов помимо насоса системы охлаждения двигателя в сборе. Если утечки обнаружены, обследуйте неисправные компоненты.

    • Выполняйте эти проверки на холодном двигателе.

    1. Осмотрите насос системы охлаждения двигателя в сборе.

      1. Убедитесь, что охлаждающая жидкость двигателя не вытекает из насоса системы охлаждения двигателя в сборе.

        Tip:
        • Если охлаждающая жидкость двигателя вытекает, замените насос системы охлаждения двигателя в сборе.

        • Если охлаждающая жидкость двигателя не вытекает, выполните следующую проверку.

    2. Проверьте зону вокруг насоса системы охлаждения двигателя в сборе.

      Tip:

      Проверьте отсутствие отложений вокруг пробки сливного отверстия насоса системы охлаждения двигателя.

      1. Снимите поликлиновой ремень вентилятора и генератора.

        Нажмите здесьClick here

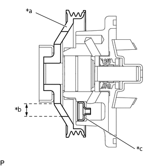
      2. A315424C01

        *a

        Шкив насоса системы охлаждения

        *b

        Отверстие шкива насоса системы охлаждения

        *c

        Пробка сливного отверстия

        Поверните шкив коленчатого вала и совместите отверстие шкива насоса системы охлаждения с пробкой сливного отверстия.

        Tip:
        • Сливная пробка находится в нижней части насоса системы охлаждения двигателя.

        • С помощью зеркала проверьте совмещение отверстия шкива со сливной пробкой.

      3. A315465C01

        *a

        Тонкая бумажная салфетка

        Оберните бумажную салфетку вокруг L-образного инструмента, например, гаечного торцевого ключа и вставьте его в отверстие шкива насоса системы охлаждения.

        Tip:
        • Используйте торцевой гаечный ключ на 3 мм (0,118 дюйма).

        • Диаметр отверстия шкива насоса системы охлаждения составляет 6 мм (0,236 дюйма).

        • Расстояние между отверстием шкива насоса системы охлаждения и сливной пробкой составляет 18 мм (0,709 дюйма).

    3. A315466C02

      *a

      Шестигранный ключ

      Передвигая торцевой гаечный ключ, как показано на рисунке, прижмите тонкую бумажную салфетку к хладагенту (твердому веществу), приложив ее к сливному отверстию или к краю сливного отверстия, и проверьте состояние салфетки.

      Tip:
      • Если салфетка стала мокрой, замените насос системы охлаждения двигателя.

      • Если тонкая бумажная салфетка осталась сухой, очистите место вокруг насоса системы охлаждения двигателя.

  2. ПРОВЕРЬТЕ НАСОС СИСТЕМЫ ОХЛАЖДЕНИЯ ДВИГАТЕЛЯ В СБОРЕ

    1. A328538

      Проверните шкив и убедитесь, что подшипник насоса системы охлаждения двигателя вращается плавно и не издает щелчков.

    2. Установите поликлиновой ремень вентилятора и генератора.

      Нажмите здесьClick hereClick here