РЕЛЕ УПРАВЛЕНИЯ СТОП-СИГНАЛАМИ (для моделей с правосторонним рулевым управлением) ПРОВЕРКА БЕЗ СНЯТИЯ С АВТОМОБИЛЯ

ПОРЯДОК ВЫПОЛНЕНИЯ

  1. ПРОВЕРЬТЕ ЭБУ УПРАВЛЕНИЯ СТОП-СИГНАЛАМИ

    1. E173014C12

      *a

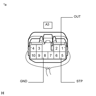
      Вид спереди разъема со стороны жгута проводов:

      (к ЭБУ стоп-сигналов)

      Отсоедините разъем ЭБУ стоп-сигналов.

    2. Измерьте напряжение и сопротивление со стороны разъема жгута проводов в соответствии со значениями, приведенными в таблице.

      Номинальное напряжение

      Подключение диагностического прибора

      Условие

      Номинальное значение

      A3-4 (ESS1) - A3-8 (GND)

      Питание включено (IG)

      11-14 В

      A3-6 (+B) - A3-8 (GND)

      Зажигание выключено

      11-14 В

      A3-9 (ACC) - A3-8 (GND)

      Питание включено (IG)

      11—14 В

      Номинальное сопротивление

      Подключение диагностического прибора

      Условие

      Номинальное значение

      A3-8 (GND) - масса

      Всегда

      Менее 1 Ом

      Если результат проверки не отвечает требованиям, отремонтируйте или замените жгут проводов или разъем.

    3. Подсоедините разъем ЭБУ управления стоп-сигналами.

    4. E173013C10

      *a

      Устройство с подсоединенным жгутом проводов

      (ЭБУ стоп-сигналов)

      Измерьте напряжение в соответствии со значениями, приведенными в таблице.

      Номинальное напряжение

      Подключение диагностического прибора

      Условие

      Номинальное значение

      A3-1 (OUT) - A3-8 (GND)

      Педаль тормоза: не нажата → нажата

      Ниже 0 - 1,5 В → 7,5 - 14 В

      A3-5 (STP) - A3-8 (GND)

      Педаль тормоза: не нажата → нажата

      Ниже 0 - 1,5 В → 7,5 - 14 В

      Если результат не отвечает требованиям, замените ЭБУ управления стоп-сигналами в сборе.