HYBRID CONTROL SYSTEM DIAGNOSIS SYSTEM

  1. DESCRIPTION

    1. The hybrid vehicle control ECU has a self-diagnosis system. If the computer, hybrid control system, or a component is not working properly, the ECU records the conditions that relate to the fault. The ECU also illuminates the master warning light in the combination meter assembly and provides other appropriate messages on the multi-information display, such as the HV system warning message, HV battery warning message or discharge warning message.

      D224022C01

      *1

      MIL

      *2

      READY Light

      *3

      Master Warning Light

      *4

      Charge Warning

      *5

      Multi-information Display

      -

      -

      Tip:

      The master warning light will illuminate when the hybrid control system is malfunctioning and the light will blink when in inspection mode.

  2. 2 TRIP DETECTION LOGIC

    • When a malfunction is first detected, the malfunction is temporarily stored in the hybrid vehicle control ECU memory (1st trip). If the same malfunction is detected during the next drive cycle, the MIL is illuminated (2nd trip).

  3. FREEZE FRAME DATA

    • The hybrid vehicle control ECU records vehicle and driving condition information as freeze frame data the moment a DTC is stored. When troubleshooting, freeze frame data can be helpful in determining whether the vehicle was moving or stationary, whether the engine was warmed up or not, as well as other data recorded at the time of a malfunction.

  4. AUXILIARY BATTERY VOLTAGE

    Standard Voltage

    Switch Condition

    Specified Condition

    Power switch on (IG)

    11 to 14 V

    • If voltage is below 11 V, replace or recharge the auxiliary battery.

      Note:

      After turning the power switch off, waiting time may be required before disconnecting the cable from the negative (-) auxiliary battery terminal. Therefore, make sure to read the disconnecting the cable from the negative (-) auxiliary battery terminal notices before proceeding with work.

      Click hereClick here

  5. MIL (Malfunction Indicator Lamp)

    1. The MIL is illuminated when the power switch is first turned on (IG), before the READY light comes on.

    2. When the READY indicator turns on, the MIL should turn off. If the MIL remains illuminated, the diagnosis system has detected a malfunction or abnormality in the system.

      Tip:

      If the MIL is not illuminated when the power switch is first turned on (IG), check the MIL circuit.

      w/ EGR System:Click here

      w/o EGR System:Click here

      w/ Canister Pump Module:Click here

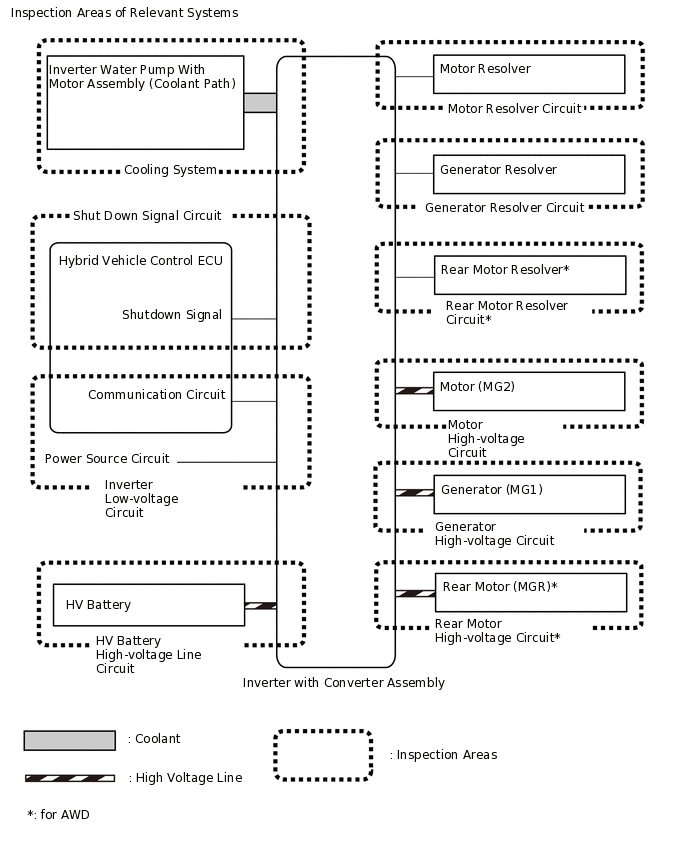
  6. RELEVANT SYSTEMS CHECK

    The inspection areas and outline of the inspection for each circuit are listed below.

    C304945E10
    Table 1. Inspection Details of Relevant Systems

    System to be Inspected

    Malfunction Possibility

    Inspection Content

    Cooling System

    Temperature abnormally high

    • Grille blockage

    • Whether coolant is present

    • Whether there is a possibility that coolant was frozen when malfunction occurs

    • Cooling hose blockage

    • HV radiator fan operation

    Shutdown Signal System

    Shutdown signal

    • Open or short circuit in shutdown signal communication line between hybrid vehicle control ECU and motor generator ECU

    Inverter Low-voltage Circuit

    Power supply voltage from +B or communication between hybrid vehicle control ECU and motor generator control ECU

    • Open or short circuit in communication line between hybrid vehicle control ECU and motor generator control ECU

    • Open or short circuit in the +B or ground lines

    • Fuse is blown

    HV Battery High-voltage Line Circuit

    High voltage power supply from HV battery

    • Open or short circuit in the system main relay, connectors or cables

    Motor Resolver Circuit

    Motor resolver signal

    • Open or short circuit in the motor resolver, connectors or cables

    Generator Resolver Circuit

    Generator resolver signal

    • Open or short circuit in the generator resolver, connectors or cables

    Rear Motor Resolver Circuit

    Rear motor resolver signal

    • Open or short circuit in the rear motor resolver, connectors or cables

    Motor High-voltage Circuit

    Motor (MG2) output

    • Open or short circuit in the motor (MG2), connectors or cables

    Generator High-voltage Circuit

    Generator (MG1) output

    • Open or short circuit in the generator (MG1), connectors or cables

    Rear Motor High-voltage Circuit

    Rear motor (MGR) output

    • Open or short circuit in the rear motor (MGR), connectors or cables

  7. DTC PRIORITY LEVEL AND TROUBLE AREAS

    • Each DTC diagnostic procedure for the hybrid control system consists of a combination of the various relevant system (circuit) inspections.

    • When multiple DTCs are output, performing each diagnostic procedure in order of priority can lead to a more accurate diagnosis.

    C309575E03
    Table 2. Inspection Details of Relevant Systems

    DTC No.

    Detection Item

    Order of Priority

    Inspection Pattern

    1

    2

    3

    4

    5

    Microcomputer Malfunction

    Power Source Circuit Malfunction

    Communication System Malfunction

    Sensor and Actuator Circuit Malfunction

    System Malfunction

    P0069-273

    Manifold Absolute Pressure - Barometric Pressure Correlation

    -

    -

    -

    -

    -

    P0343-747

    Camshaft Position Sensor "A" Circuit High Input

    -

    -

    -

    -

    -

    P0516-769

    Battery Temperature Sensor Circuit Low

    -

    -

    -

    -

    -

    P0517-770

    Battery Temperature Sensor Circuit High

    -

    -

    -

    -

    -

    P0560-117

    System Voltage

    -

    -

    -

    -

    -

    P060B-134

    Internal Control Module A/D Processing Performance

    -

    -

    -

    -

    -

    P060B-135

    Internal Control Module A/D Processing Performance

    -

    -

    -

    -

    -

    P060B-570

    Internal Control Module A/D Processing Performance

    -

    -

    -

    -

    -

    P0617-142

    Starter Relay Circuit High

    -

    -

    -

    -

    -

    P062F-143

    Internal Control Module EEPROM Error

    -

    -

    -

    -

    -

    P06B0-163

    Sensor Power Supply "A" Circuit / Open

    -

    -

    -

    -

    -

    P06D6-511

    Sensor Reference Voltage "F" Circuit / Open

    -

    -

    -

    -

    -

    P06E6-164

    Sensor Power Supply "C" Circuit / Open

    -

    -

    -

    -

    -

    P0705-757

    Transmission Range Sensor Circuit

    -

    -

    -

    -

    -

    P0A01-726

    Motor Electronics Coolant Temperature Sensor Circuit Range / Performance

    -

    -

    -

    -

    B

    P0A02-719

    Motor Electronics Coolant Temperature Sensor Circuit Low

    -

    -

    -

    -

    -

    P0A03-720

    Motor Electronics Coolant Temperature Sensor Circuit High

    -

    -

    -

    -

    -

    P0A04-725

    Motor Electronics Coolant Temperature Sensor Circuit Intermittent

    -

    -

    -

    -

    B

    P0A08-264

    DC / DC Converter Status Circuit

    -

    -

    -

    -

    -

    P0A09-265

    DC / DC Converter Status Circuit Low Input

    -

    -

    -

    -

    -

    P0A09-591

    DC / DC Converter Status Circuit Low Input

    -

    -

    -

    -

    -

    P0A0D-350

    High Voltage System Inter-Lock Circuit High

    -

    -

    -

    -

    -

    P0A0D-351

    High Voltage System Inter-Lock Circuit High

    -

    -

    -

    -

    -

    P0A0F-204

    Engine Failed to Start

    -

    -

    -

    -

    -

    P0A0F-205

    Engine Failed to Start

    -

    -

    -

    -

    -

    P0A0F-206

    Engine Failed to Start

    -

    -

    -

    -

    -

    P0A0F-238

    Engine Failed to Start

    -

    -

    -

    -

    -

    P0A0F-524

    Engine Failed to Start

    -

    -

    -

    -

    -

    P0A0F-525

    Engine Failed to Start

    -

    -

    -

    -

    -

    P0A10-263

    DC / DC Converter Status Circuit High Input

    -

    -

    -

    -

    -

    P0A10-592

    DC / DC Converter Status Circuit High Input

    -

    -

    -

    -

    -

    P0A1A-151

    Generator Control Module

    -

    -

    -

    -

    -

    P0A1A-166

    Generator Control Module

    -

    -

    -

    -

    -

    P0A1A-517

    Generator Control Module

    -

    -

    -

    -

    A

    P0A1A-658

    Generator Control Module

    -

    -

    -

    -

    -

    P0A1A-791

    Generator Control Module

    -

    -

    -

    -

    -

    P0A1A-809

    Generator Control Module

    -

    -

    -

    -

    A

    P0A1B-198

    Drive Motor "A" Control Module

    -

    -

    -

    -

    -

    P0A1B-503

    Drive Motor "A" Control Module

    -

    -

    -

    -

    A

    P0A1B-505

    Drive Motor "A" Control Module

    -

    -

    -

    -

    A

    P0A1B-547

    Drive Motor "A" Control Module

    -

    -

    -

    -

    A

    P0A1B-554

    Drive Motor "A" Control Module

    -

    -

    -

    -

    A

    P0A1B-786

    Drive Motor "A" Control Module

    -

    -

    -

    -

    -

    P0A1B-794

    Drive Motor "A" Control Module

    -

    -

    -

    -

    -

    P0A1B-806

    Drive Motor "A" Control Module

    -

    -

    -

    -

    C

    P0A1C-118

    Drive Motor "B" Control Module

    -

    -

    -

    -

    A

    P0A1C-124

    Drive Motor "B" Control Module

    -

    -

    -

    -

    A

    P0A1C-169

    Drive Motor "B" Control Module

    -

    -

    -

    -

    A

    P0A1C-693

    Drive Motor "B" Control Module

    -

    -

    -

    -

    A

    P0A1C-709

    Drive Motor "B" Control Module

    -

    -

    -

    -

    -

    P0A1C-710

    Drive Motor "B" Control Module

    -

    -

    -

    -

    -

    P0A1C-713

    Drive Motor "B" Control Module

    -

    -

    -

    -

    -

    P0A1C-797

    Drive Motor "B" Control Module

    -

    -

    -

    -

    -

    P0A1C-812

    Drive Motor "B" Control Module

    -

    -

    -

    -

    A

    P0A1D-144

    Hybrid Powertrain Control Module

    -

    -

    -

    -

    -

    P0A1D-148

    Hybrid Powertrain Control Module

    -

    -

    -

    -

    -

    P0A1D-162

    Hybrid Powertrain Control Module

    -

    -

    -

    -

    -

    P0A1D-187

    Hybrid Powertrain Control Module

    -

    -

    -

    -

    -

    P0A1D-721

    Hybrid Powertrain Control Module

    -

    -

    -

    -

    -

    P0A1D-722

    Hybrid Powertrain Control Module

    -

    -

    -

    -

    -

    P0A1D-723

    Hybrid Powertrain Control Module

    -

    -

    -

    -

    -

    P0A1D-787

    Hybrid Powertrain Control Module

    -

    -

    -

    -

    -

    P0A1D-818

    Hybrid Powertrain Control Module

    -

    -

    -

    -

    -

    P0A1D-821

    Hybrid Powertrain Control Module

    -

    -

    -

    -

    -

    P0A1D-822

    Hybrid Powertrain Control Module

    -

    -

    -

    -

    -

    P0A1D-823

    Hybrid Powertrain Control Module

    -

    -

    -

    -

    -

    P0A2B-250

    Drive Motor "A" Temperature Sensor Circuit Range / Performance

    -

    -

    -

    -

    -

    P0A2C-247

    Drive Motor "A" Temperature Sensor Circuit Low

    -

    -

    -

    -

    -

    P0A2D-249

    Drive Motor "A" Temperature Sensor Circuit High

    -

    -

    -

    -

    -

    P0A2E-248

    Drive Motor "A" Temperature Sensor Circuit Intermittent

    -

    -

    -

    -

    -

    P0A31-668

    Drive Motor "B" Temperature Sensor Circuit Range / Performance

    -

    -

    -

    -

    -

    P0A32-666

    Drive Motor "B" Temperature Sensor Circuit Low

    -

    -

    -

    -

    -

    P0A33-665

    Drive Motor "B" Temperature Sensor Circuit High

    -

    -

    -

    -

    -

    P0A34-667

    Drive Motor "B" Temperature Sensor Circuit Intermittent

    -

    -

    -

    -

    -

    P0A37-260

    Generator Temperature Sensor Circuit Range / Performance

    -

    -

    -

    -

    -

    P0A38-257

    Generator Temperature Sensor Circuit Low

    -

    -

    -

    -

    -

    P0A39-259

    Generator Temperature Sensor Circuit High

    -

    -

    -

    -

    -

    P0A3A-258

    Generator Temperature Sensor Circuit Intermittent

    -

    -

    -

    -

    -

    P0A3F-243

    Drive Motor "A" Position Sensor Circuit

    -

    -

    -

    -

    M

    P0A40-500

    Drive Motor "A" Position Sensor Circuit Range / Performance

    -

    -

    -

    -

    M

    P0A40-504

    Drive Motor "A" Position Sensor Circuit Range / Performance

    -

    -

    -

    -

    C

    P0A40-506

    Drive Motor "A" Position Sensor Circuit Range / Performance

    -

    -

    -

    -

    A

    P0A40-549

    Drive Motor "A" Position Sensor Circuit Range / Performance

    -

    -

    -

    -

    C

    P0A40-556

    Drive Motor "A" Position Sensor Circuit Range / Performance

    -

    -

    -

    -

    C

    P0A40-808

    Drive Motor "A" Position Sensor Circuit Range / Performance

    -

    -

    -

    -

    C

    P0A41-245

    Drive Motor "A" Position Sensor Circuit Low

    -

    -

    -

    -

    M

    P0A45-669

    Drive Motor "B" Position Sensor Circuit

    -

    -

    -

    -

    N

    P0A46-120

    Drive Motor "B" Position Sensor Circuit Range / Performance

    -

    -

    -

    -

    F

    P0A46-126

    Drive Motor "B" Position Sensor Circuit Range / Performance

    -

    -

    -

    -

    F

    P0A46-171

    Drive Motor "B" Position Sensor Circuit Range / Performance

    -

    -

    -

    -

    F

    P0A46-671

    Drive Motor "B" Position Sensor Circuit Range / Performance

    -

    -

    -

    -

    N

    P0A46-695

    Drive Motor "B" Position Sensor Circuit Range / Performance

    -

    -

    -

    -

    G

    P0A46-814

    Drive Motor "B" Position Sensor Circuit Range / Performance

    -

    -

    -

    -

    G

    P0A47-670

    Drive Motor "B" Position Sensor Circuit Low

    -

    -

    -

    -

    N

    P0A4B-253

    Generator Position Sensor Circuit

    -

    -

    -

    -

    O

    P0A4C-513

    Generator Position Sensor Circuit Range / Performance

    -

    -

    -

    -

    O

    P0A4C-518

    Generator Position Sensor Circuit Range / Performance

    -

    -

    -

    -

    C

    P0A4C-811

    Generator Position Sensor Circuit Range / Performance

    -

    -

    -

    -

    C

    P0A4D-255

    Generator Position Sensor Circuit Low

    -

    -

    -

    -

    O

    P0A51-174

    Drive Motor "A" Current Sensor Circuit

    -

    -

    -

    -

    -

    P0A55-687

    Drive Motor "B" Current Sensor Circuit

    -

    -

    -

    -

    -

    P0A78-113

    Drive Motor "A" Inverter Performance

    -

    -

    -

    -

    D

    P0A78-121

    Drive Motor "A" Inverter Performance

    -

    -

    -

    -

    L

    P0A78-128

    Drive Motor "A" Inverter Performance

    -

    -

    -

    -

    D

    P0A78-202

    Drive Motor "A" Inverter Performance

    -

    -

    -

    -

    -

    P0A78-279

    Drive Motor "A" Inverter Performance

    -

    -

    -

    -

    A

    P0A78-282

    Drive Motor "A" Inverter Performance

    -

    -

    -

    -

    A

    P0A78-284

    Drive Motor "A" Inverter Performance

    -

    -

    -

    -

    E

    P0A78-286

    Drive Motor "A" Inverter Performance

    -

    -

    -

    -

    E

    P0A78-287

    Drive Motor "A" Inverter Performance

    -

    -

    -

    -

    A

    P0A78-548

    Drive Motor "A" Inverter Performance

    -

    -

    -

    -

    A

    P0A78-555

    Drive Motor "A" Inverter Performance

    -

    -

    -

    -

    A

    P0A78-807

    Drive Motor "A" Inverter Performance

    -

    -

    -

    -

    A

    P0A79-119

    Drive Motor "B" Inverter Performance

    -

    -

    -

    -

    A

    P0A79-125

    Drive Motor "B" Inverter Performance

    -

    -

    -

    -

    A

    P0A79-136

    Drive Motor "B" Inverter Performance

    -

    -

    -

    -

    H

    P0A79-170

    Drive Motor "B" Inverter Performance

    -

    -

    -

    -

    A

    P0A79-692

    Drive Motor "B" Inverter Performance

    -

    -

    -

    -

    I

    P0A79-694

    Drive Motor "B" Inverter Performance

    -

    -

    -

    -

    A

    P0A79-696

    Drive Motor "B" Inverter Performance

    -

    -

    -

    -

    I

    P0A79-712

    Drive Motor "B" Inverter Performance

    -

    -

    -

    -

    H

    P0A79-716

    Drive Motor "B" Inverter Performance

    -

    -

    -

    -

    -

    P0A79-813

    Drive Motor "B" Inverter Performance

    -

    -

    -

    -

    A

    P0A7A-122

    Generator Inverter Performance

    -

    -

    -

    -

    D

    P0A7A-130

    Generator Inverter Performance

    -

    -

    -

    -

    D

    P0A7A-203

    Generator Inverter Performance

    -

    -

    -

    -

    -

    P0A7A-322

    Generator Inverter Performance

    -

    -

    -

    -

    E

    P0A7A-324

    Generator Inverter Performance

    -

    -

    -

    -

    E

    P0A7A-325

    Generator Inverter Performance

    -

    -

    -

    -

    A

    P0A7A-810

    Generator Inverter Performance

    -

    -

    -

    -

    A

    P0A90-251

    Drive Motor "A" Performance

    -

    -

    -

    -

    P

    P0A90-509

    Drive Motor "A" Performance

    -

    -

    -

    -

    P

    P0A91-702

    Drive Motor "B" Performance

    -

    -

    -

    -

    R

    P0A91-705

    Drive Motor "B" Performance

    -

    -

    -

    -

    R

    P0A92-261

    Hybrid Generator Performance

    -

    -

    -

    -

    Q

    P0A92-521

    Hybrid Generator Performance

    -

    -

    -

    -

    Q

    P0A93-346

    Inverter Cooling System Performance

    -

    -

    -

    -

    B

    P0A94-127

    DC / DC Converter Performance

    -

    -

    -

    -

    L

    P0A94-172

    DC / DC Converter Performance

    -

    -

    -

    -

    J

    P0A94-550

    DC / DC Converter Performance

    -

    -

    -

    -

    A

    P0A94-553

    DC / DC Converter Performance

    -

    -

    -

    -

    K

    P0A94-557

    DC / DC Converter Performance

    -

    -

    -

    -

    K

    P0AA1-231

    Hybrid Battery Positive Contactor Circuit Stuck Closed

    -

    -

    -

    -

    -

    P0AA1-233

    Hybrid Battery Positive Contactor Circuit Stuck Closed

    -

    -

    -

    -

    -

    P0AA4-232

    Hybrid Battery Negative Contactor Circuit Stuck Closed

    -

    -

    -

    -

    -

    P0AA6-526

    Hybrid Battery Voltage System Isolation Fault

    -

    -

    -

    -

    -

    P0AA6-611

    Hybrid Battery Voltage System Isolation Fault

    -

    -

    -

    -

    -

    P0AA6-612

    Hybrid Battery Voltage System Isolation Fault

    -

    -

    -

    -

    -

    P0AA6-613

    Hybrid Battery Voltage System Isolation Fault

    -

    -

    -

    -

    -

    P0AA6-614

    Hybrid Battery Voltage System Isolation Fault

    -

    -

    -

    -

    -

    P0AA6-655

    Hybrid Battery Voltage System Isolation Fault

    -

    -

    -

    -

    -

    P0AA7-727

    Hybrid Battery Voltage Isolation Sensor Circuit

    -

    -

    -

    -

    -

    P0AC0-817

    Hybrid Battery Pack Current Sensor Circuit Range / Performance

    -

    -

    -

    -

    -

    P0ADB-227

    Hybrid Battery Positive Contactor Control Circuit Low

    -

    -

    -

    -

    -

    P0ADC-226

    Hybrid Battery Positive Contactor Control Circuit High

    -

    -

    -

    -

    -

    P0ADF-229

    Hybrid Battery Negative Contactor Control Circuit Low

    -

    -

    -

    -

    -

    P0AE0-228

    Hybrid Battery Negative Contactor Control Circuit High

    -

    -

    -

    -

    -

    P0AE2-773

    Hybrid Battery Precharge Contactor Circuit Stuck Closed

    -

    -

    -

    -

    -

    P0AE6-225

    Hybrid Battery Precharge Contactor Control Circuit Low

    -

    -

    -

    -

    -

    P0AE7-224

    Hybrid Battery Precharge Contactor Control Circuit High

    -

    -

    -

    -

    -

    P0AEE-277

    Motor Inverter Temperature Sensor "A" Circuit Range / Performance

    -

    -

    -

    -

    B

    P0AEF-275

    Drive Motor Inverter Temperature Sensor "A" Circuit Low

    -

    -

    -

    -

    -

    P0AF0-274

    Drive Motor Inverter Temperature Sensor "A" Circuit High

    -

    -

    -

    -

    -

    P0AF1-276

    Drive Motor Inverter Temperature Sensor "A" Circuit Intermittent / Erratic

    -

    -

    -

    -

    B

    P0AF3-676

    Sensor of Rear Motor Inverter Temperature

    -

    -

    -

    -

    B

    P0AF4-673

    Sensor of Rear Motor Inverter Temperature (Open / GND Short)

    -

    -

    -

    -

    -

    P0AF5-674

    Sensor of Rear Motor Inverter Temperature (Circulate of Power Supply)

    -

    -

    -

    -

    -

    P0AF6-675

    Drive Motor Inverter Temperature Sensor "B" Circuit Intermittent / Erratic

    -

    -

    -

    -

    B

    P0AFC-150

    Hybrid Battery Pack Sensor Module

    -

    -

    -

    -

    -

    P0B23-129

    Hybrid Battery "A" Voltage

    -

    -

    -

    -

    -

    P0BCD-315

    Generator Inverter Temperature Sensor Circuit Range / Performance

    -

    -

    -

    -

    B

    P0BCE-313

    Generator Inverter Temperature Sensor Circuit Low

    -

    -

    -

    -

    -

    P0BCF-312

    Generator Inverter Temperature Sensor Circuit High

    -

    -

    -

    -

    -

    P0BD0-314

    Generator Inverter Temperature Sensor Circuit Intermittent / Erratic

    -

    -

    -

    -

    B

    P0BEA-290

    Drive Motor "A" Phase V Current Sensor Circuit Range / Performance

    -

    -

    -

    -

    A

    P0BEE-298

    Drive Motor "A" Phase W Current Sensor Circuit Range / Performance

    -

    -

    -

    -

    A

    P0BF6-683

    Drive Motor "B" Phase V Current Sensor Circuit Range / Performance

    -

    -

    -

    -

    A

    P0BFA-685

    Drive Motor "B" Phase W Current Sensor Circuit Range / Performance

    -

    -

    -

    -

    A

    P0C19-306

    Drive Motor "A" Torque Delivered Performance

    -

    -

    -

    -

    P

    P0C1A-704

    Drive Motor "B" Torque Delivered Performance

    -

    -

    -

    -

    R

    P0C30-390

    Hybrid Battery Pack State of Charge High

    -

    -

    -

    -

    -

    P0C39-626

    DC / DC Converter Temperature Sensor "A" Range / Performance

    -

    -

    -

    -

    B

    P0C3A-621

    DC / DC Converter Temperature Sensor "A" Low

    -

    -

    -

    -

    -

    P0C3B-622

    DC / DC Converter Temperature Sensor "A" High

    -

    -

    -

    -

    -

    P0C3C-625

    DC / DC Converter Temperature Sensor "A" Intermittent / Erratic

    -

    -

    -

    -

    B

    P0C3E-628

    DC / DC Converter Temperature Sensor "B" Range / Performance

    -

    -

    -

    -

    B

    P0C3F-623

    DC / DC Converter Temperature Sensor "B" Low

    -

    -

    -

    -

    -

    P0C40-624

    DC / DC Converter Temperature Sensor "B" High

    -

    -

    -

    -

    -

    P0C41-627

    DC / DC Converter Temperature Sensor "B" Intermittent / Erratic

    -

    -

    -

    -

    B

    P0C73-776

    Motor Electronics Coolant Pump "A" Control Performance

    -

    -

    -

    -

    -

    P0C76-523

    Hybrid Battery System Discharge Time Too Long

    -

    -

    -

    -

    -

    P0CA3-442

    DC/DC Converter Step Up Voltage Performance

    -

    -

    -

    -

    A

    P0D2E-565

    Drive Motor "A" Inverter Voltage Sensor Circuit Range / Performance

    -

    -

    -

    -

    A

    P0D2E-586

    Drive Motor "A" Inverter Voltage Sensor Circuit Range / Performance

    -

    -

    -

    -

    -

    P0D2F-266

    Drive Motor "A" Inverter Voltage Sensor Circuit Low

    -

    -

    -

    -

    -

    P0D30-267

    Drive Motor "A" Inverter Voltage Sensor Circuit High

    -

    -

    -

    -

    -

    P0E05-328

    Generator Phase V Current Sensor Circuit Range / Performance

    -

    -

    -

    -

    A

    P0E09-336

    Generator Phase W Current Sensor Circuit Range / Performance

    -

    -

    -

    -

    A

    P0E32-564

    DC/DC Converter Voltage Sensor "A" Range / Performance

    -

    -

    -

    -

    A

    P0E32-585

    DC/DC Converter Voltage Sensor "A" Range / Performance

    -

    -

    -

    -

    -

    P0E33-589

    DC/DC Converter Voltage Sensor "A" Low

    -

    -

    -

    -

    -

    P0E34-590

    DC/DC Converter Voltage Sensor "A" High

    -

    -

    -

    -

    -

    P0E71-344

    Generator Torque Delivered Performance

    -

    -

    -

    -

    Q

    P1606-308

    Collision has been detected or Collision Sensor Connection (Open)

    -

    -

    -

    -

    -

    -

    P1606-317

    Collision has been detected or Collision Sensor Connection (Open)

    -

    -

    -

    -

    -

    -

    P1C2A-155

    Generator A/D Converter Circuit

    -

    -

    -

    -

    -

    P1C2B-192

    Drive Motor "A" A/D Converter Circuit

    -

    -

    -

    -

    -

    P1C2C-706

    Drive Motor "B" A/D Converter Circuit

    -

    -

    -

    -

    -

    P1C2D-587

    Hybrid Battery Voltage / DC/DC Converter Voltage Correlation

    -

    -

    -

    -

    -

    P1C3C-294

    Drive Motor "A" Phase V Current Sensor Correlation

    -

    -

    -

    -

    A

    P1C3D-302

    Drive Motor "A" Phase W Current Sensor Correlation

    -

    -

    -

    -

    A

    P1C3E-333

    Generator Phase V Current Sensor Correlation

    -

    -

    -

    -

    A

    P1C3F-341

    Generator Phase W Current Sensor Correlation

    -

    -

    -

    -

    A

    P1C4A-288

    Drive Motor "A" Phase V Current Sensor Sub Circuit Range / Performance

    -

    -

    -

    -

    A

    P1C4F-296

    Drive Motor "A" Phase W Current Sensor Sub Circuit Range / Performance

    -

    -

    -

    -

    A

    P1C54-326

    Generator Phase V Current Sensor Sub Circuit Range / Performance

    -

    -

    -

    -

    A

    P1C59-334

    Generator Phase W Current Sensor Sub Circuit Range / Performance

    -

    -

    -

    -

    A

    P1C6D-501

    Drive Motor "A" Phase V Current Sensor Offset Range / Performance

    -

    -

    -

    -

    A

    P1C6E-502

    Drive Motor "A" Phase W Current Sensor Offset Range / Performance

    -

    -

    -

    -

    A

    P1C6F-688

    Drive Motor "B" Phase V Current Sensor Offset Range / Performance

    -

    -

    -

    -

    A

    P1C70-689

    Drive Motor "B" Phase W Current Sensor Offset Range / Performance

    -

    -

    -

    -

    A

    P1C71-515

    Generator Phase V Current Sensor Offset Range / Performance

    -

    -

    -

    -

    A

    P1C72-516

    Generator Phase W Current Sensor Offset Range / Performance

    -

    -

    -

    -

    A

    P1C73-512

    Sensor Standard Voltage "F" Circuit / Open

    -

    -

    -

    -

    -

    P1CA6-156

    Generator Control Module Malfunction

    -

    -

    -

    -

    -

    P1CA7-193

    Drive Motor Control Module Malfunction

    -

    -

    -

    -

    -

    P1CA8-708

    Drive Motor "B" Control Module Malfunction

    -

    -

    -

    -

    -

    P1CAC-200

    Generator Position Sensor Angle Malfunction

    -

    -

    -

    -

    -

    P1CAD-168

    Drive Motor "A" Position Sensor Angle Malfunction

    -

    -

    -

    -

    -

    P1CAE-715

    Drive Motor "B" Position Sensor Angle Malfunction

    -

    -

    -

    -

    -

    P1CAF-792

    Generator Position Sensor REF Signal Cycle Malfunction

    -

    -

    -

    -

    -

    P1CB0-795

    Drive Motor "A" Position Sensor REF Signal Cycle Malfunction

    -

    -

    -

    -

    -

    P1CB1-798

    Drive Motor "B" Position Sensor REF Signal Cycle Malfunction

    -

    -

    -

    -

    -

    P1CB2-793

    Generator Position Sensor REF Signal Stop Malfunction

    -

    -

    -

    -

    -

    P1CB3-796

    Drive Motor "A" Position Sensor REF Signal Stop Malfunction

    -

    -

    -

    -

    -

    P1CB4-799

    Drive Motor "B" Position Sensor REF Signal Stop Malfunction

    -

    -

    -

    -

    -

    P2120-152

    Throttle / Pedal Position Sensor / Switch "D" Circuit

    -

    -

    -

    -

    -

    P2121-106

    Throttle / Pedal Position Sensor / Switch "D" Circuit Range / Performance

    -

    -

    -

    -

    -

    P2122-104

    Throttle / Pedal Position Sensor / Switch "D" Circuit Low Input

    -

    -

    -

    -

    -

    P2123-105

    Throttle / Pedal Position Sensor / Switch "D" Circuit High Input

    -

    -

    -

    -

    -

    P2125-153

    Throttle / Pedal Position Sensor / Switch "E" Circuit

    -

    -

    -

    -

    -

    P2126-109

    Throttle / Pedal Position Sensor / Switch "E" Circuit Range / Performance

    -

    -

    -

    -

    -

    P2127-107

    Throttle / Pedal Position Sensor / Switch "E" Circuit Low Input

    -

    -

    -

    -

    -

    P2128-108

    Throttle / Pedal Position Sensor / Switch "E" Circuit High Input

    -

    -

    -

    -

    -

    P2138-110

    Throttle / Pedal Position Sensor / Switch "D" / "E" Voltage Correlation

    -

    -

    -

    -

    -

    P2138-154

    Throttle / Pedal Position Sensor / Switch "D" / "E" Voltage Correlation

    -

    -

    -

    -

    -

    P2228-268

    Barometric Pressure Sensor "A" Circuit Low

    -

    -

    -

    -

    -

    P2229-269

    Barometric Pressure Sensor "A" Circuit High

    -

    -

    -

    -

    -

    P2511-149

    HV CPU Power Relay Sense Circuit Intermittent No Continuity

    -

    -

    -

    -

    -

    P2532-772

    Ignition Switch Run Position Circuit High

    -

    -

    -

    -

    -

    P3000-388

    Battery Control System

    -

    -

    -

    -

    -

    P3000-389

    Battery Control System

    -

    -

    -

    -

    -

    P3000-603

    Battery Control System

    -

    -

    -

    -

    -

    P3004-131

    High Voltage Power Resource

    -

    -

    -

    -

    -

    P3004-132

    High Voltage Power Resource

    -

    -

    -

    -

    -

    P3004-133

    High Voltage Power Resource

    -

    -

    -

    -

    -

    P3004-800

    High Voltage Power Resource

    -

    -

    -

    -

    -

    P3004-801

    High Voltage Power Resource

    -

    -

    -

    -

    -

    P3004-803

    High Voltage Power Resource

    -

    -

    -

    -

    -

    P3107-213

    Lost Communication with Airbag System Control Module

    -

    -

    -

    -

    -

    P3107-214

    Lost Communication with Airbag System Control Module

    -

    -

    -

    -

    -

    P3107-215

    Lost Communication with Airbag System Control Module

    -

    -

    -

    -

    -

    P3108-536

    Lost Communication with A/C System Control Module

    -

    -

    -

    -

    -

    P310A-711

    Communication Error from MGR to MG2

    -

    -

    -

    -

    -

    P310B-662

    Communication Error from MG2 to MGR

    -

    -

    -

    -

    -

    P3110-223

    HV Main Relay

    -

    -

    -

    -

    -

    P3133-659

    Communication Error from Generator to Drive Motor "A"

    -

    -

    -

    -

    -

    P3134-661

    Communication Error from Drive Motor "A" to Generator

    -

    -

    -

    -

    -

    P3147-239

    Transmission system

    -

    -

    -

    -

    -

    P3147-240

    Transmission system

    -

    -

    -

    -

    -

    P3147-241

    Transmission system

    -

    -

    -

    -

    -

    P3147-242

    Transmission system

    -

    -

    -

    -

    -

    P314A-828

    Inverter Coolant Pump Speed Signal

    -

    -

    -

    -

    -

    P321E-318

    All HV Gate Blocking Range/Performance

    -

    -

    -

    -

    -

    P321F-319

    Part of HV Gate Blocking Range/Performance

    -

    -

    -

    -

    -

    P324E-788

    MG-ECU Power Relay Intermittent Circuit

    -

    -

    -

    -

    -

    P33C1-684

    Drive Motor "B" Phase V Current Sensor Sub Circuit Range / Performance

    -

    -

    -

    -

    A

    P33C6-686

    Drive Motor "B" Phase W Current Sensor Sub Circuit Range / Performance

    -

    -

    -

    -

    A

    P33D8-677

    Drive Motor "B" Phase V Current Sensor Correlation

    -

    -

    -

    -

    A

    P33D9-678

    Drive Motor "A" Phase W Current Sensor Correlation

    -

    -

    -

    -

    A

    U0100-530

    Lost Communication with ECM / PCM "A"

    -

    -

    -

    -

    -

    U0110-159

    Lost Communication with Drive Motor Control Module "A"

    -

    -

    -

    -

    -

    U0110-160

    Lost Communication with Drive Motor Control Module "A"

    -

    -

    -

    -

    -

    U0110-656

    Lost Communication with Drive Motor Control Module "A"

    -

    -

    -

    -

    -

    U0110-657

    Lost Communication with Drive Motor Control Module "A"

    -

    -

    -

    -

    -

    U0126-735

    Lost Communication with Steering Angle Sensor Module

    -

    -

    -

    -

    -

    U0129-527

    Lost Communication with Brake System Control Module

    -

    -

    -

    -

    -

    U0129-528

    Lost Communication with Brake System Control Module

    -

    -

    -

    -

    -

    U0140-146

    Communication Error from Body ECU to HV ECU

    -

    -

    -

    -

    -

    U0151-763

    Communication Error from Airbag ECU to HV ECU

    -

    -

    -

    -

    -

    U0164-827

    Communication Error from A/C ECU to HV ECU

    -

    -

    -

    -

    -

    U0424-537

    Invalid Data Received from HVAC Control Module

    -

    -

    -

    -

    -

    U1107-436

    Lost Communication with Power Management Module

    -

    -

    -

    -

    -

    Tip:

    The "Example of Multiple DTCs being Output" below is only one example of a malfunction condition. Therefore, a determination should not be made based on this alone.

    1. Example of Multiple DTCs being Output:

    2. The power supply of the microcomputer decreases while the vehicle is being driven.

      1. DTCs are detected and the vehicle behavior is as follows.

      • Detected DTCs

      • P06B0-163 (Sensor Power Supply "A" Circuit / Open): Microcomputer malfunction*

      • P0A40-506 (Drive Motor "A" Position Sensor Circuit Range / Performance): System malfunction*

      • P0A40-500 (Drive Motor "A" Position Sensor Circuit Range / Performance): Sensor and actuator circuit malfunction*

        • *: Check the priority level in the "DTC Order of Priority" chart above.

      • Vehicle Behavior

      • System stopped

    3. The inspection order of priority is: Microcomputer circuit → power source circuit → communication circuit → sensor and actuator circuit → system circuit. Therefore, check the repair procedure for P06B0-163.

    4. Follow the repair procedures and replace the inverter assembly. Finish the repair.

    It is possible to check only the specified malfunctioning parts without having to check irrelevant parts.