COWL TOP SIDE PANEL ASSEMBLY REPLACEMENT



  1. REMOVAL

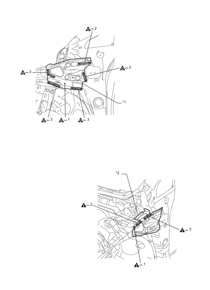
    Symbol meaning
    A0050K6 Remove Weld Points
    A0050JA Remove Weld Points

      REMOVAL POINT

    1. After removing the *1, remove the *2.

    A0050ESE02
    A0050HVE01
  2. INSTALLATION

    Symbol meaning
    A0050K6 Remove Weld Points
    A0050CS Plug Weld
    A0050HG Plug Weld

      INSTALLATION POINT

    1. Divide a new part of front body pillar reinforce upper in to *1 and *2 at the weld points. After welding the *2 to the vehicle side, install the *1.

    2. After applying the top coat, apply anti-rust agent to the internal panel portion of the closed section structural weld points.

    A0050D1E01
    A0050J7E01