FRONT FENDER APRON ASSEMBLY REPLACEMENT

B002F24


  1. REMOVAL

    Symbol Meaning
    B002F5A Remove Weld Points
    B002F3W Remove Weld Points
    B002F3X Remove Weld Points
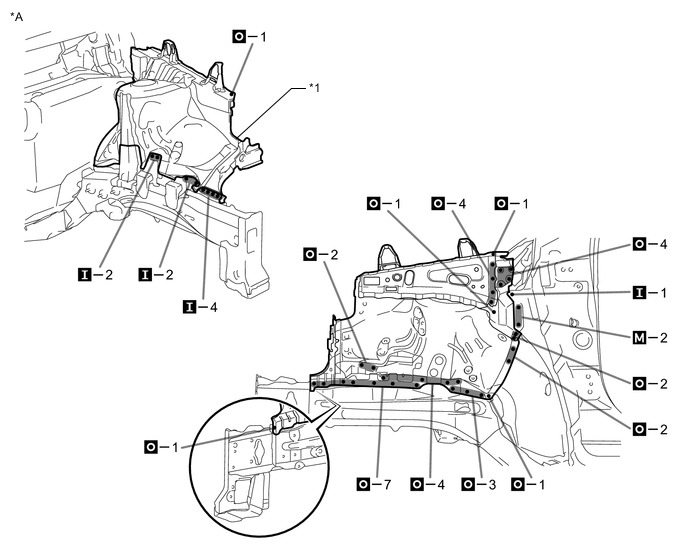
    B002F5DC01
    *A LH - -
    B002F2LC01
    *A LH - -
    B002F58C01
    *A RH - -
    B002F4EC01
    *A RH - -
  2. INSTALLATION

    Symbol Meaning
    B002F3I Plug Weld
    B002F3M Plug Weld
    B002F4M Plug Weld

    1. Inspect the fitting of the related parts around the new parts before welding. This affects the appearance of the finish.

    2. Temporarily install the new parts and measure each part of the new parts in accordance with the body dimension diagram. (See the body dimensions)

    3. Make sure to attach correctly in accordance with the body dimension diagram as this part affects the front wheel alignment.

      B002F4RC01
      *A LH - -
      *1 FRONT FENDER APRON SUB-ASSEMBLY - -
      B002F42C01
      *A LH - -
      B002F3OC01
      *A RH - -
      *1 FRONT FENDER APRON SUB-ASSEMBLY - -
      B002F35C01
      *A RH - -
    4. After welding, apply body sealer and undercoating to the corresponding parts. (See the painting /coating)

    5. After applying the top coat, apply anti-rust agent to the internal panel portion of the closed section structural weld points.