КРОНШТЕЙН РАДИАТОРА ЗАМЕНА УЗЛОВ
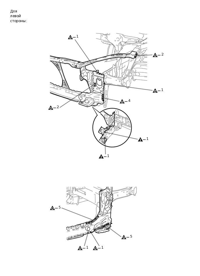
СНЯТИЕ
Значения символов

Точки сварки при снятии

Точки сварки при снятии
УСТАНОВКА
Значения символов

Сварка электрозаклепкой

Сварка электрозаклепкой
ТОЧКА УСТАНОВКИ
Проверьте сопряжение новых деталей с прилегающими деталями кузова перед сваркой. От того, насколько правильно сопрягаются детали друг с другом, будет зависеть после сборки внешний вид узла и всего автомобиля.
Установите не закрепляя новые детали и измерьте необходимые размеры в соответствии со схемой измерений (См. размеры кузова.)
После нанесения верхнего слоя покрытия нанесите антикоррозийное средство на сварные точки несущих рабочую нагрузку швов замкнутого профиля с внутренней стороны панели.
Измерьте размеры перед установкой фар.
Область |
Расстояние |
Область |
Измерение |
|---|---|---|---|
*a |
1360 мм (53,54 дюйма) |
*b |
1278 мм (50,31 дюйма) |
*c |
1097 мм (43,19 дюйма) |
*d |
888 мм (34,96 дюйма) |
*e |
881 мм (34,68 дюйма) |
*f |
889 мм (35,00 дюйма) |
*g |
805 мм (31,69 дюйма) |
- |
- |