ILLUSTRATION
| *A | for LHD | *B | w/ Automatic High Beam System |
| *1 | DAYTIME RUNNING LIGHT ASSEMBLY LH | *2 | DAYTIME RUNNING LIGHT ASSEMBLY RH |
| *3 | REAR HEIGHT CONTROL SENSOR SUB-ASSEMBLY | *4 | DRL RELAY |
| *5 | DIM RELAY | *6 | SIDE TURN SIGNAL LIGHT ASSEMBLY RH |
| *7 | SIDE TURN SIGNAL LIGHT ASSEMBLY LH | *8 | FORWARD RECOGNITION CAMERA |
| *9 | FOG LIGHT ASSEMBLY LH | *10 | FOG LIGHT ASSEMBLY RH |
| *11 | BRAKE BOOSTER WITH MASTER CYLINDER (SKID CONTROL ECU) | *12 | ENGINE ROOM RELAY BLOCK AND JUNCTION BLOCK ASSEMBLY - ECU-B FUSE - DC/DC FUSE - P/I 2 FUSE - H-LP RH HI FUSE - H-LP LH HI FUSE - H-LP HI MAIN FUSE |
| *13 | HEADLIGHT ASSEMBLY LH - HEADLIGHT LEVELING MOTOR LH - LIGHT CONTROL ECU LH |
*14 | HEADLIGHT ASSEMBLY RH - HEADLIGHT LEVELING MOTOR RH - LIGHT CONTROL ECU RH |
| *15 | NO. 1 INTEGRATION RELAY | - | - |
ILLUSTRATION
| *A | for RHD | *B | w/ Automatic High Beam System |
| *C | for LED Headlight | - | - |
| *1 | DAYTIME RUNNING LIGHT ASSEMBLY LH | *2 | DAYTIME RUNNING LIGHT ASSEMBLY RH |
| *3 | REAR HEIGHT CONTROL SENSOR SUB-ASSEMBLY | *4 | DRL RELAY |
| *5 | DIM RELAY | *6 | SIDE TURN SIGNAL LIGHT ASSEMBLY RH |
| *7 | SIDE TURN SIGNAL LIGHT ASSEMBLY LH | *8 | FORWARD RECOGNITION CAMERA |
| *9 | FOG LIGHT ASSEMBLY LH | *10 | FOG LIGHT ASSEMBLY RH |
| *11 | BRAKE BOOSTER WITH MASTER CYLINDER (SKID CONTROL ECU) | *12 | ENGINE ROOM RELAY BLOCK AND JUNCTION BLOCK ASSEMBLY - ECU-B FUSE - DC/DC FUSE - P/I 2 FUSE - H-LP RH HI FUSE - H-LP LH HI FUSE - H-LP HI MAIN FUSE |
| *13 | HEADLIGHT ASSEMBLY LH - HEADLIGHT LEVELING MOTOR LH - LIGHT CONTROL ECU LH (for LED Headlight) |
*14 | HEADLIGHT ASSEMBLY RH - HEADLIGHT LEVELING MOTOR RH - LIGHT CONTROL ECU RH (for LED Headlight) |
| *15 | NO. 1 INTEGRATION RELAY | - | - |
ILLUSTRATION
| *1 | CENTER STOP LIGHT SET | *2 | CENTER STOP LIGHT WIRE HARNESS |
| *3 | LICENSE PLATE LIGHT ASSEMBLY LH | *4 | LICENSE PLATE LIGHT ASSEMBLY RH |
| *5 | REAR COMBINATION LIGHT ASSEMBLY LH | *6 | REAR COMBINATION LIGHT ASSEMBLY RH |
ILLUSTRATION
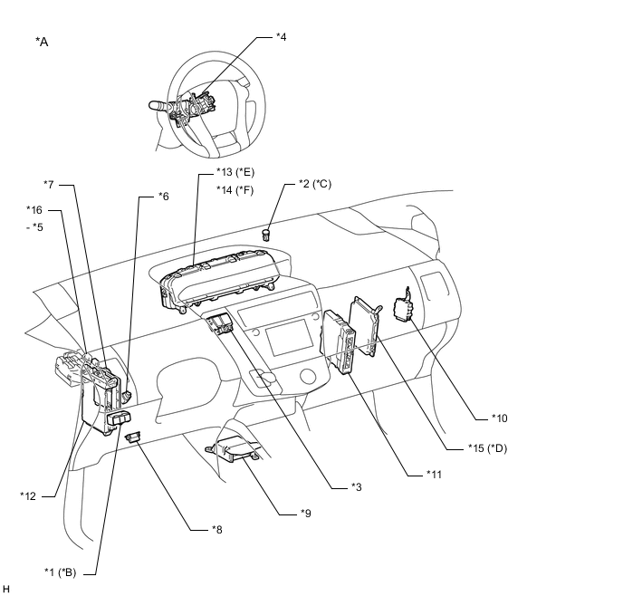
| *A | for LHD | *B | w/ Automatic High Beam System |
| *C | w/ Automatic Light Control | *D | w/ Intelligent Parking Assist System |
| *E | w/ Multi-information Display | *F | w/o Multi-information Display |
| *1 | INTEGRATION CONTROL AND PANEL ASSEMBLY (AUTO HIGH BEAM SWITCH) | *2 | AUTOMATIC LIGHT CONTROL SENSOR |
| *3 | HAZARD WARNING SIGNAL SWITCH ASSEMBLY | *4 | HEADLIGHT DIMMER SWITCH ASSEMBLY |
| *5 | REAR FOG LIGHT RELAY | *6 | STOP LIGHT SWITCH ASSEMBLY |
| *7 | MAIN BODY ECU (MULTIPLEX NETWORK BODY ECU) | *8 | DLC3 |
| *9 | AIRBAG ECU ASSEMBLY | *10 | HEADLIGHT LEVELING ECU ASSEMBLY |
| *11 | HYBRID VEHICLE CONTROL ECU | *12 | INSTRUMENT PANEL JUNCTION BLOCK ASSEMBLY - FR FOG RELAY - TAIL RELAY - FR FOG FUSE - RR FOG FUSE - TAIL FUSE - GAUGE FUSE - STOP FUSE - ECU-IG NO. 2 FUSE |
| *13 | COMBINATION METER SUB-ASSEMBLY | *14 | METER CIRCUIT PLATE |
| *15 | PARKING ASSIST ECU | *16 | RELAY BLOCK ASSEMBLY |
ILLUSTRATION
| *A | for RHD | *B | w/ Automatic High Beam System |
| *C | for LED Headlight | *D | w/ Manual Headlight Beam Level Control |
| *E | Light Control Switch LH Side Type | *F | Light Control Switch RH Side Type |
| *G | w/ Intelligent Parking Assist System | - | - |
| *1 | INTEGRATION CONTROL AND PANEL ASSEMBLY (AUTO HIGH BEAM SWITCH) | *2 | AUTOMATIC LIGHT CONTROL SENSOR |
| *3 | HAZARD WARNING SIGNAL SWITCH ASSEMBLY | *4 | HEADLIGHT DIMMER SWITCH ASSEMBLY |
| *5 | HEADLIGHT LEVELING SWITCH | *6 | REAR FOG LIGHT RELAY |
| *7 | STOP LIGHT SWITCH ASSEMBLY | *8 | MAIN BODY ECU (MULTIPLEX NETWORK BODY ECU) |
| *9 | DLC3 | *10 | AIRBAG ECU ASSEMBLY |
| *11 | HEADLIGHT LEVELING ECU ASSEMBLY | *12 | HYBRID VEHICLE CONTROL ECU |
| *13 | INSTRUMENT PANEL JUNCTION BLOCK ASSEMBLY - FR FOG RELAY - TAIL RELAY - FR FOG FUSE - RR FOG FUSE - TAIL FUSE - GAUGE FUSE - STOP FUSE - ECU-IG NO. 2 FUSE |
*14 | COMBINATION METER SUB-ASSEMBLY |
| *15 | PARKING ASSIST ECU | *16 | RELAY BLOCK ASSEMBLY |