COOLING SYSTEM GENERAL


  1. OUTLINE


    1. The cooling system uses a pressurized forced circulation system with a pressurized reservoir tank.

    2. The pressurized reservoir tank is used to prevent the engine coolant from deteriorating upon contact with external air.

    3. A thermostat with a bypass valve is located on the water inlet housing to maintain suitable temperature distribution in the cooling system.

    4. An aluminum radiator core is used for weight reduction.

    5. A water-cooled type engine oil cooler is used.

    6. Toyota Genuine Super Long Life Coolant (SLLC) is used.

      A01EZFQE01
      Text in Illustration (Models Compliant with EURO 5 Emission Regulations:)
      *A Cold Area Specification Models - -
      *1 Reservoir Tank *2 Radiator Assembly
      *3 Thermostat *4 Compressor Inlet Elbow
      *5 Oil Cooler *6 Electric EGR Control Valve Assembly
      *7 EGR Cooler (EGR Pipe Sub-assembly) *8 Ventilation Pipe Sub-assembly
      *a To Heater *b From Heater
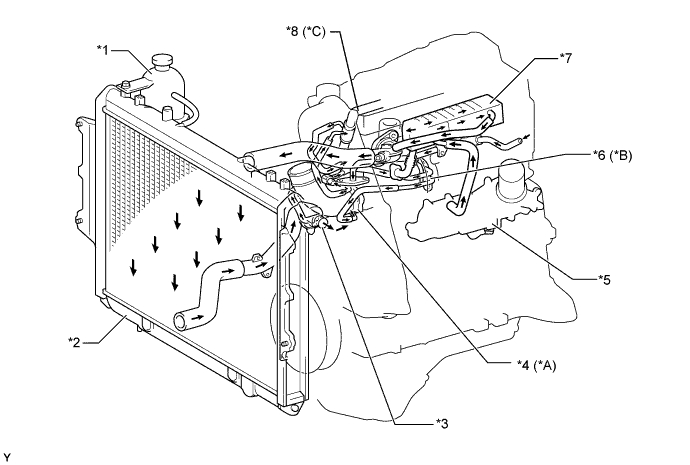
      A01EZE1E02
      Text in Illustration (Models Compliant with EURO 4 Emission Regulations:)
      *A Except Models with Wastegate Valve Type Turbocharger for Morocco *B Models with Variable Nozzle Vane Type Turbocharger
      *C Cold Area Specification Models (Including Models with Variable Nozzle Vane Type Turbocharger for Morocco) - -
      *1 Reservoir Tank *2 Radiator Assembly
      *3 Thermostat *4 Compressor Inlet Elbow
      *5 Oil Cooler *6 Turbo Water Pipe
      *7 EGR Cooler (EGR Pipe Sub-assembly) *8 Ventilation Pipe Sub-assembly
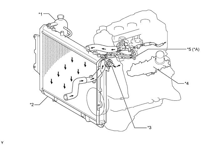
      A01EZD5E04
      Text in Illustration (Except Models Compliant with EURO 5 and EURO 4 Emission Regulation:)
      *A Models with Variable Nozzle Vane Type Turbocharger - -
      *1 Reservoir Tank *2 Radiator Assembly
      *3 Thermostat *4 Oil Cooler
      *5 Turbo Water Pipe - -
  2. SPECIFICATION


    1. Engine Coolant


      1. Toyota Genuine SLLC is used. Maintenance intervals are as shown in the table below:

        Engine Coolant Type Toyota Genuine Super Long Life Coolant (SLLC) or similar high quality ethylene glycol based non-silicate, non-amine, non-nitrite and non-borate coolant with long-life hybrid organic acid technology (coolant with long-life hybrid organic acid technology is a combination of low phosphates and organic acids.) Do not use plain water alone.
        Maintenance Intervals First Time 160000 km (100000 miles)
        Subsequent Every 80000 km (50000 miles)
        Color Pink

        Tech Tips


        • SLLC is pre-mixed (50% coolant and 50% deionized water*1 or 40% coolant and 60% deionized water*2). Therefore, no dilution is needed when SLLC in the vehicle is added or replaced.

          *1: Models for Europe

          *2: Except models for Europe

        • If LLC (red-colored) is mixed with SLLC (pink-colored), the interval for LLC (every 40000 km/25000 miles or 24 months whichever comes first) should be used.

    2. Thermostat

      Thermostat Opening Temperature 80°C to 84°C (176°F to 183°F)