SHIFT AND SELECT LEVER SHAFT REASSEMBLY

PROCEDURE

  1. INSTALL CONTROL SHAFT COVER OIL SEAL

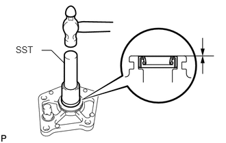
    1. C112481E02

      Using SST and a hammer, install a new control shaft cover oil seal to the control shaft cover.

      09307-12010

      Standard depth

      0 to 0.5 mm (0 to 0.0196 in.)

    2. Coat the lip of the oil seal with MP grease.

  2. INSTALL SHIFT LEVER DAMPER

    1. C327627

      Coat the 2 bolts with adhesive.

      Adhesive

      Toyota Genuine Adhesive 1344, Three Bond 1344 or equivalent

    2. Install the shift lever damper to the shift and select lever shaft with the 2 bolts.

      19 N*m

      190 kgf*cm

      14 ft.*lbf

  3. INSTALL PIN

    1. C276291

      Install the 2 pins to the inner No. 1 shift lever.

      Standard depth

      3.5 to 4.5 mm (0.138 to 0.177 in.)

  4. INSTALL SHIFT GATE PLATE

    1. C116727

      Install the shift gate plate with the 2 bolts.

      8.5 N*m

      87 kgf*cm

      75 in.*lbf

  5. INSTALL SHIFT AND SELECT LEVER SHAFT

    1. C327629

      Coat the shift and select lever boot lip and shift and select lever shaft with MP grease.

    2. Install the shift and select lever boot and control shaft cover to the shift and select lever shaft.

  6. INSTALL INNER NO. 1 SHIFT LEVER

    1. C327630

      Coat the shift interlock plate with MP grease.

    2. Install the inner No. 1 shift lever and shift interlock plate to the shift and select lever shaft.

    3. C203005

      Using a 5 mm pin punch and hammer, tap the slotted spring pin into the inner No. 1 shift lever.

      Standard depth

      0.4 to 1.4 mm (0.0158 to 0.0551 in.)

  7. INSTALL SHIFT AND SELECT LEVER ASSEMBLY

    1. C363622

      Align the 4 shift fork shafts as shown in the illustration.

    2. C113550E07

      Apply seal packing to the manual transmission case as shown in the illustration.

      Seal packing

      Toyota Genuine Seal Packing 1281, Three Bond 1281 or equivalent

      Table 1. Text in Illustration

      *a

      Seal Packing

      Note:

      Assemble parts within 10 minutes of application. Otherwise, the packing (FIPG) material must be removed and reapplied.

    3. Coat the 4 bolts with adhesive.

      Adhesive

      Toyota Genuine Adhesive 1344, Three Bond 1344 or equivalent

    4. C301105

      Install the shift and select lever assembly to the manual transmission case with the 4 bolts.

      19 N*m

      190 kgf*cm

      14 ft.*lbf

  8. INSTALL SHIFT GATE PIN

    1. C116598

      Coat the shift gate pin with adhesive.

      Adhesive

      Toyota Genuine Adhesive 1344, Three Bond 1344 or equivalent

    2. Install the shift gate pin to the manual transmission case.

      30 N*m

      306 kgf*cm

      22 ft.*lbf

  9. INSTALL NO. 2 LOCK BALL ASSEMBLY

    1. C116561

      Coat the No. 2 lock ball with adhesive.

      Adhesive

      Toyota Genuine Adhesive 1344, Three Bond 1344 or equivalent

    2. Install the No. 2 lock ball to the manual transmission case.

      29 N*m

      300 kgf*cm

      22 ft.*lbf

  10. INSTALL NEUTRAL POSITION SWITCH (w/ Stop And Start System)

  11. INSTALL NO. 1 LOCK BALL ASSEMBLY

    1. C116559

      Coat the No. 1 lock ball with adhesive.

      Adhesive

      Toyota Genuine Adhesive 1344, Three Bond 1344 or equivalent

    2. Install the No. 1 lock ball to the manual transmission case.

      39 N*m

      400 kgf*cm

      29 ft.*lbf

  12. INSTALL BACK-UP LIGHT SWITCH ASSEMBLY

    1. C112472E04

      Using SST, install a new gasket and the back-up light switch to the manual transmission case.

      09816-30010

      40 N*m

      410 kgf*cm

      30 ft.*lbf

  13. INSTALL NO. 1 SELECTING BELLCRANK DUST COVER

    1. C116207

      Install the No. 1 selecting bellcrank dust cover to the selecting bellcrank.

  14. INSTALL CONTROL SHIFT LEVER BUSHING

    1. C113636

      Install the control shift lever bushing to the selecting bellcrank.

  15. INSTALL SHIFT SELECTING BELLCRANK ASSEMBLY

    1. C300490

      Install the selecting bellcrank assembly to the manual transmission case with the 2 bolts.

      20 N*m

      204 kgf*cm

      15 ft.*lbf