ПРОКЛАДКА ГОЛОВКИ БЛОКА ЦИЛИНДРОВ УЗЛЫ И ДЕТАЛИ
ИЛЛЮСТРАЦИЯ
*A |
для моделей с системой РОГ |
- |
- |
*1 |
ОХЛАДИТЕЛЬ РОГ В СБОРЕ |
*2 |
КЛАПАН РОГ В СБОРЕ |
*3 |
ТОПЛИВНАЯ РАМПА |
*4 |
ВИБРОИЗОЛЯТОР ФОРСУНКИ |
*5 |
ВПУСКНОЙ КОЛЛЕКТОР |
*6 |
ТРУБА РОГ № 1 |
*7 |
ПЕРЕПУСКНОЙ ШЛАНГ ОХЛАЖДАЮЩЕЙ ЖИДКОСТИ № 1 |
*8 |
ПЕРЕПУСКНОЙ ШЛАНГ ОХЛАЖДАЮЩЕЙ ЖИДКОСТИ № 3 |
*9 |
КОРПУС ДРОССЕЛЬНОЙ ЗАСЛОНКИ С ЭЛЕКТРОДВИГАТЕЛЕМ В СБОРЕ |
*10 |
ПЕРЕПУСКНАЯ ТРУБКА ОХЛАЖДАЮЩЕЙ ЖИДКОСТИ |
*11 |
РАСПОРНАЯ ВТУЛКА ТОПЛИВНОЙ РАМПЫ № 1 |
*12 |
КРОНШТЕЙН ТОПЛИВНОГО ШЛАНГА |
*13 |
ШЛАНГ ПРОДУВКИ |
*14 |
ШЛАНГ СИСТЕМЫ ПРИНУДИТЕЛЬНОЙ ВЕНТИЛЯЦИИ КАРТЕРА № 2 |
*15 |
ТОПЛИВОПРОВОД В СБОРЕ |
*16 |
ПРОКЛАДКА |
*17 |
ПЕРЕПУСКНОЙ ШЛАНГ ОХЛАЖДАЮЩЕЙ ЖИДКОСТИ № 2 |
*18 |
ПРОКЛАДКА № 1 МЕЖДУ ВПУСКНЫМ КОЛЛЕКТОРОМ И ГОЛОВКОЙ |
![]() |
Н*м (кгс*см, фунт-сила-фут) : Номинальный момент затяжки |
● |
Деталь однократного применения |
ИЛЛЮСТРАЦИЯ
*A |
для моделей без системы РОГ |
- |
- |
*1 |
ТОПЛИВНАЯ РАМПА |
*2 |
ВИБРОИЗОЛЯТОР ФОРСУНКИ |
*3 |
ВПУСКНОЙ КОЛЛЕКТОР |
*4 |
ПЕРЕПУСКНОЙ ПАТРУБОК ОХЛАЖДАЮЩЕЙ ЖИДКОСТИ № 1 |
*5 |
ПЕРЕПУСКНОЙ ШЛАНГ ОХЛАЖДАЮЩЕЙ ЖИДКОСТИ № 3 |
*6 |
ПЕРЕПУСКНОЙ ПАТРУБОК ОХЛАЖДАЮЩЕЙ ЖИДКОСТИ № 3 |
*7 |
ПЕРЕПУСКНОЙ ШЛАНГ ОХЛАЖДАЮЩЕЙ ЖИДКОСТИ № 5 |
*8 |
КОРПУС ДРОССЕЛЬНОЙ ЗАСЛОНКИ С ЭЛЕКТРОДВИГАТЕЛЕМ В СБОРЕ |
*9 |
РАСПОРНАЯ ВТУЛКА ТОПЛИВНОЙ РАМПЫ № 1 |
*10 |
КРОНШТЕЙН ТОПЛИВНОГО ШЛАНГА |
*11 |
ШЛАНГ ПРОДУВКИ |
*12 |
ШЛАНГ СИСТЕМЫ ПРИНУДИТЕЛЬНОЙ ВЕНТИЛЯЦИИ КАРТЕРА № 2 |
*13 |
ТОПЛИВОПРОВОД В СБОРЕ |
*14 |
ПРОКЛАДКА |
*15 |
ПЕРЕПУСКНОЙ ШЛАНГ ОХЛАЖДАЮЩЕЙ ЖИДКОСТИ № 1 |
*16 |
ПРОКЛАДКА № 1 МЕЖДУ ВПУСКНЫМ КОЛЛЕКТОРОМ И ГОЛОВКОЙ |
![]() |
Н*м (кгс*см, фунт-сила-фут) : Номинальный момент затяжки |
● |
Деталь однократного применения |
ИЛЛЮСТРАЦИЯ
*1 |
РАСПРЕДЕЛИТЕЛЬНЫЙ ВАЛ |
*2 |
КОЖУХ РАСПРЕДВАЛА В СБОРЕ |
*3 |
ЗУБЧАТОЕ КОЛЕСО РАСПРЕДВАЛА В СБОРЕ |
*4 |
ЗВЕЗДОЧКА РАСПРЕДВАЛА |
*5 |
ЦЕПЬ В СБОРЕ |
*6 |
БАШМАК НАТЯЖИТЕЛЯ ЦЕПИ |
*7 |
ПОДШИПНИК РАСПРЕДВАЛА № 1 |
*8 |
НАТЯЖИТЕЛЬ ЦЕПИ № 1 В СБОРЕ |
*9 |
УСПОКОИТЕЛЬ ЦЕПИ № 1 |
*10 |
РЫЧАГ ПРИВОДА КЛАПАНА № 1 В СБОРЕ |
*11 |
РАСПРЕДВАЛ № 2 |
*12 |
ПОДШИПНИК РАСПРЕДВАЛА № 2 |
*13 |
ФИЛЬТР ГИДРАВЛИЧЕСКОГО КЛАПАНА ИЗМЕНЕНИЯ ФАЗ |
*14 |
НАПРАВЛЯЮЩАЯ ЦЕПНОГО ПРИВОДА ГАЗОРАСПРЕДЕЛИТЕЛЬНОГО МЕХАНИЗМА |
*15 |
МЕХАНИЗМ РЕГУЛИРОВКИ ЗАЗОРА В ПРИВОДЕ КЛАПАНА В СБОРЕ |
*16 |
КРЫШКА ПОДШИПНИКА РАСПРЕДВАЛА № 1 |
*17 |
КРЫШКА ПОДШИПНИКА РАСПРЕДВАЛА № 2 |
*18 |
КРЫШКА ПОДШИПНИКА РАСПРЕДВАЛА № 3 |
*19 |
ПРОКЛАДКА |
- |
- |
![]() |
Н*м (кгс*см, фунт-сила-фут) : Номинальный момент затяжки |
● |
Деталь однократного применения |
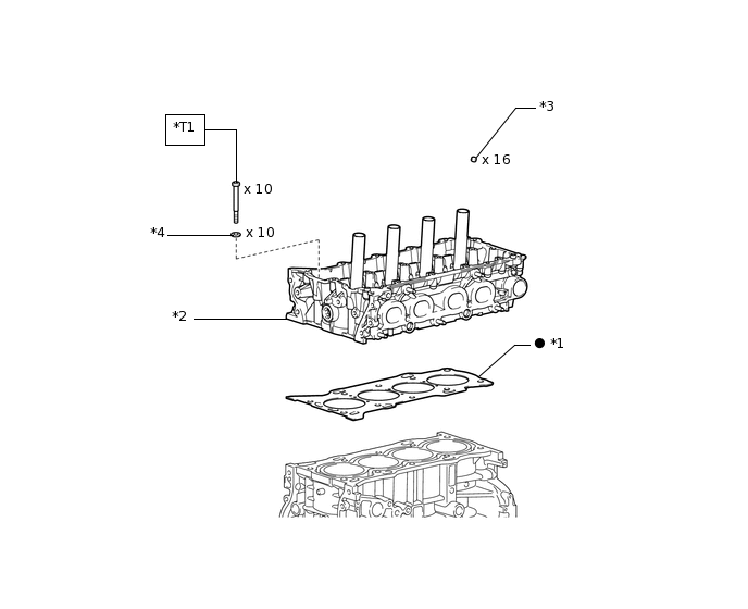
ИЛЛЮСТРАЦИЯ
*1 |
ПРОКЛАДКА ГОЛОВКИ БЛОКА ЦИЛИНДРОВ |
*2 |
ГОЛОВКА БЛОКА ЦИЛИНДРОВ В СБОРЕ |
*3 |
КОЛПАК ШТОКА КЛАПАНА |
*4 |
ПЛОСКАЯ ШАЙБА |
![]() |
Н*м (кгс*см, фунт-сила -дюймы) Номинальный момент затяжки |
● |
Деталь однократного применения |
*T1 |
1-й: 36 Н*м (367 кгс*см, 27 фунт-сила-дюймов) 2-й: 36 Н*м (367 кгс*см, 27 фунт-сила-дюймов) 3-й: Доверните на 90° 4-й: Доверните на 90° |
- |
- |
