СТАРТЕР (для моделей мощностью 1,6 кВт) ПРОВЕРКА


  1. ПРОВЕРЬТЕ ЯКОРЬ СТАРТЕРА В СБОРЕ


    1. Проверьте, нет ли на поверхности коллектора загрязнений и/или следов подгорания.

      При наличии на поверхности загрязнений или следов подгорания отшлифуйте ее наждачной бумагой (№ 400) или на токарном станке.

    2. B007OCNE05
      Обозначения на рисунке
      *a Сегмент

      Проверьте коллектор на обрыв цепи.


      1. Измерьте сопротивление в соответствии со значениями, приведенными в таблице ниже.

        Номинальное сопротивление
        Контакты для подключения диагностического прибора Условие Заданные условия
        Сегмент - сегмент Всегда Менее 1 Ом

        Если результат не соответствует заданному, замените якорь стартера в сборе.

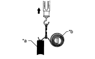
    3. B007VDSE05
      Обозначения на рисунке
      *a Сегмент
      *b Сердечник якоря

      Проверьте коллектор на короткое замыкание.


      1. Измерьте сопротивление в соответствии со значениями, приведенными в таблице ниже.

        Номинальное сопротивление
        Контакты для подключения диагностического прибора Условие Заданные условия
        Сегмент - сердечник якоря Всегда 10 кОм или более

        Если результат не соответствует заданному, замените якорь стартера в сборе.

    4. B007QOP

      Измерьте диаметр коллектора штангенциркулем.

      Номинальный диаметр
      29,0 мм (1,14 дюйма)
      Минимально допустимый диаметр
      28,0 мм (1,10 дюйма)

      Если диаметр меньше минимально допустимого, замените якорь стартера в сборе.

    5. B007SXQ

      Проверьте радиальное биение коллектора.


      1. Поместите вал якоря стартера на V-образные призмы.

      2. Измерьте радиальное биение индикатором часового типа.

        Максимальное биение коллектора
        0,05 мм (0,00197 дюйма)

        Если биение превышает максимально допустимую величину, замените якорь стартера в сборе.

    6. B007PP3

      Измерьте глубину канавок коллектора.

      Номинальная глубина канавок
      0,7 мм (0,0276 дюйма)
      Минимально допустимая глубина канавок
      0,2 мм (0,00787 дюйма)

      Если глубина канавок меньше минимально допустимой, следует проточить канавки ножовочным полотном.

  2. ПРОВЕРЬТЕ ЩЕТКОДЕРЖАТЕЛЬ СТАРТЕРА В СБОРЕ


    1. Измерьте длину щетки штангенциркулем.

      B007PNZE02
      Обозначения на рисунке
      *a Щетка *b Пружина
      *c Длина - -
      Номинальная длина
      14,4 мм (0,567 дюйма)
      Минимально допустимая длина
      9,0 мм (0,354 дюйма)

      Если длина меньше минимально допустимой, замените щеткодержатель стартера и статор стартера в сборе.

    2. B007U28E16
      Обозначения на рисунке
      *a Щетка
      *b Щеточная пружина

      Проверьте нагрузку пружины щетки.


      1. При помощи пружинного динамометра определите усилие в момент отрыва пружины от щетки.

        Номинальная нагрузка пружины
        16 - 20 Н (1,7 - 2,0 кгс, 3,6 - 4,5 фунт-силы)
        Минимально допустимая нагрузка пружины
        6,7 Н (0,7 кгс, 1,5 фунт-силы)

        Если нагрузка меньше минимально допустимой, замените щеткодержатель стартера в сборе.

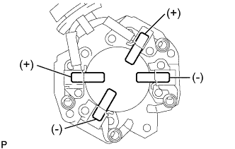
    3. B007TYRE01

      Проверьте изоляцию.


      1. Измерьте сопротивление в соответствии со значениями, приведенными в таблице ниже.

        Номинальное сопротивление
        Подключение диагностического прибора Условие Заданные условия
        Положительный щеткодержатель - отрицательный щеткодержатель Всегда 10 кОм или более

        Если результат не соответствует заданному, замените щеткодержатель стартера в сборе.

  3. ПРОВЕРЬТЕ ПУСКОВУЮ МУФТУ С ЦЕНТРАЛЬНЫМ ПОДШИПНИКОМ В СБОРЕ


    1. Проверьте зубья шестерен планетарной передачи и пусковой муфты с центральным подшипником на наличие следов износа и повреждений.

      Если планетарная передача повреждена, замените ее.

      Если какие-либо шестерни повреждены, замените пусковую муфту с центральным подшипником в сборе.

    2. B007TF5

      Проверьте движение ведущей шестерни муфты.

      Обозначения на рисунке
      B007USN Разблокировка
      B007QIC Заблокировано

      1. Поверните ведущую шестерню муфты по часовой стрелке и проверьте, плавно ли она вращается.

      2. Попытайтесь повернуть ведущую шестерню муфты против часовой стрелки и убедитесь, что вращение блокируется.

        Если ведущая шестерня не вращается плавно по или против часовой стрелки, замените пусковую муфту с центральным подшипником в сборе.

  4. ПРОВЕРЬТЕ ВТЯГИВАЮЩЕЕ РЕЛЕ СТАРТЕРА В СБОРЕ


    1. B007TPH

      Нажмите на плунжер и убедитесь, что он быстро возвращается в исходное положение.

      Если результат не отвечает требованиям, замените втягивающее реле стартера в сборе.

    2. B007SF1E06
      Обозначения на рисунке
      *a Контакт 50
      *b Контакт C

      Проверьте, нет ли обрыва в цепи втягивающей обмотки.


      1. Измерьте сопротивление в соответствии со значениями, приведенными в таблице ниже.

        Номинальное сопротивление
        Подключение диагностического прибора Условие Заданные условия
        Контакт 50 - контакт C Всегда Менее 1 Ом

        Если результат не отвечает требованиям, замените втягивающее реле стартера в сборе.

    3. B007Q3IE06
      Обозначения на рисунке
      *a Контакт 50
      *b Корпус выключателя

      Проверьте, нет ли обрыва в цепи удерживающей обмотки.


      1. Измерьте сопротивление в соответствии со значениями, приведенными в таблице ниже.

        Номинальное сопротивление
        Подключение диагностического прибора Условие Заданные условия
        Контакт 50 - корпус реле Всегда Менее 2 Ом

        Если результат не отвечает требованиям, замените втягивающее реле стартера в сборе.