NOISE FILTER ON-VEHICLE INSPECTION

PROCEDURE


  1. INSPECT RADIO SETTING CONDENSER


    1. With the radio setting condenser installed, check that there is no looseness or other abnormalities.

    2. B005XJKC01
      *a Radio Setting Condenser

      Measure the resistance of the radio setting condenser according to the value(s) in the table below.

      Standard Resistance
      Tester Connection Condition Specified Condition
      1 - Body ground
      • Power switch off

      • High mounted stop light off

      • Window defogger off

      • Luggage compartment room light off

      Below 1 Ω
    3. Remove the bolt.

    4. Disengage the clamp and disconnect the radio setting condenser with wire harness from the vehicle body.

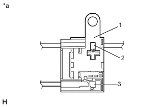
    5. B005ZUMC03
      *a Radio Setting Condenser

      Measure the resistance and voltage of the radio setting condenser according to the value(s) in the table below.

      Standard Resistance
      Tester Connection Condition Specified Condition
      1 - 2
      • Power switch off

      • High mounted stop light off

      • Window defogger off

      • Luggage compartment room light off

      10 kΩ or higher
      1 - 3 10 kΩ or higher
      Standard Voltage
      Tester Connection Condition Specified Condition
      2 - Body ground
      • Power switch on (IG)

      • High mounted stop light off

      • Window defogger off

      • Luggage compartment room light off

      Below 1 V
      3 - Body ground Below 1 V
      2 - Body ground
      • Power switch on (IG)

      • High mounted stop light on

      • Window defogger on

      • Luggage compartment room light on

      11 to 14 V
      3 - Body ground 11 to 14 V