CLUTCH PEDAL(for RHD) ADJUSTMENT

PROCEDURE

  1. INSPECT AND ADJUST CLUTCH PEDAL HEIGHT

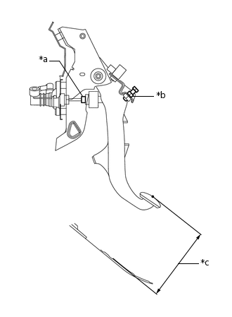
    1. C274599C01

      *a

      Push Rod Play and Free Play Adjust Point

      *b

      Pedal Height Adjust Point

      *c

      Pedal Height

      Turn back the floor carpet.

    2. Check that the pedal height is correct.

      Pedal Height from Floor

      Engine type

      Pedal height

      1NR-FE

      153.4 to 163.4 mm (6.04 to 6.43 in.)

      1ZR-FAE

      162.3 to 172.3 mm (6.39 to 6.78 in.)

      1ND-TV

      171.5 to 181.5 mm (6.75 to 7.15 in.)

    3. Loosen the lock nut and turn the stopper bolt until the correct height is obtained.

    4. Tighten the lock nut.

      15.7 N*m

      160 kgf*cm

      12 ft.*lbf

    5. Install the floor carpet.

  2. INSPECT CLUTCH PEDAL FREE PLAY AND PUSH ROD PLAY

    1. C102627C02

      *a

      Push Rod Play

      *b

      Pedal Free Play

      Check that pedal free play and push rod play are correct.

      Tip:

      Pay close attention to the change in resistance to distinguish between pedal free play and push rod play while performing the inspection.

      1. Depress the pedal until clutch resistance begins to be felt.

        Pedal Free Play

        5.0 to 15.0 mm (0.197 to 0.591 in.)

      2. Gently depress the pedal until resistance begins to increase a little.

        Push Rod Play at Pedal Top

        1.0 to 5.0 mm (0.0394 to 0.197 in.)

    2. If necessary, adjust the pedal free play and push rod play.

      Tip:

      The push rod play can be adjusted by changing the length of the push rod. Pedal free play changes together with push rod play.

      1. Loosen the clutch master cylinder push rod clevis lock nut and turn the push rod until correct free play and push rod play are obtained.

        Note:

        If pedal free play and push rod play are not within the standard range even after adjustment, inspect the related parts.

      2. Tighten the clutch master cylinder push rod clevis lock nut.

        11.8 N*m

        120 kgf*cm

        9 ft.*lbf

      3. After adjusting the pedal free play and push rod play, check the pedal height.

  3. INSPECT CLUTCH RELEASE POINT

    1. C156453C01

      *a

      25 mm or more

      *b

      Release Point

      *c

      Pedal Stroke

      *d

      Full Stroke End Position

      Check the clutch release point.

      1. Pull the parking brake lever and install wheel chocks.

      2. Start the engine and run it at idle.

      3. Depress the clutch pedal and move the shift lever to reverse.

      4. Gradually release the clutch pedal and measure the stroke distance from the contact point (the point at which the engine speed begins to drop) up to the full stroke end position.

        Standard Distance

        25 mm (0.984 in.) or more (from pedal stroke end position to release point)

        If the distance is not as specified, perform the following procedures:

        • Check the pedal height.

        • Check the push rod play and pedal free play.

        • Bleed the clutch line.

        • Check the clutch cover assembly and clutch disc assembly.