METER / GAUGE SYSTEM


  1. CONSTRUCTION


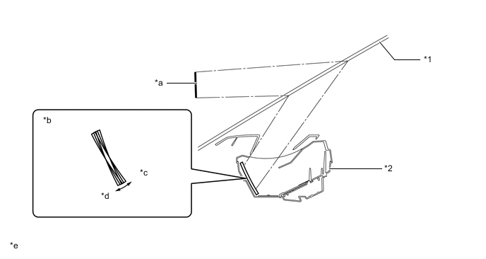
    1. The headup display unit (combination meter mirror ECU) consists of the ECU, Liquid Crystal Display (LCD), reflector, concave mirror and light source LEDs.

    2. By changing the angle of the concave mirror, the position of the image displayed can be adjusted.

      B0023JZC02
      *1 Windshield Glass *2 Combination Meter Mirror ECU
      *a Image *b Concave Mirror
      *c UP Switch Operation *d DOWN Switch Operation
      *e The illustrations shown are examples only. - -