FRONT DRIVE SHAFT ASSEMBLY(for 1WW) REASSEMBLY

CAUTION / NOTICE / HINT

Note:
  • When using a vise, place aluminum plates between the part and vise.

  • When using a vise, do not overtighten it.

PROCEDURE

  1. INSTALL FRONT DRIVE SHAFT DUST COVER LH

    1. C157559E08

      Using SST and a press, install a new front drive shaft dust cover LH.

      09527-10011

      Note:
      • The front drive shaft dust cover LH should be installed completely.

      • Be careful not to damage the front drive shaft dust cover LH.

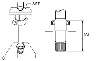
  2. INSTALL FRONT DRIVE SHAFT DUST COVER RH

    1. C296443E04

      Using SST and a press, install a new front drive shaft dust cover RH to the front drive inboard joint RH until the distance from the tip of the front drive inboard joint RH to the front drive shaft dust cover RH reaches the specification as shown in the illustration.

      09527-10011

      Standard Distance (A)

      115.5 to 116.5 mm (4.55 to 4.58 in.)

      Note:

      Be careful not to damage the front drive shaft dust cover RH.

  3. INSTALL FRONT AXLE OUTBOARD JOINT BOOT

    C207914E04
    Tip:

    Before installing the front axle outboard joint boot, wrap the splines of the front drive outboard joint shaft assembly with protective tape to prevent the front axle outboard joint boot from being damaged.

    Table 1. Text in Illustration

    *a

    Protective Tape

    1. Install new parts to the front drive outboard joint shaft assembly in the following order.

      1. Front No. 2 axle outboard joint boot clamp

      2. Front axle outboard joint boot

      3. Front axle outboard joint boot clamp

    2. Pack the front drive outboard joint shaft assembly and front axle outboard joint boot with grease from the boot kit.

      Standard Grease Capacity

      105.0 to 125.0 g (3.71 to 4.40 oz.)

  4. INSTALL FRONT NO. 2 AXLE OUTBOARD JOINT BOOT CLAMP LH

    1. Secure the front No. 2 axle outboard joint boot clamp LH to the front axle outboard joint boot.

    2. U123214E02

      Place SST onto the front No. 2 axle outboard joint boot clamp LH.

      09521-24010

    3. Tighten SST so that the front No. 2 axle outboard joint boot clamp LH is pinched.

      Table 2. Text in Illustration

      *a

      Turn

      *b

      Hold

      Note:

      Do not overtighten SST.

    4. C116426E07

      Using SST, adjust the clearance of the front No. 2 axle outboard joint boot clamp LH.

      09240-00020

      Standard clearance

      0.5 to 1.5 mm (0.0197 to 0.0590 in.)

      If the clearance is more than the standard, retighten the front No. 2 axle outboard joint boot clamp LH.

  5. INSTALL FRONT NO. 2 AXLE OUTBOARD JOINT BOOT CLAMP RH

    Tip:

    Use the same procedure described for the LH side.

  6. INSTALL FRONT AXLE OUTBOARD JOINT BOOT CLAMP LH

    1. Secure the front axle outboard joint boot clamp LH to the front axle outboard joint boot.

    2. U123216E02

      Place SST onto the front axle outboard joint boot clamp LH.

      09521-24010

    3. Tighten SST so that the front axle outboard joint boot clamp LH is pinched.

      Table 3. Text in Illustration

      *a

      Turn

      *b

      Hold

      Note:

      Do not overtighten SST.

    4. C207920E02

      Using SST, adjust the clearance of the front axle outboard joint boot clamp LH.

      09240-00020

      Standard clearance

      0.5 to 1.5 mm (0.0197 to 0.0590 in.)

      If the clearance is more than the standard, retighten the front axle outboard joint boot clamp LH.

  7. INSTALL FRONT AXLE OUTBOARD JOINT BOOT CLAMP RH

    Tip:

    Use the same procedure described for the LH side.

  8. INSTALL FRONT DRIVE SHAFT DAMPER LH

    1. Install the front drive shaft damper LH to the front drive outboard joint shaft assembly LH.

      Note:

      Make sure that the front drive shaft damper LH is on the front drive outboard joint shaft assembly LH groove.

    2. C296445E02

      Adjust the position of the front drive shaft damper LH so that the distance is as described below.

      Standard Distance (A)

      164.0 to 168.0 mm (6.46 to 6.61 in.)

  9. INSTALL FRONT DRIVE SHAFT DAMPER CLAMP LH

    1. Install a new front drive shaft damper clamp LH to the front drive shaft damper LH.

      Note:

      Be sure to install the front drive shaft damper clamp LH on the inboard joint side in the correct position.

    2. U122973E01

      Place SST onto the front drive shaft damper clamp LH.

      09521-24010

    3. Tighten SST so that the front drive shaft damper clamp LH is pinched.

      Table 4. Text in Illustration

      *a

      Turn

      *b

      Hold

      Note:

      Do not overtighten SST.

    4. C296444E02

      Using SST, adjust the clearance of the front drive shaft damper clamp LH .

      09240-00020

      Standard clearance

      0.5 to 1.5 mm (0.0197 to 0.0590 in.)

      If the clearance is more than the standard, retighten the front drive shaft damper clamp LH.

  10. INSTALL FRONT DRIVE INBOARD JOINT LH

    1. Install new parts to the front drive outboard joint shaft assembly LH in the following order.

      1. Front axle inboard joint boot clamp LH

      2. Front axle inboard joint boot

      3. Front No. 2 axle inboard joint boot clamp LH

    2. Remove the protective tape.

    3. Place the beveled side of the tripod joint axial spline toward the front drive outboard joint shaft assembly LH.

    4. C127694E16

      Align the matchmarks placed before removal.

      Table 5. Text in Illustration

      *a

      Matchmark

    5. Using a brass bar and hammer, tap the tripod joint onto the front drive outboard joint shaft assembly LH.

      Note:
      • Do not tap the rollers.

      • Be sure to install the tripod joint in the correct direction.

    6. Pack the front drive inboard joint LH and front axle inboard joint boot with grease from the boot kit.

      Standard Grease Capacity

      Item

      Capacity

      for LH side

      172.0 to 188.0 g (6.07 to 6.63 oz.)

      for RH side

      170.0 to 190.0 g (6.00 to 6.70 oz.)

    7. C296441

      Using a snap ring expander, install a new shaft snap ring.

    8. C127646E21

      Align the matchmarks and install the front drive inboard joint LH to the front drive outboard joint shaft assembly LH.

      Table 6. Text in Illustration

      *a

      Matchmark

  11. INSTALL FRONT DRIVE INBOARD JOINT RH

    Tip:

    Use the same procedure described for the LH side.

  12. INSTALL FRONT AXLE INBOARD JOINT BOOT

    1. Install the front axle inboard joint boot to the front drive inboard joint.

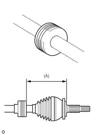
    2. C296442E02

      Check that the 2 boots are not stretched or contracted when the front drive shaft assembly is at the standard length.

      Length (A)

      Item

      Specified Condition

      for LH side

      558.8 mm (1.83 ft.)

      for RH side

      906.3 mm (2.97 ft.)

      Table 7. Text in Illustration

      *A

      for LH Side

      *B

      for RH Side

      Note:

      Keep the front drive shaft assembly level during inspection.

      If the boots are stretched or contracted, correct them.

  13. INSTALL FRONT AXLE INBOARD JOINT BOOT CLAMP LH

    1. Secure the front axle inboard joint boot clamp LH to the front axle inboard joint boot.

    2. U123418E02

      Place SST onto the front axle inboard joint boot clamp LH.

      09521-24010

    3. Tighten SST so that the front axle inboard joint boot clamp LH is pinched.

      Table 8. Text in Illustration

      *a

      Turn

      *b

      Hold

      Note:

      Do not overtighten SST.

    4. C206956E04

      Using SST, adjust the clearance of the front axle inboard joint boot clamp LH.

      09240-00020

      Standard clearance

      0.5 to 1.5 mm (0.0197 to 0.0590 in.)

      If the clearance is more than the standard, retighten the front axle inboard joint boot clamp LH.

  14. INSTALL FRONT AXLE INBOARD JOINT BOOT CLAMP RH

    Tip:

    Use the same procedure described for the LH side.

  15. INSTALL FRONT NO. 2 AXLE INBOARD JOINT BOOT CLAMP LH

    1. Secure the front No. 2 axle inboard joint boot clamp LH to the front axle inboard joint boot.

    2. C116423

      Using needle-nose pliers, install the front No. 2 axle inboard joint boot clamp LH as shown in the illustration.

      Note:

      Be careful not to damage the front axle inboard joint boot.

  16. INSTALL FRONT NO. 2 AXLE INBOARD JOINT BOOT CLAMP RH

    Tip:

    Use the same procedure described for the LH side.

  17. INSPECT FRONT DRIVE SHAFT ASSEMBLY