SEAT MEMORY SWITCH INSPECTION

PROCEDURE


  1. INSPECT SEAT MEMORY SWITCH (DRIVER SEAT)


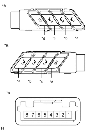
    1. A01RF4RC01
      *A for LHD
      *B for RHD
      *a M1 Switch
      *b M2 Switch
      *c M3 Switch
      *d SET Switch
      *e

      Component without harness connected

      (Seat Memory Switch (Driver Door))

      Measure the resistance according to the value(s) in the table below.

      Standard Resistance
      for LHD
      Tester Connection Condition Specified Condition
      1 - 8 M1 switch pressed Below 100 Ω
      M1 switch not pressed 1 MΩ or higher
      1 - 6 M2 switch pressed Below 100 Ω
      M2 switch not pressed 1 MΩ or higher
      1 - 3 M3 switch pressed Below 100 Ω
      M3 switch not pressed 1 MΩ or higher
      1 - 2 SET switch pressed Below 100 Ω
      SET switch not pressed 1 MΩ or higher
      for RHD
      Tester Connection Condition Specified Condition
      1 - 8 M1 switch pressed Below 100 Ω
      M1 switch not pressed 1 MΩ or higher
      3 - 8 M2 switch pressed Below 100 Ω
      M2 switch not pressed 1 MΩ or higher
      6 - 8 M3 switch pressed Below 100 Ω
      M3 switch not pressed 1 MΩ or higher
      7 - 8 SET switch pressed Below 100 Ω
      SET switch not pressed 1 MΩ or higher

      If the result is not as specified, replace the seat memory switch (driver door).

    2. Apply battery voltage and check the operation of the switch according to the table below.

      OK
      for LHD
      Battery Connection Condition Specified Condition

      Battery positive (+) → Terminal 5

      Battery negative (-) → Terminal 7

      Always Illumination comes on
      for RHD
      Battery Connection Condition Specified Condition

      Battery positive (+) → Terminal 4

      Battery negative (-) → Terminal 2

      Always Illumination comes on

      If the result is not as specified, replace the seat memory switch (driver door).

  2. INSPECT SEAT MEMORY SWITCH (FRONT PASSENGER DOOR)


    1. A01RF4RC01
      *A for LHD
      *B for RHD
      *a M1 Switch
      *b M2 Switch
      *c M3 Switch
      *d SET Switch
      *e

      Component without harness connected

      (Seat Memory Switch (Front Passenger Door))

      Measure the resistance according to the value(s) in the table below.

      Standard Resistance
      for LHD
      Tester Connection Condition Specified Condition
      1 - 8 M1 switch pressed Below 100 Ω
      M1 switch not pressed 1 MΩ or higher
      3 - 8 M2 switch pressed Below 100 Ω
      M2 switch not pressed 1 MΩ or higher
      6 - 8 M3 switch pressed Below 100 Ω
      M3 switch not pressed 1 MΩ or higher
      7 - 8 SET switch pressed Below 100 Ω
      SET switch not pressed 1 MΩ or higher
      for RHD
      Tester Connection Condition Specified Condition
      1 - 8 M1 switch pressed Below 100 Ω
      M1 switch not pressed 1 MΩ or higher
      1 - 6 M2 switch pressed Below 100 Ω
      M2 switch not pressed 1 MΩ or higher
      1 - 3 M3 switch pressed Below 100 Ω
      M3 switch not pressed 1 MΩ or higher
      1 - 2 SET switch pressed Below 100 Ω
      SET switch not pressed 1 MΩ or higher

      If the result is not as specified, replace the seat memory switch (front passenger door).

    2. Apply battery voltage and check the operation of the switch according to the table below.

      OK
      for LHD
      Battery Connection Condition Specified Condition

      Battery positive (+) → Terminal 4

      Battery negative (-) → Terminal 2

      Always Illumination comes on
      for RHD
      Battery Connection Condition Specified Condition

      Battery positive (+) → Terminal 5

      Battery negative (-) → Terminal 7

      Always Illumination comes on

      If the result is not as specified, replace the seat memory switch (front passenger door).