ПРОКЛАДКА ГОЛОВКИ БЛОКА ЦИЛИНДРОВ УСТАНОВКА
ПРЕДОСТЕРЕЖЕНИЕ / ПРИМЕЧАНИЕ / УКАЗАНИЕ
После замены головки блока цилиндров в сборе выполните процедуру "Проверка после ремонта".
Для моделей с системой РОГ:
Нажмите здесьClick here
Для моделей без системы РОГ:
Нажмите здесьClick here
Для моделей с модулем насоса адсорбера:
Нажмите здесьClick here
ПОРЯДОК ВЫПОЛНЕНИЯ
УСТАНОВИТЕ ПРОКЛАДКУ ГОЛОВКИ БЛОКА ЦИЛИНДРОВ
Очистите блок цилиндров и головку блока цилиндров растворителем.
-
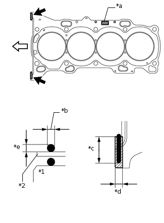
*1
Блок цилиндров
*2
Прокладка головки блока цилиндров
*a
Номер партии
*b
3,0 - 7,0 мм (0,118 - 0,276 дюйма)
*c
Не менее 20 мм (0,787 дюйма)
*d
7,0 мм (0,276 дюйма)
*e
3,0 мм (0,118 фута) или более

Зона нанесения герметика

Передняя часть двигателя
Нанесите герметик на новую прокладку головки блока цилиндров, как показано на рисунке.
Герметик
Фирменный герметик Seal Packing Black от компании Toyota, Three bond 1207B или аналогичный
Номинальные размеры уплотнения
Ширина 3,0 - 7,0 мм (0,118 - 0,276 дюйма), толщина 3,0 мм (0,118 дюйма)
Note:Удалите все масло с контактной поверхности.
После нанесения герметика в течение 3 мин установите прокладку головки блока цилиндров и в течение 15 мин затяните болты.
Tip:Нанесите не менее 20 мм (0,787 дюйма) герметика от внутренней кромки выступа блока цилиндров.
Установите новую прокладку головки блока цилиндров на поверхность блока цилиндров штампом "Lot No." (Номер партии) вверх.
Note:Необходимо убедиться в правильности ориентации.
УСТАНОВИТЕ ГОЛОВКУ БЛОКА ЦИЛИНДРОВ В СБОРЕ
Tip:После замены головки блока цилиндров в сборе выполните процедуру "Проверка после ремонта".
Для моделей с системой РОГ:
Нажмите здесьClick here
Для моделей без системы РОГ:
Нажмите здесьClick here
Для моделей с модулем насоса адсорбера:
Нажмите здесьClick here
Установите головку блока цилиндров в сборе на блок цилиндров.
Note:Убедитесь в отсутствии масла на установочной поверхности головки блока цилиндров.
Устанавливайте головку блока цилиндров осторожно, чтобы не повредить прокладку нижней частью головки.
Tip:Установочные болты крепления головки блока цилиндров затягиваются в 4 последовательных этапа.
Поместите под установочные болты головки блока цилиндров плоские шайбы.
Нанесите тонкий слой моторного масла на резьбы и под головки установочных болтов головки блока цилиндров.
Шаг 1:
-
С помощью 12-гранного гаечного ключа на 10 мм заверните и в несколько приемов равномерно затяните 10 установочных болтов головки блока цилиндров в последовательности, показанной на рисунке.
36 Н*м
367 кгс*см
27 фунт-сила-футов
Note:Следите, чтобы не уронить плоские шайбы болтов крепления головки блока цилиндров в головку блока цилиндров.
-
Шаг 2:
Повторно затяните установочные болты крепления головки блока цилиндров в последовательности, показанной на рисунке, и убедитесь, что они затянуты с указанным моментом затяжки.
36 Н*м
367 кгс*см
27 фунт-сила-футов
Шаг 3:
Отметьте краской переднюю сторону головки каждого установочного болта головки блока цилиндров.
Затяните установочные болты головки блока цилиндров на 90° в той же последовательности, что и на шаге 1.
Шаг 4:
Затяните установочные болты головки блока цилиндров с поворотом на 90° в той же последовательности, что и на шаге 1.
Убедитесь, что метки развернуты на 180° относительно исходного положения.
Note:Не заливайте масло в течение, как минимум, 4 часов после установки.
Не запускайте двигатель в течение 4 часов после установки.
Если после установки герметик выступил наружу, сотрите его.
УСТАНОВИТЕ КОЛПАК ШТОКА КЛАПАНА
Нажмите здесьClick hereClick here
УСТАНОВИТЕ МЕХАНИЗМ РЕГУЛИРОВКИ ЗАЗОРА В ПРИВОДЕ КЛАПАНА В СБОРЕ
Нажмите здесьClick hereClick here
УСТАНОВИТЕ РЫЧАГ ПРИВОДА КЛАПАНА № 1 В СБОРЕ
Нажмите здесьClick hereClick here
УСТАНОВИТЕ ПОДШИПНИК РАСПРЕДВАЛА № 2
Нажмите здесьClick here
УСТАНОВИТЕ ПОДШИПНИК РАСПРЕДВАЛА № 1
Нажмите здесьClick here
УСТАНОВИТЕ РАСПРЕДВАЛ № 2
Нажмите здесьClick hereClick here
УСТАНОВИТЕ РАСПРЕДВАЛ
Нажмите здесьClick hereClick here
УСТАНОВИТЕ ФИЛЬТР ГИДРАВЛИЧЕСКОГО КЛАПАНА ИЗМЕНЕНИЯ ФАЗ
Нажмите здесьClick hereClick here
УСТАНОВИТЕ КРЫШКУ ПОДШИПНИКА РАСПРЕДВАЛА
Нажмите здесьClick hereClick here
УСТАНОВИТЕ КОЖУХ РАСПРЕДВАЛА В СБОРЕ
Нажмите здесьClick hereClick here
УСТАНОВИТЕ ЗУБЧАТОЕ КОЛЕСО РАСПРЕДВАЛА В СБОРЕ
Нажмите здесьClick hereClick here
УСТАНОВИТЕ ЗВЕЗДОЧКУ РАСПРЕДВАЛА
Нажмите здесьClick hereClick here
ЗАЛЕЙТЕ МОТОРНОЕ МАСЛО
Нажмите здесьClick hereClick here
УСТАНОВИТЕ УСПОКОИТЕЛЬ ЦЕПИ № 1
Нажмите здесьClick hereClick here
УСТАНОВИТЕ ЦЕПЬ В СБОРЕ
Нажмите здесьClick hereClick here
УСТАНОВИТЕ БАШМАК НАТЯЖИТЕЛЯ ЦЕПИ
Нажмите здесьClick hereClick here
УСТАНОВИТЕ НАТЯЖИТЕЛЬ ЦЕПИ № 1 В СБОРЕ
Нажмите здесьClick hereClick here
УСТАНОВИТЕ НАПРАВЛЯЮЩУЮ ЦЕПНОГО ПРИВОДА ГАЗОРАСПРЕДЕЛИТЕЛЬНОГО МЕХАНИЗМА
Нажмите здесьClick hereClick here
ПРОВЕРЬТЕ ПОРШЕНЬ ЦИЛИНДРА № 1 В ВМТ ТАКТА СЖАТИЯ
Нажмите здесьClick hereClick here
УСТАНОВИТЕ ВИБРОИЗОЛЯТОР ФОРСУНКИ
Нажмите здесьClick here
УСТАНОВИТЕ ТОПЛИВНУЮ РАМПУ
Нажмите здесьClick here
УСТАНОВИТЕ ВПУСКНОЙ КОЛЛЕКТОР
Нажмите здесьClick hereClick here
УСТАНОВИТЕ ПЕРЕПУСКНОЙ ШЛАНГ ОХЛАЖДАЮЩЕЙ ЖИДКОСТИ № 3 (для моделей без системы РОГ)
Нажмите здесьClick hereClick here
ВРЕМЕННО ЗАКРЕПИТЕ ПАТРУБОК СИСТЕМЫ РОГ № 1 (для моделей с системой РОГ)
Нажмите здесьClick hereClick here
УСТАНОВИТЕ ПЕРЕПУСКНОЙ ШЛАНГ ОХЛАЖДАЮЩЕЙ ЖИДКОСТИ № 1 (для моделей с системой РОГ)
Нажмите здесьClick hereClick here
УСТАНОВИТЕ ПЕРЕПУСКНОЙ ШЛАНГ ОХЛАЖДАЮЩЕЙ ЖИДКОСТИ № 3
Нажмите здесьClick hereClick here
ВРЕМЕННО УСТАНОВИТЕ КЛАПАН РОГ В СБОРЕ (для моделей с системой РОГ)
Нажмите здесьClick hereClick here
УСТАНОВИТЕ ПЕРЕПУСКНОЙ ШЛАНГ ОХЛАЖДАЮЩЕЙ ЖИДКОСТИ № 1 (для моделей без системы РОГ)
Нажмите здесьClick hereClick here
УСТАНОВИТЕ ПЕРЕПУСКНОЙ ШЛАНГ ОХЛАЖДАЮЩЕЙ ЖИДКОСТИ № 5 (для моделей без системы РОГ)
Нажмите здесьClick hereClick here
ВРЕМЕННО УСТАНОВИТЕ ОХЛАДИТЕЛЬ РОГ В СБОРЕ (для моделей с системой РОГ)
Нажмите здесьClick hereClick here
УСТАНОВИТЕ ПЕРЕПУСКНОЙ ПАТРУБОК ОХЛАЖДАЮЩЕЙ ЖИДКОСТИ (для моделей с системой РОГ)
Нажмите здесьClick hereClick here
ЗАТЯНИТЕ ПАТРУБОК СИСТЕМЫ РОГ № 1 (для моделей с системой РОГ)
Нажмите здесьClick hereClick here
ЗАТЯНИТЕ ОХЛАДИТЕЛЬ РОГ В СБОРЕ (для моделей с системой РОГ)
Нажмите здесьClick hereClick here
ЗАТЯНИТЕ КЛАПАН РОГ В СБОРЕ (для моделей с системой РОГ)
Нажмите здесьClick hereClick here
УСТАНОВИТЕ КОРПУС ДРОССЕЛЬНОЙ ЗАСЛОНКИ С ЭЛЕКТРОДВИГАТЕЛЕМ В СБОРЕ
Нажмите здесьClick here
УСТАНОВИТЕ КАТАЛИТИЧЕСКИЙ НЕЙТРАЛИЗАТОР В ВЫПУСКНОМ КОЛЛЕКТОРЕ В СБОРЕ
Нажмите здесьClick here
УСТАНОВИТЕ КРЫШКУ ЦЕПНОГО ПРИВОДА ГАЗОРАСПРЕДЕЛИТЕЛЬНОГО МЕХАНИЗМА В СБОРЕ
Нажмите здесьClick here