СИСТЕМА ПОДУШЕК БЕЗОПАСНОСТИ SRS, диагностические DTC: B1900, B1901, B1902 и B1903

Код DTC Наименование DTC
B1900 Короткое замыкание в цепи правого пиропатрона P/T
B1901 Обрыв цепи правого пиропатрона P/T
B1902 Короткое замыкание в цепи правого пиропатрона P/T (на массу)
B1903 Короткое замыкание в цепи правого пиропатрона P/T (на +B)

ОПИСАНИЕ

Цепь пиропатрона правого переднего преднатяжителя включает блок управления системы SRS и правый передний ремень с катушкой и преднатяжителем в сборе.

Центральный блок управления системы SRS использует эту цепь для приведения в действие преднатяжителя, когда выполняются условия развертывания.

Данные коды DTC регистрируются при обнаружении неисправности в цепи пиропатрона правого переднего преднатяжителя.

№ DTC

Неисправность

Условие обнаружения DTC

Неисправный участок

Индикация предупреждения

Режим диагностики / режим проверки

B1900

Короткое замыкание в цепи правого пиропатрона P/T

  • Блок управления системы SRS обнаруживает короткое замыкание в цепи пиропатрона правого переднего преднатяжителя в ходе выполнения первичной проверки.

  • Неисправность пиропатрона правого переднего преднатяжителя

  • Неисправность блока управления системы SRS

  • Напольный провод

  • Пиропатрон правого переднего преднатяжителя (правый передний ремень с катушкой и преднатяжителем в сборе)

  • Центральный блок управления системы SRS

Загорается

Относится к режиму проверки

B1901

Обрыв цепи правого пиропатрона P/T

  • Блок управления системы SRS обнаруживает обрыв в цепи пиропатрона правого переднего преднатяжителя.

  • Неисправность пиропатрона правого переднего преднатяжителя

  • Неисправность блока управления системы SRS

  • Напольный провод

  • Пиропатрон правого переднего преднатяжителя (правый передний ремень с катушкой и преднатяжителем в сборе)

  • Центральный блок управления системы SRS

Загорается

Относится к режиму проверки

B1902

Короткое замыкание в цепи правого пиропатрона P/T (на массу)

  • Блок управления системы SRS обнаруживает короткое замыкание на массу в цепи пиропатрона правого переднего преднатяжителя.

  • Неисправность пиропатрона правого переднего преднатяжителя

  • Неисправность блока управления системы SRS

  • Напольный провод

  • Пиропатрон правого переднего преднатяжителя (правый передний ремень с катушкой и преднатяжителем в сборе)

  • Центральный блок управления системы SRS

Загорается

Относится к режиму проверки

B1903

Короткое замыкание в цепи правого пиропатрона P/T (на +B)

  • Блок управления системы SRS обнаруживает короткое замыкание на B+ в цепи пиропатрона правого переднего преднатяжителя.

  • Неисправность пиропатрона правого переднего преднатяжителя

  • Неисправность блока управления системы SRS

  • Напольный провод

  • Пиропатрон правого переднего преднатяжителя (правый передний ремень с катушкой и преднатяжителем в сборе)

  • Центральный блок управления системы SRS

Загорается

Относится к режиму проверки

СХЕМА ЭЛЕКТРИЧЕСКИХ СОЕДИНЕНИЙ

B475055E42

ПРЕДОСТЕРЕЖЕНИЕ / ПРИМЕЧАНИЕ / УКАЗАНИЕ

Note:

После выключения двигателя следует подождать некоторое время, прежде чем отсоединять провод от отрицательного (–) вывода аккумуляторной батареи. Поэтому, прежде чем приступать к этой работе, обязательно ознакомьтесь с примечанием относительно отсоединения провода от отрицательного (-) вывода аккумуляторной батареи.

Нажмите здесьClick hereClick here

Tip:
  • Выполните проверку с имитацией условий возникновения неисправности, выбрав на GTS режим проверки (Signal Check).

    Нажмите здесьClick here

  • Выбрав режим проверки (Signal Check), выполните проверку с имитацией условий возникновения неисправности, пошевелив каждый разъем системы подушек безопасности или совершив поездку по городским дорогам или дорогам без покрытия

    Нажмите здесьClick hereClick hereClick here

ПОРЯДОК ВЫПОЛНЕНИЯ

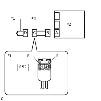
  1. ПРОВЕРЬТЕ РАЗЪЕМЫ

    1. C238348C01

      *1

      Правый передний ремень с катушкой и преднатяжителем в сборе

      *2

      Центральный блок управления системы SRS

      *3

      Напольный провод

      Выключите зажигание.

    2. Отсоедините провод от отрицательного (-) вывода аккумуляторной батареи.

      CAUTION:

      После отсоединения провода от отрицательного (-) вывода аккумуляторной батареи подождите не менее 90 с, чтобы предотвратить срабатывание системы SRS.

    3. Проверьте правильность подсоединения разъемов к правому переднему ремню с катушкой и преднатяжителем в сборе и блоку управления системы SRS.

      OK

      Разъемы подсоединены должным образом.

      Tip:

      Если разъемы подсоединены ненадежно, подсоедините их и перейдите к следующей проверке.

    4. Отсоедините разъемы от правого переднего ремня безопасности с катушкой и преднатяжителем в сборе и центрального блока управления системы SRS.

    5. Убедитесь, что контакты разъемов не деформированы и не повреждены.

      OK

      Контакты не деформированы и не повреждены.

    6. Убедитесь, что разъем напольного провода (со стороны ремня безопасности правого переднего сиденья с катушкой и преднатяжителем) не ослаблен, не деформирован и не поврежден.

      СООТВ

      Кнопка блокировки разъема подушки безопасности не освобождена, защелка замка не деформирована и не повреждена.

    7. Убедитесь, что короткие пружины механизма предотвращения срабатывания в разъеме напольного провода не деформированы и не повреждены.

      OK

      Короткие пружины не деформированы и не повреждены.

    Result

    Перейти к

    OK

    НЕ СООТВ.

    НЕ СООТВ.

    ЗАМЕНИТЕ НАПОЛЬНЫЙ ПРОВОД

    СООТВ
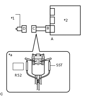
  2. ПРОВЕРЬТЕ ПРАВЫЙ ПЕРЕДНИЙ РЕМЕНЬ С КАТУШКОЙ И ПРЕДНАТЯЖИТЕЛЕМ В СБОРЕ

    1. C238358C37

      *1

      Правый передний ремень с катушкой и преднатяжителем в сборе

      *2

      Блок управления системы SRS

      *a

      Вид спереди разъема со стороны жгута проводов:

      (к правому переднему ремню с катушкой и преднатяжителем в сборе)

      Подсоедините разъем к блоку управления системы SRS.

    2. Подсоедините SST (сопротивление 2,1 Ом) к разъему С.

      CAUTION:

      Никогда не подключайте для измерения диагностический прибор к правому переднему ремню с катушкой и преднатяжителем в сборе, так как это может привести к серьезной травме вследствие срабатывания преднатяжителя.

      Note:
      • При подсоединении не следует вставлять SST в контакты разъема с усилием.

      • Вставляйте SST в контакты разъема по прямой.

    3. Подсоедините провод к отрицательному (-) выводу аккумуляторной батареи.

    4. Установите замок зажигания в положение ON (ВКЛ) и подождите не менее 60 секунд.

    5. Удалите коды DTC, сохраненные в памяти.

      Body Electrical > SRS Airbag > Clear DTCs

    6. Выключите зажигание.

    7. Установите замок зажигания в положение ON (ВКЛ) и подождите не менее 60 секунд.

    8. Проверьте наличие кодов DTC.

      Body Electrical > SRS Airbag > Trouble Codes

      OK

      DTC B1900, B1901, B1902 или B1903 не выводится.

      Tip:

      На этом этапе могут выводиться коды, отличные от кодов DTC B1900, B1901, B1902 и B1903, однако они не связаны с данной проверкой.

    9. Выключите зажигание.

    10. Отсоедините провод от отрицательного (-) вывода аккумуляторной батареи.

      CAUTION:

      После отсоединения провода от отрицательного (-) вывода аккумуляторной батареи подождите не менее 90 с, чтобы предотвратить срабатывание системы SRS.

    11. Отсоедините SST от разъема С.

    09843-18061

    Результат

    Перейти к

    OK

    НЕ СООТВ.

    OK

    ЗАМЕНИТЕ ПРАВЫЙ ПЕРЕДНИЙ РЕМЕНЬ С КАТУШКОЙ И ПРЕДНАТЯЖИТЕЛЕМ В СБОРЕ

    Нажмите здесьClick hereClick here

    NG
  3. ПРОВЕРЬТЕ НАПОЛЬНЫЙ ПРОВОД

    1. C237240C77

      *1

      Правый передний ремень с катушкой и преднатяжителем в сборе

      *2

      Центральный блок управления системы SRS

      *3

      Напольный провод

      *a

      Вид спереди разъема со стороны жгута проводов:

      (к правому переднему ремню с катушкой и преднатяжителем в сборе)

      Отсоедините напольный провод от центрального блока управления системы SRS.

    2. Проверьте, нет ли в цепи короткого замыкания на B+.

      1. Подсоедините провод к отрицательному выводу (-) аккумуляторной батареи.

      2. Установите замок зажигания в положение ON (ВКЛ).

      3. Измерьте напряжение в соответствии со значениями, приведенными в таблице.

        Номинальное напряжение

        Подключение диагностического прибора

        Условие

        Заданные условия

        R52-1 (R+) - масса

        Зажигание включено

        Менее 1 В

        R52-2 (R-) - масса

        Зажигание включено

        Менее 1 В

      4. Выключите зажигание.

      5. Отсоедините провод от отрицательного (-) вывода аккумуляторной батареи.

        CAUTION:

        После отсоединения провода от отрицательного (-) вывода аккумуляторной батареи подождите не менее 90 с, чтобы предотвратить срабатывание системы SRS.

    3. Проверьте, нет ли в цепи обрыва.

      1. Измерьте сопротивление в соответствии со значениями, приведенными в таблице ниже.

        Номинальное сопротивление

        Подключение диагностического прибора

        Условие

        Заданные условия

        R52-1 (R+) - R52-2 (R-)

        Всегда

        Менее 1 Ом

    4. Проверьте, нет ли в цепи короткого замыкания на массу.

      1. Измерьте сопротивление в соответствии со значениями, приведенными в таблице.

        Номинальное сопротивление

        Подключение диагностического прибора

        Условие

        Заданные условия

        R52-1 (R+) - масса

        Всегда

        1 МОм или более

        R52-2 (R-) - масса

        Всегда

        1 МОм или более

    5. Проверьте, нет ли в цепи короткого замыкания.

      1. Разомкните механизм предотвращения срабатывания, встроенный в разъем B.

        Нажмите здесьClick here

      2. Измерьте сопротивление в соответствии со значениями, приведенными в таблице ниже.

        Номинальное сопротивление

        Подключение диагностического прибора

        Условие

        Заданные условия

        R52-1 (R+) - R52-2 (R-)

        Всегда

        1 МОм или более

      3. Верните механизм предотвращения срабатывания разъема B в исходное состояние.

    Result

    Перейти к

    OK

    НЕ СООТВ.

    НЕ СООТВ.

    ЗАМЕНИТЕ НАПОЛЬНЫЙ ПРОВОД

    СООТВ
  4. ПРОВЕРЬТЕ DTC

    1. C238241C01

      *1

      Правый передний ремень с катушкой и преднатяжителем в сборе

      *2

      Блок управления системы SRS

      Подсоедините разъемы к правому переднему ремню безопасности с катушкой и преднатяжителем в сборе и центральному блоку управления системы SRS.

    2. Подсоедините провод к отрицательному (-) выводу аккумуляторной батареи.

    3. Установите замок зажигания в положение ON (ВКЛ) и подождите не менее 60 секунд.

    4. Удалите коды DTC, сохраненные в памяти.

      Body Electrical > SRS Airbag > Clear DTCs

    5. Выключите зажигание.

    6. Установите замок зажигания в положение ON (ВКЛ) и подождите не менее 60 секунд.

    7. Проверьте наличие кодов DTC.

      Body Electrical > SRS Airbag > Trouble Codes

      OK

      DTC B1900, B1901, B1902 или B1903 не выводится.

      Tip:

      На этом этапе могут выводиться коды, отличные от кодов DTC B1900, B1901, B1902 и B1903, однако они не связаны с данной проверкой.

    Результат

    Перейти к

    OK

    НЕ СООТВ.

    OK

    ВЫПОЛНИТЕ ПРОВЕРКУ С ИМИТАЦИЕЙ УСЛОВИЙ ВОЗНИКНОВЕНИЯ НЕИСПРАВНОСТИ

    Нажмите здесьClick hereClick hereClick here

    NG

    ЗАМЕНИТЕ ЦЕНТРАЛЬНЫЙ БЛОК УПРАВЛЕНИЯ СИСТЕМЫ SRS

    Нажмите здесьClick hereClick hereClick here