СЕНСОРНАЯ СИСТЕМА ПОМОЩИ ПРИ ПАРКОВКЕ LEXUS, диагностический код неисправности DTC: C1AE3

Код DTC Наименование DTC
C1AE3 Правый передний центральный датчик

ОПИСАНИЕ

На переднем бампере монтируется ультразвуковой датчик № 1 (правый передний центральный датчик). ЭБУ предупреждения о недопустимой дистанции в сборе обнаруживает препятствия по сигналам, получаемым от ультразвукового датчика № 1 (правого переднего центрального датчика). В случае обрыва или иной неисправности в ультразвуковом датчике № 1 (правый передний центральный датчик) он не сможет функционировать правильно.

№ DTC

Неисправность

Условие обнаружения DTC

Неисправный участок

C1AE3

Правый передний центральный датчик

Неисправность ультразвукового датчика № 1 (правый передний центральный датчик)

  • Жгут проводов или разъем

  • Ультразвуковой датчик № 1 (правый передний центральный датчик)

  • ЭБУ предупреждения о недопустимой дистанции

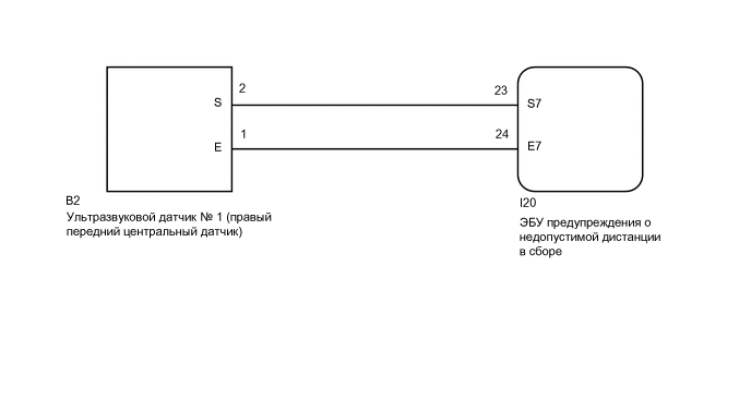
СХЕМА ЭЛЕКТРИЧЕСКИХ СОЕДИНЕНИЙ

E272340E19

ПРЕДОСТЕРЕЖЕНИЕ / ПРИМЕЧАНИЕ / УКАЗАНИЕ

Note:

Если коды DTC выводятся после ремонта, включите зажигание (IG) и включите комбинированный переключатель в сборе (главный выключатель системы ультразвуковой локации). Затем удалите коды DTC.

Нажмите здесьЩелкните по следующей ссылке

ПОРЯДОК ВЫПОЛНЕНИЯ

  1. ПРОВЕРЬТЕ DTC

    1. Удалите коды DTC.

      Нажмите здесьЩелкните по следующей ссылке

      Body Electrical > Clearance Sonar > Clear DTCs

    2. Проверьте наличие кодов DTC.

      Нажмите здесьЩелкните по следующей ссылке

      Body Electrical > Clearance Sonar > Trouble Codes

    Result

    Result

    Перейдите к

    DTC C1AE3 не выводится

    A

    Выводится DTC C1AE3

    B

    A

    ВЫПОЛНИТЕ ПРОВЕРКУ С ИМИТАЦИЕЙ УСЛОВИЙ ВОЗНИКНОВЕНИЯ НЕИСПРАВНОСТИ

    B
  2. ПРОВЕРЬТЕ ЖГУТ ПРОВОДОВ И РАЗЪЕМ (УЛЬТРАЗВУКОВОЙ ДАТЧИК № 1 (ПРАВЫЙ ПЕРЕДНИЙ ЦЕНТРАЛЬНЫЙ ДАТЧИК) – ЭБУ ПРЕДУПРЕЖДЕНИЯ О НЕДОПУСТИМОЙ ДИСТАНЦИИ)

    1. Отсоедините разъем I20 ЭБУ предупреждения о недопустимой дистанции.

    2. Отсоедините разъем B2 ультразвукового датчика № 1 (правого переднего центрального датчика).

    3. Измерьте сопротивление в соответствии со значениями, приведенными в таблице.

      Номинальное сопротивление

      Подключение диагностического прибора

      Условие

      Номинальное значение

      I20-23 (S7) - B2-2 (S)

      Всегда

      Менее 1 Ом

      I20-24 (E7) - B2-1 (E)

      Всегда

      Менее 1 Ом

      I20-23 (S7) или B2-2 (S) - масса

      Всегда

      10 кОм или более

      I20-24 (E7) или B2-1 (E) - масса

      Всегда

      10 кОм или более

    Результат

    Перейти к

    OK

    НЕ СООТВ.

    НЕ СООТВ.

    ОТРЕМОНТИРУЙТЕ ИЛИ ЗАМЕНИТЕ ЖГУТ ПРОВОДОВ ИЛИ РАЗЪЕМ

    СООТВ
  3. ПРОВЕРЬТЕ УЛЬТРАЗВУКОВОЙ ДАТЧИК № 1 (ПРАВЫЙ ПЕРЕДНИЙ ЦЕНТРАЛЬНЫЙ ДАТЧИК)

    1. Снимите ультразвуковой датчик № 1 (правый передний центральный датчик).

      Нажмите здесьЩелкните по следующей ссылке

    2. Проверьте ультразвуковой датчик № 1 (правый передний центральный датчик).

      Нажмите здесьЩелкните по следующей ссылке

    Результат

    Перейти к

    OK

    НЕ СООТВ.

    НЕ СООТВ.

    ЗАМЕНИТЕ УЛЬТРАЗВУКОВОЙ ДАТЧИК № 1 (ПРАВЫЙ ПЕРЕДНИЙ ЦЕНТРАЛЬНЫЙ ДАТЧИК)

    СООТВ
  4. ПРОВЕРЬТЕ DTC

    1. Удалите коды DTC.

      Нажмите здесьЩелкните по следующей ссылке

      Body Electrical > Clearance Sonar > Clear DTCs

    2. Проверьте наличие кодов DTC.

      Нажмите здесьЩелкните по следующей ссылке

      Body Electrical > Clearance Sonar > Trouble Codes

    Result

    Result

    Перейдите к

    DTC C1AE3 не выводится

    A

    Выводится DTC C1AE3

    B

    A

    ВЫПОЛНИТЕ ПРОВЕРКУ С ИМИТАЦИЕЙ УСЛОВИЙ ВОЗНИКНОВЕНИЯ НЕИСПРАВНОСТИ

    B

    ЗАМЕНИТЕ ЭБУ ПРЕДУПРЕЖДЕНИЯ О НЕДОПУСТИМОЙ ДИСТАНЦИИ В СБОРЕ

    Для моделей с левосторонним рулевым управлением

    Нажмите здесьЩелкните по следующей ссылке

    Для моделей с правосторонним рулевым управлением

    Нажмите здесьЩелкните по следующей ссылке