СИСТЕМА ПОДОГРЕВА РУЛЕВОГО КОЛЕСА Рулевое колесо не подогревается, когда выключатель подогрева рулевого колеса нажат

Код DTC Наименование DTC
Рулевое колесо не подогревается, когда выключатель подогрева рулевого колеса нажат

ОПИСАНИЕ

СХЕМА ЭЛЕКТРИЧЕСКИХ СОЕДИНЕНИЙ

ПРЕДОСТЕРЕЖЕНИЕ / ПРИМЕЧАНИЕ / УКАЗАНИЕ

Tip:
  • Перед выполнением следующей процедуры проверки проверьте предохранители цепей, относящихся к данной системе.

  • Подогреватель рулевого колеса встроен в рулевое колесо, которое не разбирается. Поэтому, если подогреватель рулевого колеса неисправен, замените рулевое колесо в сборе.

ПОРЯДОК ВЫПОЛНЕНИЯ

  1. ПРОВЕРЬТЕ БЛОК ПОДОГРЕВАТЕЛЯ РУЛЕВОГО КОЛЕСА (ТЕРМИСТОР/ПОДОГРЕВАТЕЛЬ/ТЕРМОСТАТ)

    1. Для моделей без системы вибрации рулевого колеса:

      1. C234543C08

        *a

        Вид спереди разъема со стороны жгута проводов:

        (к контроллеру подогревателя рулевого колеса в сборе)

        Отсоедините разъем B контроллера подогрева рулевого колеса в сборе.

      2. Измерьте сопротивление в соответствии со значениями, приведенными в таблице ниже.

        Номинальное сопротивление

        Подключение диагностического прибора

        Условие

        Номинальное значение

        B-1 (TH1) - B-2 (TH2)

        10 - 30°C (50 - 86°F)

        8,132 - 18,43 кОм

        B-4 (SH1) - B-3 (SH2)

        20°C (68°F)

        1,89 - 2,25 Ом

    2. Для моделей с системой вибрации рулевого колеса:

      1. C344314C09

        *a

        Вид спереди разъема со стороны жгута проводов:

        (к ЭБУ вибрации рулевого управления и подогревателя)

        Отсоедините разъем В ЭБУ вибрации рулевого управления и подогревателя.

      2. Измерьте сопротивление в соответствии со значениями, приведенными в таблице ниже.

        Номинальное сопротивление

        Подключение диагностического прибора

        Условие

        Номинальное значение

        B-3 (TH1) - B-2 (TH2)

        10 - 30°C (50 - 86°F)

        8,132 - 18,43 кОм

        B-5 (SH1) - B-1 (SH2)

        20°C (68°F)

        1,91 - 2,25 Ом

    Результат

    Перейти к

    OK

    НЕ СООТВ.

    НЕ СООТВ.

    ЗАМЕНИТЕ РУЛЕВОЕ КОЛЕСО В СБОРЕ

    СООТВ
  2. ПРОВЕРЬТЕ ВИТОЙ КАБЕЛЬ С ДАТЧИКОМ В СБОРЕ

    1. Для моделей без системы вибрации рулевого колеса:

      1. Проверьте разъемы и кабели витого кабеля с датчиком в сборе.

        OK

        Разъемы и кабели не имеют дефектов, таких как царапины, трещины, вмятины и повреждения.

      2. Отсоедините разъемы I157 и z14 витого кабеля с датчиком в сборе.

      3. Измерьте сопротивление в соответствии со значениями, приведенными в таблице ниже.

        C253490C21

        *a

        Устройство с отсоединенным жгутом проводов

        (витой кабель с датчиком в сборе)

        -

        -

        Номинальное сопротивление

        Подключение диагностического прибора

        Условие

        Заданные условия

        z14-1 - I157-1 (BTM)

        Всегда

        3 Ом или менее

        z14-2 - I157-3 (ETM)

        Всегда

        3 Ом или менее

        z14-3 - I157-2 (EHT)

        Всегда

        Менее 0,1 Ом

        z14-4 - I157-4 (BHT)

        Всегда

        Менее 0,1 Ом

    2. Для моделей с системой вибрации рулевого колеса:

      1. Проверьте разъемы и кабели витого кабеля с датчиком в сборе.

        OK

        Разъемы и кабели не имеют дефектов, таких как царапины, трещины, вмятины и повреждения.

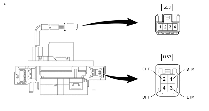
      2. Отсоедините разъемы I157 и z13 витого кабеля с датчиком в сборе.

      3. Измерьте сопротивление в соответствии со значениями, приведенными в таблице ниже.

        C384189C05

        *a

        Устройство с неподсоединенным жгутом проводов

        (Витой кабель с датчиком в сборе)

        -

        -

        Номинальное сопротивление

        Подключение диагностического прибора

        Условие

        Заданные условия

        z13-2 - I157-1 (BTM)

        Всегда

        3 Ом или менее

        z13-3 - I157-3 (ETM)

        Всегда

        3 Ом или менее

        z13-1 - I157-2 (EHT)

        Всегда

        0,02 - 0,28 Ом

        z13-4 - I157-4 (BHT)

        Всегда

        0,02 - 0,28 Ом

    Результат

    Перейти к

    OK

    НЕ СООТВ.

    НЕ СООТВ.

    ЗАМЕНИТЕ ВИТОЙ КАБЕЛЬ С ДАТЧИКОМ В СБОРЕ

    СООТВ
  3. ПРОВЕРЬТЕ КОМБИНИРОВАННЫЙ ПЕРЕКЛЮЧАТЕЛЬ № 2 В СБОРЕ (ВЫКЛЮЧАТЕЛЬ ПОДОГРЕВА РУЛЕВОГО КОЛЕСА)

    1. Снимите комбинированный переключатель № 2 в сборе.

      Нажмите здесьЩелкните по следующей ссылке

    2. Проверьте комбинированный переключатель № 2 в сборе (выключатель подогрева рулевого колеса).

      Нажмите здесьЩелкните по следующей ссылке

    Результат

    Перейти к

    OK

    НЕ СООТВ.

    НЕ СООТВ.

    ЗАМЕНИТЕ КОМБИНИРОВАННЫЙ ПЕРЕКЛЮЧАТЕЛЬ № 2 В СБОРЕ

    СООТВ
  4. ПРОВЕРЬТЕ РЕЛЕ ПОДОГРЕВАТЕЛЯ РУЛЕВОГО КОЛЕСА

    1. C234546C03

      *1

      Реле STRG HTR

      Извлеките реле STRG HTR из блока реле моторного отсека № 2.

    2. Измерьте сопротивление в соответствии со значениями, приведенными в таблице.

      Номинальное сопротивление

      Подключение диагностического прибора

      Условие

      Заданные условия

      3 - 5

      Напряжение не подается между контактами 1 и 2

      10 кОм или более

      3 - 5

      Напряжение подается между контактами 1 и 2

      Менее 1 Ом

    Результат

    Перейти к

    OK

    НЕ СООТВ.

    НЕ СООТВ.

    ЗАМЕНИТЕ РЕЛЕ ПОДОГРЕВАТЕЛЯ РУЛЕВОГО КОЛЕСА

    СООТВ
  5. ПРОВЕРЬТЕ ЖГУТ ПРОВОДОВ И РАЗЪЕМ (КОМБИНИРОВАННЫЙ ПЕРЕКЛЮЧАТЕЛЬ № 2 В СБОРЕ — ВИТОЙ КАБЕЛЬ С ДАТЧИКОМ В СБОРЕ)

    1. Отсоедините разъем I37 комбинированного переключателя № 2 в сборе.

    2. Отсоедините разъем I157 витого кабеля с датчиком в сборе.

    3. Измерьте сопротивление в соответствии со значениями, приведенными в таблице ниже.

      Номинальное сопротивление

      Подключение диагностического прибора

      Условие

      Заданные условия

      I37-16 (ECU) - I157-3 (ETM)

      Всегда

      Менее 1 Ом

      I37-9 (IND) - I157-1 (BTM)

      Всегда

      Менее 1 Ом

      I37-16 (ECU) или I157-3 (ETM) - масса

      Всегда

      10 кОм или более

      I37-9 (IND) или I157-1 (BTM) - масса

      Всегда

      10 кОм или более

    Результат

    Перейти к

    OK

    НЕ СООТВ.

    НЕ СООТВ.

    ОТРЕМОНТИРУЙТЕ ИЛИ ЗАМЕНИТЕ ЖГУТ ПРОВОДОВ ИЛИ РАЗЪЕМ

    СООТВ
  6. ПРОВЕРЬТЕ ЖГУТ ПРОВОДОВ И РАЗЪЕМ (РЕЛЕ STRG HTR – ВИТОЙ КАБЕЛЬ С ДАТЧИКОМ В СБОРЕ)

    1. Извлеките реле STRG HTR из блока реле моторного отсека № 2.

    2. Отсоедините разъем I157 витого кабеля с датчиком в сборе.

    3. Измерьте сопротивление в соответствии со значениями, приведенными в таблице ниже.

      Номинальное сопротивление

      Подключение диагностического прибора

      Условие

      Заданные условия

      5 - I157-4 (BHT)

      Всегда

      Менее 1 Ом

      5 или I157-4 (BHT) - масса

      Всегда

      10 кОм или более

    Результат

    Перейти к

    OK

    НЕ СООТВ.

    НЕ СООТВ.

    ОТРЕМОНТИРУЙТЕ ИЛИ ЗАМЕНИТЕ ЖГУТ ПРОВОДОВ ИЛИ РАЗЪЕМ

    СООТВ
  7. ПРОВЕРЬТЕ ЖГУТ ПРОВОДОВ И РАЗЪЕМ (ИСТОЧНИК ПИТАНИЯ КОМБИНИРОВАННОГО ПЕРЕКЛЮЧАТЕЛЯ № 2 В СБОРЕ)

    1. C308767C05

      *a

      Вид спереди разъема со стороны жгута проводов:

      (к комбинированному переключателю № 2 в сборе)

      Отсоедините разъем I37 комбинированного переключателя № 2 в сборе.

    2. Измерьте напряжение в соответствии со значениями, приведенными в таблице.

      Номинальное напряжение

      Контакты для подключения диагностического прибора

      Положение переключателя

      Заданные условия

      I37-4 (IG1) - масса

      Зажигание включено (IG)

      11—14 В

    Результат

    Перейти к

    OK

    НЕ СООТВ.

    НЕ СООТВ.

    ОТРЕМОНТИРУЙТЕ ИЛИ ЗАМЕНИТЕ ЖГУТ ПРОВОДОВ ИЛИ РАЗЪЕМ

    СООТВ
  8. ПРОВЕРЬТЕ ЖГУТ ПРОВОДОВ И РАЗЪЕМ (ИСТОЧНИК ПИТАНИЯ РЕЛЕ STRG HTR)

    1. Извлеките реле STRG HTR из блока реле моторного отсека № 2.

    2. Измерьте напряжение в соответствии со значениями, приведенными в таблице.

      Номинальное напряжение

      Подключение диагностического прибора

      Условие

      Заданные условия

      3 - масса

      Всегда

      11-14 В

      1 - масса

      Питание включено (IG)

      11 - 14 В

    3. Измерьте сопротивление в соответствии со значениями, приведенными в таблице ниже.

      Номинальное сопротивление

      Подключение диагностического прибора

      Условие

      Заданные условия

      2 - масса

      Всегда

      Менее 1 Ом

    Результат

    Перейти к

    OK

    НЕ СООТВ.

    НЕ СООТВ.

    ОТРЕМОНТИРУЙТЕ ИЛИ ЗАМЕНИТЕ ЖГУТ ПРОВОДОВ ИЛИ РАЗЪЕМ

    СООТВ
  9. ПРОВЕРЬТЕ ЖГУТ ПРОВОДОВ И РАЗЪЕМ (ВИТОЙ КАБЕЛЬ С ДАТЧИКОМ В СБОРЕ - МАССА)

    1. Отсоедините разъем I157 витого кабеля с датчиком в сборе.

    2. Измерьте сопротивление в соответствии со значениями, приведенными в таблице ниже.

      Номинальное сопротивление

      Подключение диагностического прибора

      Условие

      Заданные условия

      I157-2 (EHT) - масса

      Всегда

      Менее 1 Ом

    Результат

    Перейти к

    OK

    НЕ СООТВ.

    OK

    ЗАМЕНИТЕ КОНТРОЛЛЕР ПОДОГРЕВА РУЛЕВОГО КОЛЕСА В СБОРЕ

    Для моделей без системы вибрации рулевого колеса:

    Нажмите здесьЩелкните по следующей ссылке

    Для моделей с системой вибрации рулевого колеса:

    Нажмите здесьЩелкните по следующей ссылке

    NG

    ОТРЕМОНТИРУЙТЕ ИЛИ ЗАМЕНИТЕ ЖГУТ ПРОВОДОВ ИЛИ РАЗЪЕМ