FRONT DRIVE SHAFT ASSEMBLY(for 1WW) DISASSEMBLY

CAUTION / NOTICE / HINT

Note:
  • When using a vise, place aluminum plates between the part and vise.

  • When using a vise, do not overtighten it.

PROCEDURE

  1. DISCONNECT FRONT NO. 2 AXLE INBOARD JOINT BOOT CLAMP LH

    1. C158042

      Using needle-nose pliers, disconnect the front No. 2 axle inboard joint boot clamp LH as shown in the illustration.

  2. DISCONNECT FRONT NO. 2 AXLE INBOARD JOINT BOOT CLAMP RH

    Tip:

    Use the same procedure described for the LH side.

  3. DISCONNECT FRONT AXLE INBOARD JOINT BOOT CLAMP LH

    1. C201458

      Using pliers, disconnect the front axle inboard joint boot clamp LH as shown in the illustration.

  4. DISCONNECT FRONT AXLE INBOARD JOINT BOOT CLAMP RH

    Tip:

    Use the same procedure described for the LH side.

  5. DISCONNECT FRONT AXLE INBOARD JOINT BOOT

    1. Disconnect the front axle inboard joint boot.

  6. REMOVE FRONT DRIVE INBOARD JOINT LH

    1. Remove any old grease from the front drive inboard joint LH.

    2. C127646E20

      Put matchmarks on the front drive inboard joint LH and front drive outboard joint shaft assembly LH.

      Table 1. Text in Illustration

      *a

      Matchmark

      Note:

      Do not use a punch to make the matchmarks.

    3. Remove the front drive inboard joint LH.

    4. C296441

      Using a snap ring expander, remove the shaft snap ring.

    5. C207933E03

      Put matchmarks on the front drive outboard joint shaft assembly LH and tripod joint.

      Table 2. Text in Illustration

      *a

      Matchmark

      Note:

      Do not use a punch to make the matchmarks.

    6. Using a brass bar and hammer, remove the tripod joint.

      Note:

      Do not tap the rollers.

    7. Remove the front No. 2 axle inboard joint boot clamp LH, front axle inboard joint boot and front axle inboard joint boot clamp LH.

  7. REMOVE FRONT DRIVE INBOARD JOINT RH

    Tip:

    Use the same procedure described for the LH side.

  8. REMOVE FRONT DRIVE SHAFT DAMPER CLAMP LH

    1. C296440

      Using pliers, remove the front drive shaft damper clamp LH as shown in the illustration.

  9. REMOVE FRONT DRIVE SHAFT DAMPER LH

    1. Remove the front drive shaft damper LH.

  10. REMOVE FRONT NO. 2 AXLE OUTBOARD JOINT BOOT CLAMP LH

    1. C160725

      Using pliers, remove the front No. 2 axle outboard joint boot clamp LH as shown in the illustration.

  11. REMOVE FRONT NO. 2 AXLE OUTBOARD JOINT BOOT CLAMP RH

    Tip:

    Use the same procedure described for the LH side.

  12. REMOVE FRONT AXLE OUTBOARD JOINT BOOT CLAMP LH

    1. C201460

      Using pliers, remove the front axle outboard joint boot clamp LH as shown in the illustration.

  13. REMOVE FRONT AXLE OUTBOARD JOINT BOOT CLAMP RH

    Tip:

    Use the same procedure described for the LH side.

  14. REMOVE FRONT AXLE OUTBOARD JOINT BOOT

    1. Remove the front axle outboard joint boot.

    2. Remove any old grease from the front drive outboard joint shaft assembly LH.

  15. REMOVE FRONT DRIVE SHAFT DUST COVER LH

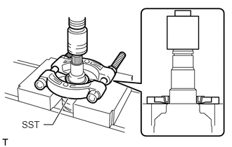
    1. C174967E11

      Using SST and a press, remove the front drive shaft dust cover LH.

      09950-00020

      Note:

      Be careful not to drop the front drive inboard joint LH.

  16. REMOVE FRONT DRIVE SHAFT DUST COVER RH

    Tip:

    Use the same procedure described for the LH side.