AIRBAG SYSTEM, Diagnostic DTC:B1651/33

DTC Code DTC Name
B1651/33 Manual Cut off Switch Trouble

DESCRIPTION

Tip:

"Manual cut off switch" refers to the airbag cut off switch cylinder.

The airbag cut off switch cylinder circuit consists of the center airbag sensor and airbag cut off switch cylinder.

The instrument panel passenger airbag can be optionally deactivated via this circuit by turning the airbag cut off switch cylinder to the "OFF" position.

If the instrument panel passenger airbag is deactivated, the passenger airbag "OFF" indicator comes on to inform the passengers.

DTC B1651/33 is stored when a malfunction is detected in the airbag cut off switch cylinder circuit.

DTC Code

DTC Detection Condition

Trouble Area

B1651/33

One of the following conditions is met:

  • The center airbag sensor receives a line short circuit signal, an open circuit signal, a short circuit to ground signal or a short circuit to B+ signal in the airbag cut off switch cylinder circuit for 2 seconds.

  • An airbag cut off switch cylinder malfunction.

  • A center airbag sensor malfunction.

  • Instrument panel wire

  • Airbag cut off switch cylinder sub-assembly

  • Center airbag sensor assembly

WIRING DIAGRAM

C199310E07

CAUTION / NOTICE / HINT

Note:
  • After turning the ignition switch off, waiting time may be required before disconnecting the cable from the battery terminal. Therefore, make sure to read the disconnecting the cable from the battery terminal notice before proceeding with work (Click here).

  • When disconnecting the cable from the negative (-) battery terminal while performing repairs, some systems need to be initialized after the cable is reconnected (Click here).

Tip:

The 19-14 (MSW+) and 19-15 (MSW-) terminals in this circuit have an activation prevention mechanism. This mechanism can be used to check for an open circuit in the wire harness. In case of other checks (check for short, short to ground or short to B+), it is necessary to release this mechanism.

PROCEDURE

  1. CHECK INSTRUMENT PANEL WIRE (CENTER AIRBAG SENSOR - AIRBAG CUT OFF SWITCH CYLINDER)

    1. U122960E02

      Turn the ignition switch off.

    2. Disconnect the cable from the negative (-) battery terminal, and wait for at least 90 seconds.

    3. Disconnect the connectors from the center airbag sensor and airbag cut off switch cylinder.

    4. Connect the cable to the negative (-) battery terminal, and wait for at least 2 seconds.

    5. Measure the voltage according to the value(s) in the table below.

      Standard Voltage

      Tester Connection

      Switch Condition

      Specified Condition

      H30-2 (PMC+) - Body ground

      Ignition switch ON

      Below 1 V

      H30-1 (PMC-) - Body ground

      Ignition switch ON

      Below 1 V

    6. Turn the ignition switch off.

    7. Disconnect the cable from the negative (-) battery terminal, and wait for at least 90 seconds.

    8. Measure the resistance according to the value(s) in the table below.

      Standard Resistance

      Tester Connection

      Condition

      Specified Condition

      H30-2 (PMC+) - H30-1 (PMC-)

      Always

      Below 1 Ω

    9. Release the activation prevention mechanism built into connector B (Click here).

    10. Measure the resistance according to the value(s) in the table below.

      Standard Resistance

      Tester Connection

      Condition

      Specified Condition

      H30-2 (PMC+) - H30-1 (PMC-)

      Always

      1 MΩ or higher

      H30-2 (PMC+) - Body ground

      Always

      1 MΩ or higher

      H30-1 (PMC-) - Body ground

      Always

      1 MΩ or higher

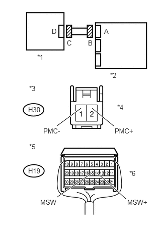
    Table 1. Text in Illustration

    *1

    Airbag Cut Off Switch Cylinder

    *2

    Center Airbag Sensor

    *3

    Front view of wire harness connector

    (to Airbag Cut Off Switch Cylinder)

    *4

    Connector C

    *5

    Rear view of wire harness connector

    (to Center Airbag Sensor)

    *6

    Connector B

    REPLACE INSTRUMENT PANEL WIRE

  2. INSPECT AIRBAG CUT OFF SWITCH CYLINDER

    1. C198536E04

      Remove the airbag cut off switch cylinder (Click here).

    2. Measure the resistance according to the value(s) in the table below.

      Standard Resistance

      Tester Connection

      Switch Condition

      Specified Condition

      2 (PMC+) - 1 (PMC-)

      Cut off switch in "ON" position (Front passenger side airbag active)

      360 to 440 Ω

      2 (PMC+) - 1 (PMC-)

      Cut off switch in "OFF" position (Front passenger side airbag not active)

      90 to 110 Ω

    REPLACE AIRBAG CUT OFF SWITCH CYLINDER SUB-ASSEMBLY

  3. CHECK CENTER AIRBAG SENSOR

    1. C201187E03

      Connect the connectors to the center airbag sensor and airbag cut off switch cylinder.

    2. Connect the cable to the negative (-) battery terminal, and wait for at least 2 seconds.

    3. Turn the ignition switch to ON, and wait for at least 60 seconds.

    4. Clear the DTCs stored in memory (Click here).

    5. Turn the ignition switch off.

    6. Turn the ignition switch to ON, and wait for at least 60 seconds.

    7. Check for DTCs (Click here).

      OK

      DTC B1651 is not output.

      Tip:

      Codes other than DTC B1651 may be output at this time, but they are not related to this check.

      Table 2. Text in Illustration

      *1

      Airbag Cut Off Switch Cylinder

      *2

      Center Airbag Sensor

    USE SIMULATION METHOD TO CHECK

    REPLACE CENTER AIRBAG SENSOR ASSEMBLY