СИСТЕМА SFI, диагностический DTC:P261029

Код DTC Наименование DTC
P261029 Внутренний таймер выключения питания ECM/PCM - неверный сигнал

ОПИСАНИЕ

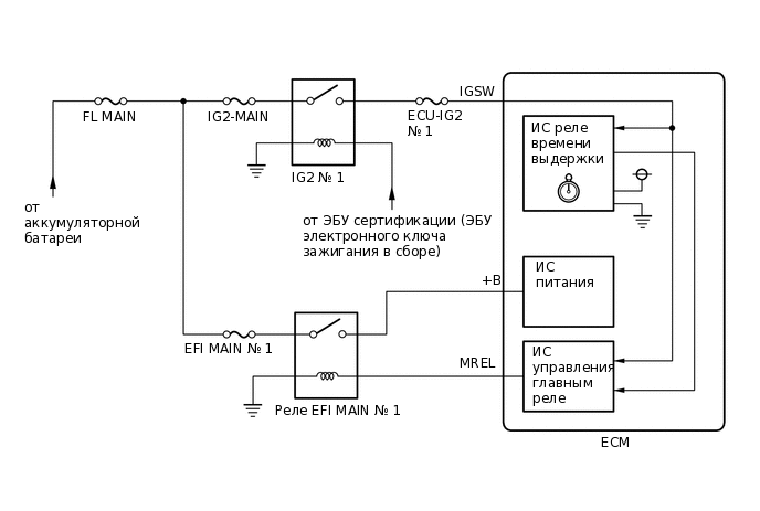
Реле выдержки времени срабатывает после выключения зажигания. По истечении определенного времени после выключения зажигания реле выдержки времени включает ECM для выполнения тех операций диагностики, которые могут быть выполнены только при остановленном двигателе. Реле выдержки времени встроено в ECM.

A414860E04

№ DTC

Неисправность

Условие обнаружения DTC

Неисправный участок

MIL

Память

Примечание

P261029

Внутренний таймер выключения питания ECM/PCM - неверный сигнал

Внутренняя неисправность ЕСМ (логика диагностирования за 2 поездки)

ECM

Загорается

Код DTC сохраняется

Код SAE: P2610

ОПИСАНИЕ РАБОТЫ СИСТЕМЫ КОНТРОЛЯ

Если реле выдержки времени включает ECM, несмотря на то, что после выключения зажигания прошло небольшое время, или если реле выдержки времени не включает ECM, несмотря на то, что после выключения зажигания прошло значительное время, ECM регистрирует неисправность реле выдержки времени, включает MIL и сохраняет DTC при следующем включении зажигания (IG).

ПРИНЦИП РАБОТЫ СИСТЕМЫ КОНТРОЛЯ

Требуемые датчики/устройства

ECM

Продолжительность работы

Один раз в течение одной поездки

ПРОВЕРОЧНАЯ ПОЕЗДКА

  1. Подключите GTS к DLC3.

  2. Включите зажигание (IG).

  3. Включите GTS.

  4. Удалите коды DTC (даже если нет сохраненных DTC, выполните процедуру удаления DTC).

  5. Выключите зажигание и подождите не менее 30 с.

  6. Запустите и прогрейте двигатель.

  7. Выключите зажигание и подождите не менее 15 с.

  8. Включите зажигание (IG).

  9. Включите GTS.

  10. Войдите в следующие меню: Powertrain / Engine / Trouble Codes.

  11. Считайте ожидающие обработки коды DTC.

    Tip:
    • Если выводятся ожидающие обработки DTC, система неисправна.

    • Если ожидающие обработки DTC не выводятся, выполните следующую процедуру.

  12. Войдите в следующие меню: Powertrain / Engine / Utility / All Readiness.

  13. Введите DTC: P261029.

  14. Проверьте результат проверки DTC.

    Дисплей GTS

    Описание

    NORMAL

    • Проверка DTC завершена

    • Cистема работает нормально

    ABNORMAL

    • Проверка DTC завершена

    • Нарушения в работе системы

    INCOMPLETE

    • Проверка DTC не завершена

    • Выполните поездку в проверочном режиме после создания условий регистрации DTC

    Tip:
    • Если результат проверки показывает NORMAL, система исправна.

    • Если результат проверки показывает ABNORMAL, система неисправна.

ПРЕДОСТЕРЕЖЕНИЕ / ПРИМЕЧАНИЕ / УКАЗАНИЕ

Tip:
  • DTC P261029 регистрируется в случае обнаружения внутренней неисправности ECM. Процедуры диагностики не требуются. Необходима замена ECM.

  • С помощью GTS считайте данные фиксированного набора параметров. Одновременно с записью в память кода DTC ECM сохраняет параметры состояния автомобиля и условий движения как данные фиксированного набора параметров. При поиске неисправностей фиксированные параметры позволяют определить, двигался ли автомобиль в момент возникновения неисправности или нет, был ли прогрет двигатель, каким было соотношение воздух-топливо (обедненным или обогащенным) и пр.

ПОРЯДОК ВЫПОЛНЕНИЯ

  1. ЗАМЕНИТЕ ECM

    1. Замените ECM.

      Нажмите здесьЩелкните по следующей ссылкеЩелкните по следующей ссылке

    Результат

    Перейти к

    СЛЕДУЮЩЕЕ -

    СЛЕДУЮЩЕЕ -
  2. ПРОВЕРЬТЕ, ВОЗОБНОВЛЯЕТСЯ ЛИ ВЫВОД DTC (DTC P261029 ИЛИ P261093)

    1. Подключите GTS к DLC3.

    2. Установите замок зажигания в положение ON (ВКЛ).

    3. Включите GTS.

    4. Удалите коды DTC.

      Powertrain > Engine > Clear DTCs

    5. Выключите зажигание и подождите не менее 30 с.

    6. Включите зажигание.

    7. Включите GTS.

    8. Совершите проверочную поездку в порядке, рассмотренном в разделе "Режим проверочной поездки".

    9. Войдите в следующие меню: Powertrain / Engine / Trouble Codes / Pending.

      Powertrain > Engine > Trouble Codes

    10. Если ожидающие обработки DTC не выводятся, ремонт выполнен успешно.

    Result

    Перейти к

    СЛЕДУЮЩЕЕ -

    СЛЕДУЮЩЕЕ -

    КОНЕЦ