REAR WHEEL ALIGNMENT ADJUSTMENT

CAUTION / NOTICE / HINT

Note

If a wheel alignment has been performed, or if suspension or underbody components have been removed/installed or replaced, be sure to perform the following initialization procedure in order for the system to function normally:


  • Perform zero point calibration of the yaw rate and acceleration sensor.

PROCEDURE


  1. INSPECT TIRES

    Click here

  2. MEASURE VEHICLE HEIGHT

    Click here

  3. INSPECT CAMBER

    Note

    Inspect while the vehicle is unloaded.


    1. B004FY7C10
      *a Camber-caster-kingpin Gauge

      Install a camber-caster-kingpin gauge.

    2. Inspect the camber.

      Camber (Unloaded Vehicle)
      Camber Inclination Right-left Difference
      -1°55' +/- 0°45' (-1.92° +/- 0.75°) 0°45' (0.75°) or less

      Tech Tips

      Camber is not adjustable. If the measurement is not within the specified range, inspect the suspension parts for damage and/or wear, and replace them if necessary.

  4. INSPECT TOE-IN

    Note

    Inspect while the vehicle is unloaded.


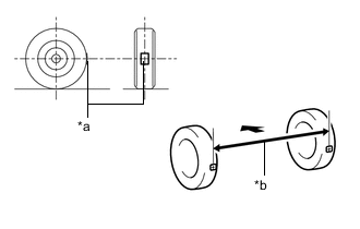
    1. Bounce the vehicle up and down at the corners to stabilize the suspension.

    2. Release the parking brake and move the shift lever to N.

    3. Push the vehicle straight ahead approximately 5 m (16.4 ft.). (Step A)

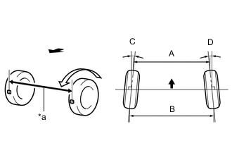
    4. B004G48C02
      *a Tread Center Mark
      *b Dimension B
      B008GAS Front of the Vehicle

      Put tread center marks on the rearmost points of the rear wheels and measure the distance between the marks (dimension B).

    5. Slowly push the vehicle straight ahead to cause the rear wheels to rotate 180°. Use the rear tire valve as a reference point.

      Tech Tips

      Do not allow the wheels to rotate more than 180°. If the wheels rotate more than 180°, perform the procedure from step A again.

    6. B004EY7C02
      *a Dimension A
      B008GAS Front of the Vehicle

      Measure the distance between the tread center marks on the front of the rear wheels (dimension A).

      Toe-in (Unloaded Vehicle)
      Specified Condition
      C + D: 0°11' +/- 0°11' (0.18° +/- 0.18°)
      B - A: 2.0 +/- 2.0 mm (0.0787 +/- 0.0787 in.)

      Tech Tips

      Measure "B - A" only when "C + D" cannot be measured.

      If the toe-in is not within the specified range, adjust it at the toe control link sub-assembly or steering rack ends.

  5. ADJUST TOE-IN


    1. B004EUC

      Loosen the nut of the toe control link sub-assembly (on the rear suspension member sub-assembly side).

      Note

      Hold the rear suspension toe adjust cam sub-assembly while rotating the nut.

    2. B004FKK

      Rotate the rear suspension toe adjust cam sub-assembly to adjust the toe-in.

      Toe-in (Unloaded Vehicle)
      Specified Condition
      C + D: 0°11' +/- 0°11' (0.18° +/- 0.18°)
      B - A: 2.0 +/- 2.0 mm (0.0787 +/- 0.0787 in.)

      Tech Tips


      • Rotating the rear suspension toe adjust cam sub-assembly by one notch changes the toe by approximately 4.7 mm (0.185 in.).

      • Perform adjustments so that the value is as close as possible to the median of the specified range.

    3. Tighten the nut of the toe control link sub-assembly (on the rear suspension member sub-assembly side).

      Torque:
      117 N*m  { 1193 kgf*cm, 86 ft.*lbf }

      Note

      Hold the rear suspension toe adjust cam sub-assembly while rotating the nut.

  6. INSPECT REAR SUSPENSION


    1. Inspect the rear suspension member sub-assembly.


      1. B004G3S

        Measure the distance between the centers of the 2 installation bolts of the rear No. 2 suspension arm assembly LH and RH.

        Standard
        496.5 to 503.5 mm (1.63 to 1.65 ft.)

        If the distance is not within the specified range, replace the rear suspension member sub-assembly.

        Tech Tips

        Refer to the instructions for Removal and Installation of the rear suspension member sub-assembly.

        Click here

    2. Inspect the rear No. 2 suspension arm assembly.


      1. B004GGF

        Measure the distance between the centers of the 2 installation bolts of the rear No. 2 suspension arm assembly.

        Standard
        433.2 to 435.0 mm (1.421 to 1.426 ft.)

        If the distance is not within the specified range, replace the rear No. 2 suspension arm assembly.

        Tech Tips

        Refer to the instructions for Removal and Installation of the rear No. 2 suspension arm assembly.

        Click here

    3. Inspect the rear upper control arm assembly.


      1. B004FY1

        Measure the distance between the centers of the 2 installation bolts of the rear upper control arm assembly.

        Standard
        298.5 to 299.5 mm (11.76 to 11.79 in.)

        If the distance is not within the specified range, replace the rear upper control arm assembly.

        Tech Tips

        Refer to the instructions for Removal and Installation of the rear upper control arm assembly.

        Click here

  7. ALIGN FRONT WHEELS FACING STRAIGHT AHEAD

  8. PERFORM YAW RATE AND ACCELERATION SENSOR CALIBRATION

    Click here

  9. ADJUST LANE DEPARTURE WARNING CAMERA (w/ Lane Departure Alert System)

    Click here