RAIN SENSOR REMOVAL

PROCEDURE

  1. REMOVE RAIN SENSOR COVER

    1. B427888

      Slide the cover as shown in the illustration.

    2. B427889

      Detach the 2 claws and remove the rain sensor cover.

  2. REMOVE RAIN SENSOR

    1. B427890

      Disconnect the connector.

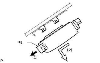
    2. E179753C01

      *1

      Stopper

      Release the stopper by pulling it down.

    3. Remove the rain sensor as shown in the illustration.

  3. CLEAN WINDSHIELD GLASS

    Note:
    • The rain sensor tape can be reused; however, replace it with a new piece of tape if it is dirty or damaged.

    • Check that the rain sensor tape does not remain on the windshield glass. If it does, remove it before installing the rain sensor.